AV131部品表(1).pdf - 第164页
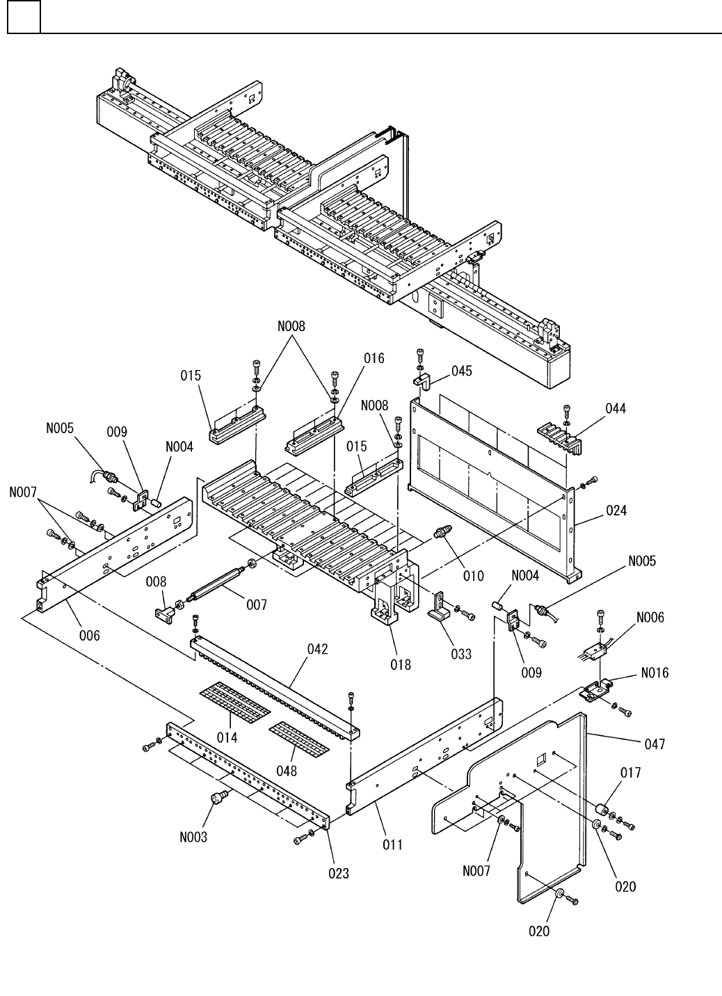
部品供給部( 120連4) FEEDER CARR IAGE SECT. (12 0 FEEDERS-4) 18 FN610064467AA _01-4 M145

PART NAME
REMARKS
Q'TY
18
部品供給部(120連3)
FEEDER CARRIAGE SECT. (120 FEEDERS-3)
イラスト
No.
REF
No.
PART No.
部 品 品 番 個数 備 考
R
1
R
2
1006 N210081320AA
BRACKET フ
゙ラケット
3
007 102070708701
ROD ロッド
3
008 104690701001
BRACKET ブラケット
2009 1046907012
PLATE プレート
15010 1083807012
PIN ヒ
゚ン
1
011 N210081321AA
BRACKET ブラケット
1
012 1020707082
LABEL ラベル
1013 102070708301
LABEL ラヘ
゙ル
2015 102070710101
RAIL(GUIDE) レール
(ガイド)
14
016 102070710001
RAIL(GUIDE) レール(ガイド)
1019 N610065486AC
RIGHT FRAME フレーム(RIGHT)
5020 1023871963
COLLAR カラー
1
023 104690703201
PLATE プレート
1
024 104690703405
BRACKET ブラケット
1034 N210081319AA
BRACKET(SENSOR) ブラケット(センサ)
1042 1046907055
BLOCK フ
゙ロック
5
044 1046907060
GUIDE ガイド
1
045 1046907061
BRACKET ブラケット
1046 108710705201
PLATE(L) プレート(L)
CF4-A
6
N003
N531CF4A
CAM FOLLOWER カムフォロア
E39-F1
1
N004
N310E39F1
LENS UNIT レンズユニット
E32-TC200
1
N005
N310E32TC200
SENSOR センサ
E3X-NA11
1
N006
N310E3XNA11
AMPLIFIER アンフ
゚
8 10H A2J (Trivalent)
8
N007
N510018482AA
ROUND PLAIN WASHER コガタマルヒラサ
゙ガネ
5,STEEL,Z.C.T
48
N008
N510018480AA
ROUND PLAIN WASHER コガタマルヒラザガネ
LS-11S/RL S
1
N011
N510030839AA
SWITCH スイッチ
V-M20
1
N012
KXF0DG3AA00
CABLE ケーフ
゙ル
E39-L143
1
N016
KXF0E0BBA00
BRACKET トリツケカナグ
M144
FN610064467AA_01-3

部品供給部(120連4)
FEEDER CARRIAGE SECT. (120 FEEDERS-4)
18
FN610064467AA_01-4
M145

PART NAME
REMARKS
Q'TY
18
部品供給部(120連4)
FEEDER CARRIAGE SECT. (120 FEEDERS-4)
イラスト
No.
REF
No.
PART No.
部 品 品 番 個数 備 考
R
1
R
2
1006 N210081320AA
BRACKET フ
゙ラケット
3
007 102070708701
ROD ロッド
3
008 104690701001
BRACKET ブラケット
2009 1046907012
PLATE プレート
15010 1083807012
PIN ヒ
゚ン
1
011 N210081321AA
BRACKET ブラケット
1
014 1020707084
LABEL ラベル
2015 102070710101
RAIL(GUIDE) レール
(ガイド)
14016 102070710001
RAIL(GUIDE) レール
(ガイド)
1
017 1046907022
STOPPER ストッパー
1018 N610065485AC
LEFT FRAME フレーム(LEFT)
5020 1023871963
COLLAR カラー
1
023 104690703201
PLATE プレート
1
024 104690703405
BRACKET ブラケット
1033 1087107037
DOG FOR SENSOR センサドグ
1042 1046907055
BLOCK フ
゙ロック
5
044 1046907060
GUIDE ガイド
1
045 1046907061
BRACKET ブラケット
1047 108710705302
PLATE(R) プレート(R)
1048 1046907064
LABEL ラヘ
゙ル
CF4-A
6
N003
N531CF4A
CAM FOLLOWER カムフォロア
E39-F1
1
N004
N310E39F1
LENS UNIT レンズユニット
E32-TC200
1
N005
N310E32TC200
SENSOR センサ
E3X-NA11
1
N006
N310E3XNA11
AMPLIFIER アンフ
゚
8 10H A2J (Trivalent)
8
N007
N510018482AA
ROUND PLAIN WASHER コガタマルヒラザガネ
5,STEEL,Z.C.T
48
N008
N510018480AA
ROUND PLAIN WASHER コガタマルヒラザガネ
E39-L143
1
N016
KXF0E0BBA00
BRACKET トリツケカナク
゙
M146
FN610064467AA_01-4