AV131部品表(1).pdf - 第260页
J.W.ヘッド部 (4) J.W.HEAD SE CT.(4) 26 FN610052080AA _00-4 M241

PART NAME
REMARKS
Q'TY
26
J.W.ヘッド部(3)
J.W.HEAD SECT.(3)
イラスト
No.
REF
No.
PART No.
部 品 品 番 個数 備 考
R
1
R
2
1114 104132011601
BRACKET フ
゙ラケット
3
115 1020310301
PIN ピン
1
116 104132012101
BRACKET ブラケット
1122 1083520026
WHEEL ホイール
1128 102031007902
COLLAR カラー
1
129 108352000901
ROLLER ローラ
7
139 1041420054
PIN ピン
2140 1041420055
OFFSET PIN オフセットヒ
゚ン
9141 1041420056
ROLLER ローラ
F699ZZ
1
N006
KXF08ZCAA00
BALL BEARING ボールベアリング
MR63ZZ
21
N007
KXF05XYAA00
BALL BEARING ボールベアリング
2,STEEL,P.C
12
N008
XUC2FP
RETAINING RING E-TYPE E
ガタトメワ
M4-6H-4T A2J (Trivalen
3
N009
N510017859AA
HEXAGON NUT ロッカクナット
M3-6H-4T A2J (Trivalen
12
N010
N510017849AA
HEXAGON NUT ロッカクナット
M5-6H-4T A2J (Trivalen
1
N011
N510017862AA
NUT ナット
6901ZZ
1
N020
XLC6901ZZ
BALL BEARING ボールヘ
゙アリング
M4X14-45H A2J (Trivale
3
N022
N510018429AA
HEX. SOCKET SET SCREW ロッカクアナツキトメネジ
M3X4-45H A2J (Trivalen
3
N024
N510018392AA
HEX. SOCKET SET SCREW ロッカクアナツキトメネジ
M240
FN610052080AA_00-3

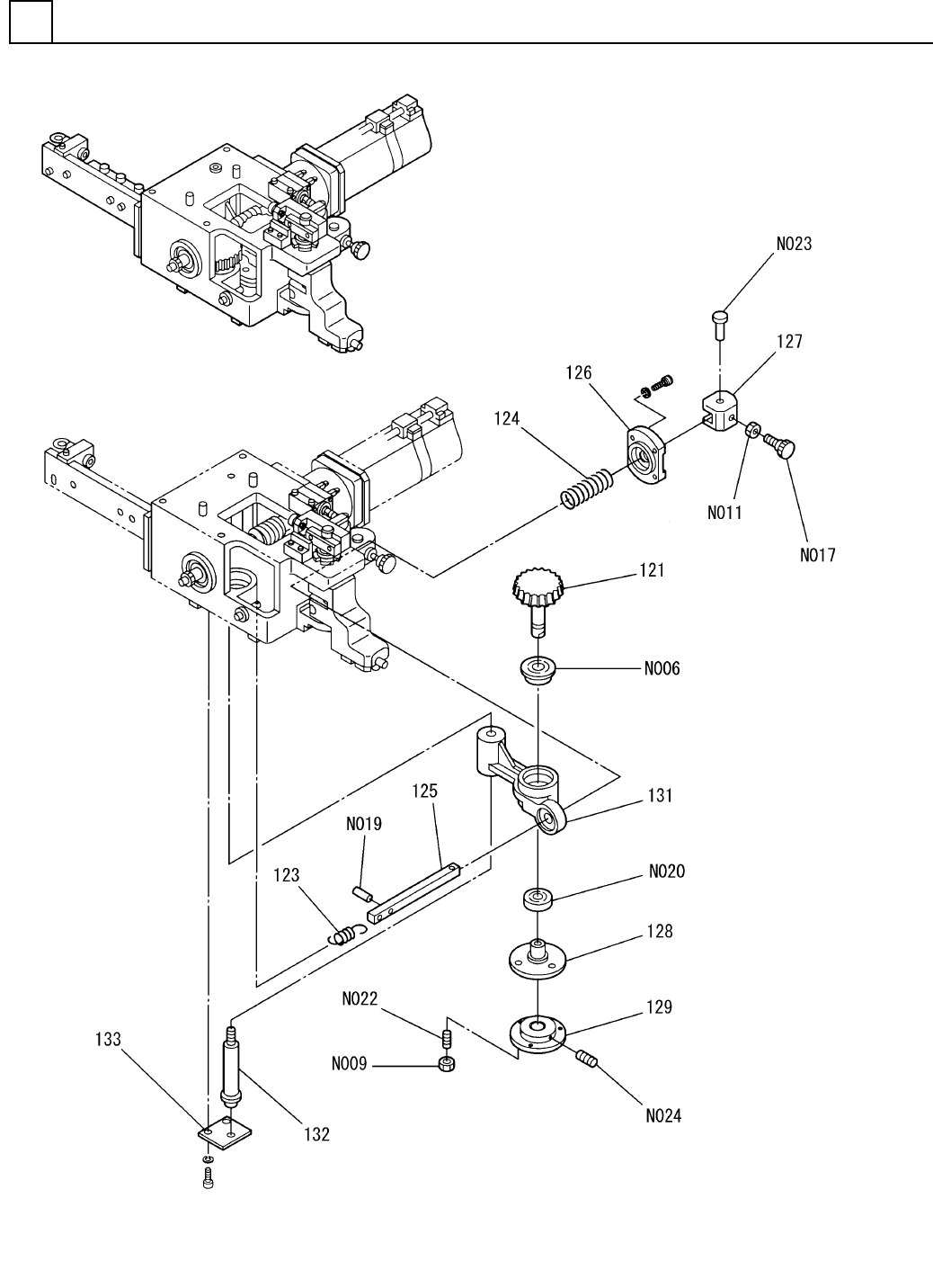
J.W.ヘッド部(4)
J.W.HEAD SECT.(4)
26
FN610052080AA_00-4
M241

PART NAME
REMARKS
Q'TY
26
J.W.ヘッド部(4)
J.W.HEAD SECT.(4)
イラスト
No.
REF
No.
PART No.
部 品 品 番 個数 備 考
R
1
R
2
1121 1083520027
WHEEL ホイール
1
123 1041420045
SPRING バネ
1
124 1020310058
SPRING バネ
1125 1046920128
SHAFT シャフト
1126 104142000205
FLANGE フランシ
゙
1
127 104142001803
BLOCK ブロック
1
128 102031007902
COLLAR カラー
1129 108352000901
ROLLER ローラ
1131 1046920134
BRACKET フ
゙ラケット
1
132 1046920135
SHAFT シャフト
1133 1041420016
PLATE プレート
F699ZZ
1
N006
KXF08ZCAA00
BALL BEARING ボールヘ
゙アリング
M4-6H-4T A2J (Trivalen
3
N009
N510017859AA
HEXAGON NUT ロッカクナット
M5-6H-4T A2J (Trivalen
1
N011
N510017862AA
NUT ナット
A-1176-18
1
N017
N980A117618
KNOB ツマミ
3X16,m6A,STEEL
1
N019
XPJ3A16FW
PARALLEL PIN ヘイコウヒ
゚ン
6901ZZ
1
N020
XLC6901ZZ
BALL BEARING ボールベアリング
M4X14-45H A2J (Trivale
3
N022
N510018429AA
HEX. SOCKET SET SCREW ロッカクアナツキトメネジ
87CCG4-16.0
1
N023
N510035950AA
PIN ピン
M3X4-45H A2J (Trivalen
3
N024
N510018392AA
HEX. SOCKET SET SCREW ロッカクアナツキトメネシ
゙
M242
FN610052080AA_00-4