AV131部品表(1).pdf - 第200页
リアコンソールパネル 取付部(60) REAR CONSOL E PANEL ATTACH MENT SECT.(60) 20 FN610081355AA _00 M181

PART NAME
REMARKS
Q'TY
20
リアコンソールパネル取付部(120)
REAR CONSOLE PANEL ATTACHMENT SECT.(120)
イラスト
No.
REF
No.
PART No.
部 品 品 番 個数 備 考
R
1
R
2
1 N610060942AA
PANEL ATTACHMENT UNIT パネルトリツケユニット
1
001 N210071662AD
PLATE プレート
1
002 N210071706AA
BRACKET ブラケット
1003 N210078245AA
COVER カバー
1004 N210078292AA
BRACKET フ
゙ラケット
1
005 N210079545AA
PLATE プレート
M4X8-10.9 A2J (Trivale
10
N001
N510017381AA
HEX. SOCKET HEAD CAP BOLT ロッカクアナツキボルト
M5X10-10.9 A2J (Trival
4
N002
N510017386AA
HEX. SOCKET HEAD CAP BOLT ロッカクアナツキホ
゙ルト
M6X15,STEEL,Z.C.T
10
N003
N510017432AA
HEX. SOCKET HEAD CAP BOLT ロッカクアナツキホ
゙ルト
4 10H A2J (Trivalent)
6
N004
N510018497AA
ROUND PLAIN WASHER ミガキマルヒラザガネ
6 10H A2J (Trivalent)
6
N005
N510018501AA
ROUND PLAIN WASHER ミガキマルヒラザガネ
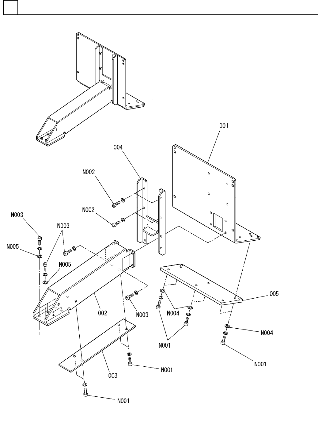
M180
FN610060942AA_01

リアコンソールパネル取付部(60)
REAR CONSOLE PANEL ATTACHMENT SECT.(60)
20
FN610081355AA_00
M181

PART NAME
REMARKS
Q'TY
20
リアコンソールパネル取付部(60)
REAR CONSOLE PANEL ATTACHMENT SECT.(60)
イラスト
No.
REF
No.
PART No.
部 品 品 番 個数 備 考
R
1
R
2
1 N610081355AA
PANEL ATTACHMENT UNIT パネルトリツケユニット
1
001 N210099909AA
PLATE プレート
1
002 N210071706AA
BRACKET ブラケット
1003 N210078245AA
COVER カバー
1004 N210078292AA
BRACKET フ
゙ラケット
1
005 N210079545AA
PLATE プレート
M4X8-10.9 A2J (Trivale
10
N001
N510017381AA
HEX. SOCKET HEAD CAP BOLT ロッカクアナツキボルト
M5X10-10.9 A2J (Trival
4
N002
N510017386AA
HEX. SOCKET HEAD CAP BOLT ロッカクアナツキホ
゙ルト
M6X15,STEEL,Z.C.T
10
N003
N510017432AA
HEX. SOCKET HEAD CAP BOLT ロッカクアナツキホ
゙ルト
4 10H A2J (Trivalent)
6
N004
N510018497AA
ROUND PLAIN WASHER ミガキマルヒラザガネ
6 10H A2J (Trivalent)
6
N005
N510018501AA
ROUND PLAIN WASHER ミガキマルヒラザガネ
M182
FN610081355AA_00