AV131部品表(1).pdf - 第131页
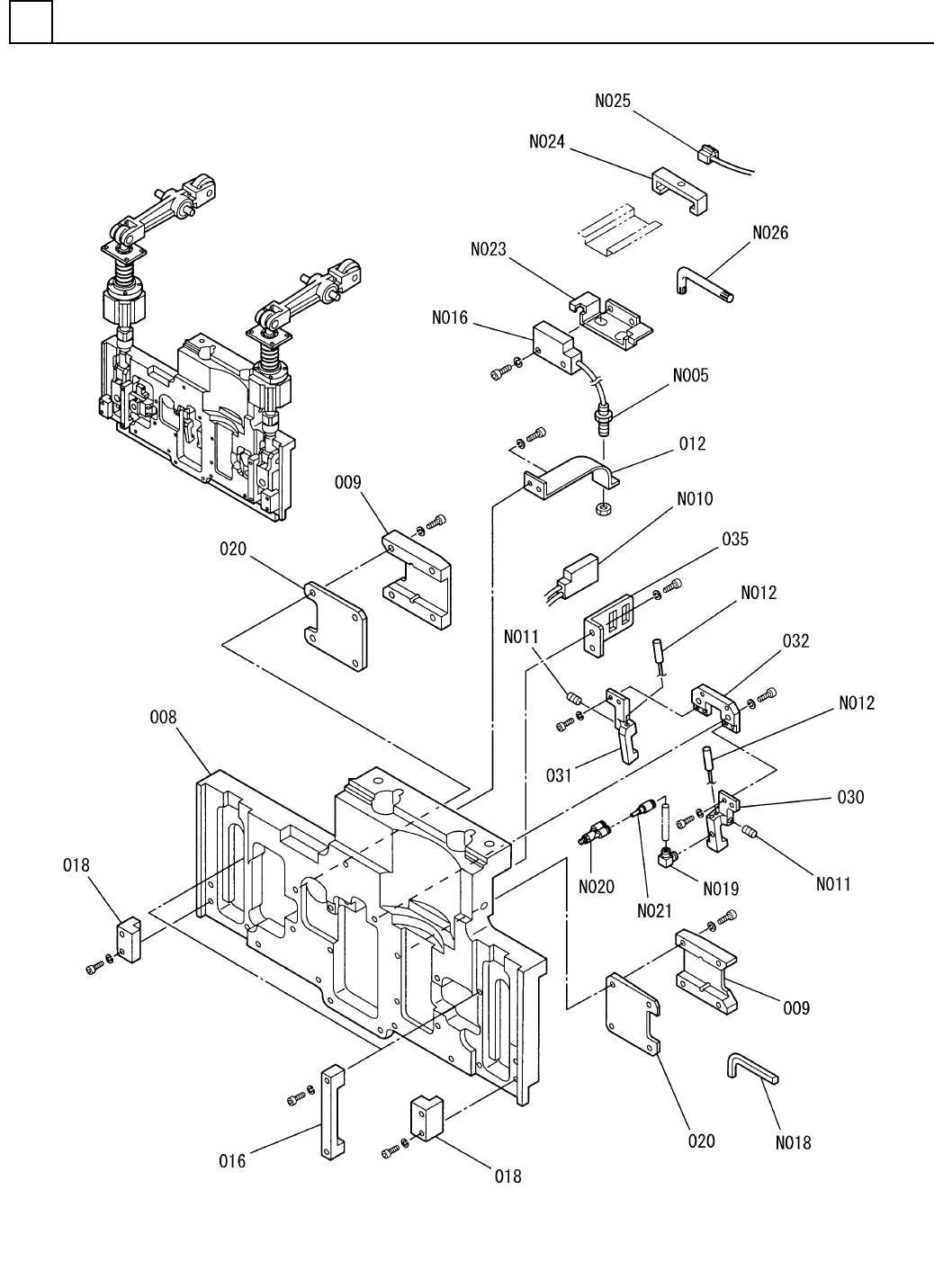
PART NA ME REM ARKS Q'TY 11 テープカッタ部( 1) TAPE CUTTER SECT.(1) イラスト No. REF No. PART No. 部 品 品 番 個数 備 考 R 1 R 2 1 N610052014AA TAPE CUTTER UNIT テーフ ゚カッタユニット 1 008 N210084543AA BRACKET ブラケット 2 009 108711800903 GUIDE …

テープカッタ部(1)
TAPE CUTTER SECT.(1)
11
FN610052014AA_00-1
M111

PART NAME
REMARKS
Q'TY
11
テープカッタ部(1)
TAPE CUTTER SECT.(1)
イラスト
No.
REF
No.
PART No.
部 品 品 番 個数 備 考
R
1
R
2
1 N610052014AA
TAPE CUTTER UNIT テーフ
゚カッタユニット
1
008 N210084543AA
BRACKET ブラケット
2
009 108711800903
GUIDE (L) ガイド(L)
1012 1087118012
BRACKET ブラケット
2016 108711801602
BLOCK フ
゙ロック
2
018 108711801802
BLOCK ブロック
2
020 104131803102
PLATE プレート
1030 108711803005
BRACKET フ
゙ラケット
1031 108711803104
BRACKET フ
゙ラケット
1
032 108711803203
PLATE プレート
1035 1087118035
BRACKET ブラケット
E32-DC200E
1
N005
N310E32D-076
OPTICAL FIBER CABLE UNIT ファイハ
゙ーユニット
FX-301
1
N010
N510007456AA
AMPLIFIER アンプ
M2X4-45H A2J (Trivalen
2
N011
N510018411AA
HEX. SOCKET SET SCREW ロッカクアナツキトメネジ
FT-SFM2SV2
1
N012
N310FTSF-054
OPTICAL FIBER CABLE UNIT ファイバユニット
E3X-NA11
1
N016
N310E3XNA11
AMPLIFIER アンフ
゚
211C-0.89
1
N018
N972211C0.89
WRENCH レンチ
M-3ALU-4
1
N019
KXF02SSAA00
FITTING ツギテ
KQ2U06-00
1
N020
KXF0A3FAA00
FITTING ツギテ
KQ2R04-06
1
N021
KXF09ZVAA00
FITTING ツキ
゙テ
E39-L143
1
N023
KXF0E0BBA00
BRACKET トリツケカナグ
MS-DIN-2
1
N024
N510007457AA
BRACKET ブラケット
CN-73-C1
1
N025
N510015722AA
CABLE ケーフ
゙ル
BN14056X10
1
N026
N972BN14-024
WRENCH レンチ
M112
FN610052014AA_00-1

テープカッタ部(2)
TAPE CUTTER SECT.(2)
11
FN610052014AA_00-2
M113