AV131部品表(1).pdf - 第233页
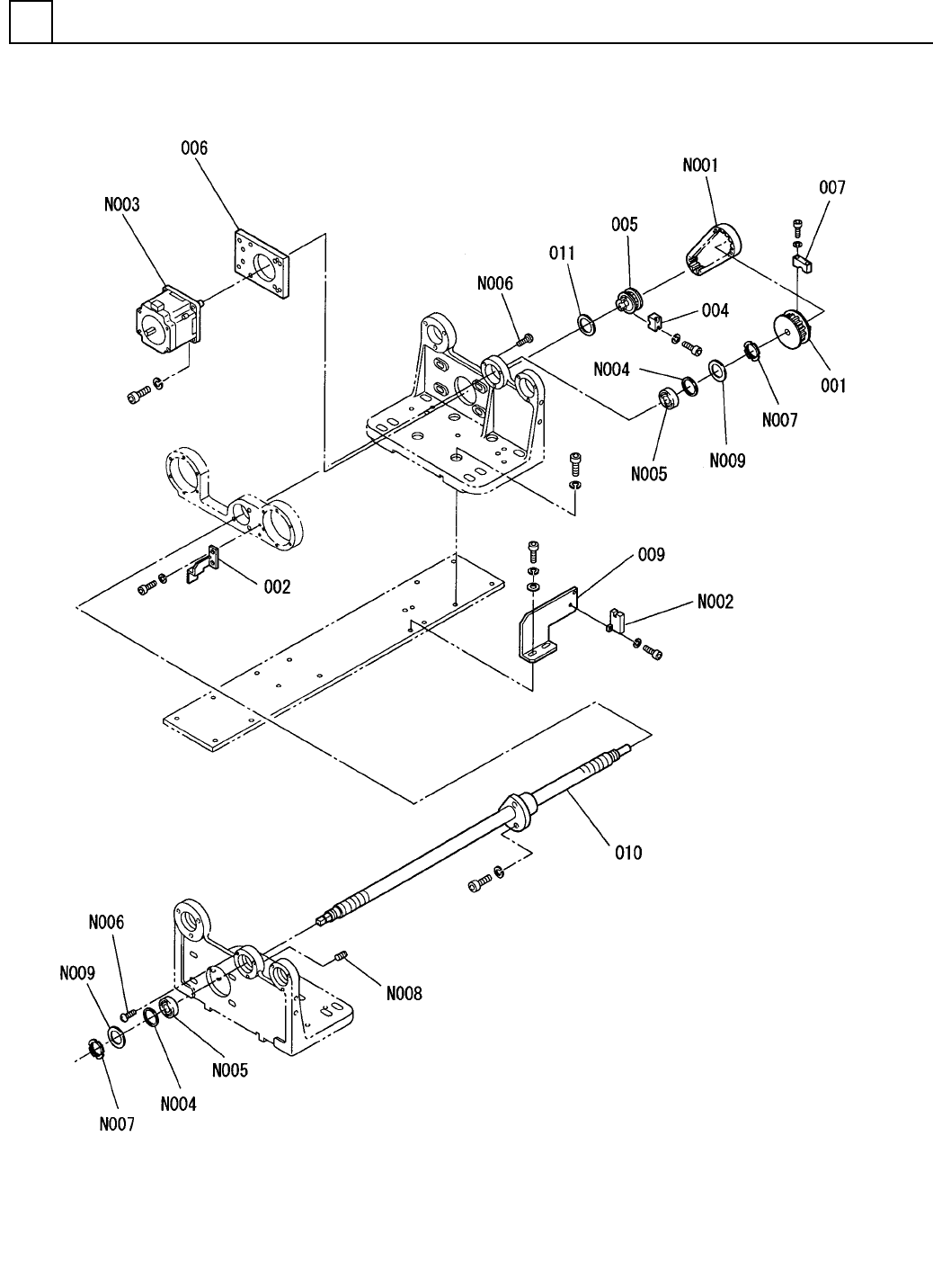
PART NA ME REM ARKS Q'TY 23 ローダ・アンローダ 部(自動幅寄せ 部1) LOADER & UN LOADER SECT.(A UTO WIDTH CONT ROL SECT.-1) イラスト No. REF No. PART No. 部 品 品 番 個数 備 考 R 1 R 2 1 N610055731AA LOADER & UNL OADER UNIT ロータ ゙アンローダユ…

ローダ・アンローダ部(自動幅寄せ部1)
LOADER & UNLOADER SECT.(AUTO WIDTH CONTROL SECT.-1)
23
FN610055731AA_00-1
M213

PART NAME
REMARKS
Q'TY
23
ローダ・アンローダ部(自動幅寄せ部1)
LOADER & UNLOADER SECT.(AUTO WIDTH CONTROL SECT.-1)
イラスト
No.
REF
No.
PART No.
部 品 品 番 個数 備 考
R
1
R
2
1 N610055731AA
LOADER & UNLOADER UNIT ロータ
゙アンローダユニット
1
001 N210078205AA
PULLEY プーリー
1
002 N210083152AA
DOG FOR SENSOR (R) ドグ(R)
1004 N210070021AA
BLOCK ブロック
1005 N210070022AB
PULLEY フ
゚ーリー
1
006 N210070025AA
PLATE プレート
1
007 N210075906AA
BRACKET ブラケット
1009 N210079975AA
BRACKET フ
゙ラケット
1010 N210070783AA
SCREW ネシ
゙
1
011 109970514001
COLLAR カラー
T5-10-50
1
N001
N641T51050
BELT(TIMING) ベルト(タイミング)
P914S1
1
N002
N310P914S1
SENSOR センサ
103H7832-0312(DDA) S
1
N003
KXF0DZDRA00
MOTOR モータ
SCSS1618ZD
2
N004
N510034925AA
COLLAR カラ-
6001ZZ
2
N005
XLC6001ZZ
BALL BEARING ボールベアリング
M4X8-4.8 A2J (Trivalen
6
N006
N510018282AA
TRUSS HEAD SCREW トラスコネシ
゙
FU01SS
2
N007
KXF0233AA00
LOCK-NUT ロックナット
M4X6-45H A2J (Trivalen
3
N008
N510018438AA
HEX. SOCKET SET SCREW ロッカクアナツキトメネジ
SCSS1618ZD
2
N009
N510034925AA
COLLAR カラ-
M214
FN610055731AA_00-1

ローダ・アンローダ部(自動幅寄せ部2)
LOADER & UNLOADER SECT.(AUTO WIDTH CONTROL SECT.-2)
23
FN610055731AA_00-2
M215