KE-2050-KE-2060 使用说明书.pdf - 第347页
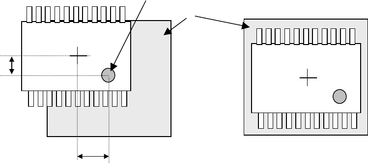
第1部 基本篇 第4章 生产程序制作 8) 识别中心偏移值(仅 KE-2060 可输入) 图像定心是通过将吸取中心位置(通常是元件中心位置)移动到VCS的中心位置来进行。 但象MC M(Multi Chip Modul e)之类的元件,因不能吸取元件中心,如果超出VCS视角范围时,将不能 进行图像定心。此时,可通过输入如下图的偏移值(a、b),使识别得以正常进行。 吸取中心位置=VCS 中心位置 b ⇒ VCS(的视角) (俯视图) a…

第1部 基本篇 第4章 生产程序制作
7) MTC/MTS/DTS
●MTC速度: 可指定滑梭的动作速度。如果使速度变慢,则向主体的元件供给会变得稳定,但
生产速度会变慢。
●吸取: 可指定MTC吸取侧垫片的种类(大、小)。
●滑梭: 可指定MTC滑梭侧垫片的种类(大、小、机械)。
※ 当为BGA等球形元件时,由于不能在ΜTC滑梭的垫片上吸取(使用真空),因此,使用机
械吸取(夹住元件外形)。
※ 在“附加信息”标签的“元件废弃”中设置了“返回托盘”时,不能选择“机械”项。
◆ MTC垫片的初始值
画面标记 默认值
吸取 ·元件尺寸的纵横方向的短边
不足 16mm 时 :小
超过 16mm 时 :大
滑梭 ·元件种类为 BGA 时 :机械
·元件种类为 BGA 以外时,元件尺寸的纵横方向的短边
不足 16mm 时 :小
超过 16mm 时 :大
●MTS速度: 可指定MTS托盘的拉出速度。
●DTS速度: 可指定DTS托盘的拉出速度。
4-64

第1部 基本篇 第4章 生产程序制作
8) 识别中心偏移值(仅 KE-2060 可输入)
图像定心是通过将吸取中心位置(通常是元件中心位置)移动到VCS的中心位置来进行。但象MC
M(Multi Chip Module)之类的元件,因不能吸取元件中心,如果超出VCS视角范围时,将不能
进行图像定心。此时,可通过输入如下图的偏移值(a、b),使识别得以正常进行。
吸取中心位置=VCS 中心位置
b
⇒
VCS(的视角)
(俯视图)
a
4-65

第1部 基本篇 第4章 生产程序制作
4-3-5-2-6 检测
对“芯片站立”、“共面检测”、“SOT方向检查”、“数值检查”、“判断异元件”进行设
置。
“共面检测”(仅限于KE-2060)和“数值检查”、“SOT方向检查”为可选项。
图 4-3-5-2-9 元件数据(检测)
1) 芯片站立
指定是否对芯片站立进行检查。通常3216以下的芯片元件必须执行。由于检查是在移动中进
行,所以几乎所有情况下都不需要间歇时间。
※判定值: 自动输入根据已输入的元件高度尺寸计算出的值。激光定心时,当测定值超过此
处的设置高度时,判定为芯片站立错误。
4-66