KE-2050-KE-2060 使用说明书.pdf - 第702页
第2部 功能详细篇 第1 1章 自动校准 11-2-3 吸嘴旋转中心 测量各轴的旋转中心位于激光传感器的什么位置。 (设定的吸嘴旋 转中心) (测量到的吸 嘴旋转中心) ( 选择左 1 贴片 头时 ) 图 11-2-3-1 吸嘴旋转中心 设置贴片头 使用单选按钮选择设置对象贴片头。 不能选择没有在机器设置的“使用组件”设置中选择(不使用)的组件。 图 11-2-3-2 (1) 设置项目 No. 项目 设置内容 1 吸嘴旋转中心 由激…

第2部 功能详细篇 第11章 自动校准
(2) 设置方法
按照操作内的指示,对用“设置贴片头”中的单选按钮选中的贴片头进行设置。
1) 如果选择“确定”,则设定值生效。(此时不保存。)
2) 如果选择“取消”,则设定值无效。
操作方法
按照指示进行操作,将自动获得设定值。
图 11-2-2-3
选择“设置贴片头”贴片头,选择“运行”。
选择“运行”,则安装500、501或502吸嘴,自动测量激光传感器高度。
警告
单击“ 运行” 后,轴会移动。单击“ 运行” 前,请务必确认装置内部无人作
业。此外,为了避免人身伤害,在运行过程中,切勿将手放入装置内部,
也不要将脸和头靠近装置。
图 11-2-2-4
测量内容
① 将500、501或502吸嘴安装在设置贴片头上。
未在ATC上设置吸嘴时将会出错。出错时,请用机器设置的“ATC吸嘴分配”来分配
吸嘴。
② 通过激光传感器校准来测量激光传感器高度。
图 11-2-2-5
测量结束。
· 重复测量时,请选择“运行”。
选择“运行”,则显示上一个画面。
· 测量别的贴片头时,通过“设置贴片头选择”来选择贴片头。
变更“设置贴片头”,则将显示初始画面。
结束时,请选择“OK”。
11-6

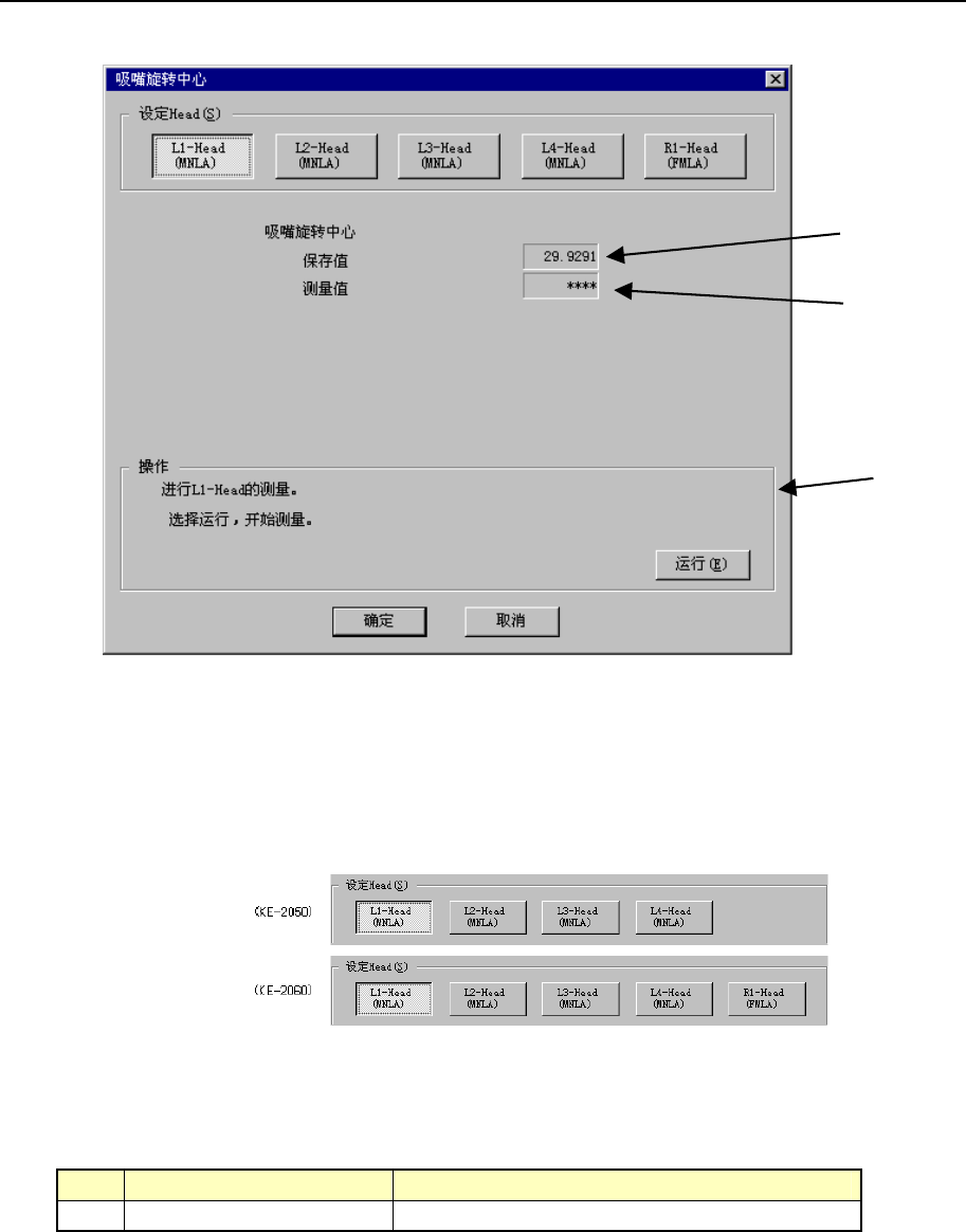
第2部 功能详细篇 第11章 自动校准
11-2-3 吸嘴旋转中心
测量各轴的旋转中心位于激光传感器的什么位置。
(设定的吸嘴旋
转中心)
(测量到的吸
嘴旋转中心)
(选择左 1 贴片
头时)
图 11-2-3-1 吸嘴旋转中心
设置贴片头
使用单选按钮选择设置对象贴片头。
不能选择没有在机器设置的“使用组件”设置中选择(不使用)的组件。
图 11-2-3-2
(1) 设置项目
No. 项目 设置内容
1 吸嘴旋转中心 由激光决定的吸嘴旋转中心
11-7

第2部 功能详细篇 第11章 自动校准
(2) 设置方法
按照操作内的指示,对用“设置贴片头”中的单选按钮选中的贴片头进行设置。
如果选择“确定”,则设定值生效。(此时不保存设定值。)
如果选择“取消”,则设定值无效。
操作方法
按照指示进行操作,将自动获得设定值。
图 11-2-3-3
对“设置贴片头”中所选中的贴片头进行设置。
· 请选择“运行”。
如果选择“运行”,则贴片头从0°开始以15°为单位,移动θ轴,重复进行24次,取
其平均值。
图 11-2-3-4
警告
单击“ 运行” 后,轴会移动。单击“ 运行” 前,请务必确认装置内部无人作
业。此外,为了避免人身伤害,在运行过程中,切勿将手放入装置内部,
也不要将脸和头靠近装置。
测量内容
① 利用激光测量吸嘴旋转的中心。
图 11-2-3-5
测量结束。
· 重复测量时,请选择“运行”。
选择“运行”,则显示上一个画面。
· 测量别的贴片头时,通过“设置贴片头选择”来选择贴片头。
变更“设置贴片头”,则将显示初始画面。
结束时,请选择“确定”。
11-8