00194439-10_SM_X-Serie_Kunde_de.pdf - 第246页
Servicearbeiten Docking-Station für BE-Wagen X-Se rie 3.12.5 Positions-Endschalte r der BE-Wage nverriegelung tauschen 246 Serviceanleitung SIPLACE X-Serie 3.12.5 3 . 1 2 . 5 P o s it io n s - E n d s c h a lt e r d e r …

Servicearbeiten
3.12.4 Waagrechtspanner tauschen [03025104-xx] Docking-Station für BE-Wagen X-Serie
Serviceanleitung SIPLACE X-Serie 245
3.12.4
3.12.4 Waagrechtspanner tauschen [03025104-xx]
Waagrechtspanner tauschen [03025104-xx]
Teile, Hilfsmittel und Werkzeug
▪ Waagrechtspanner [03025104-xx]
Übersicht
Ausbau
Einbau
► Schrauben Sie den neuen Waagrechtspanner locker an.
► Richten Sie den Waagrechtspanner an der Kante (3) aus und ziehen Sie die vier Befestigungs-
schrauben fest.
► Prüfen Sie, dass der Positions-Endschalter (4) beim Schließen des Waagrechtspanners betätigt
wird. Korrigieren Sie ggf. die Position des Waagrechtspanners.
► Prüfen Sie die Funktion des Positions-Endschalters, indem Sie einen Verriegelungsvorgang
durchführen.
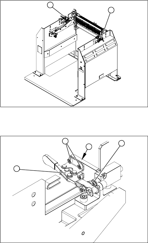
1. Waagrechtspanner – an der linken Seite
2. Waagrechtspanner – an der rechten Seite
1
2
1. Waagrechtspanner
2. Vier Befestigungsschrauben
3. Positions-Endschalter
► Lösen Sie die vier Befestigungsschrauben (2)
(je zwei oben und unten) des
Waagrechtspanners (1).
► Entnehmen Sie den Waagrechtspanner.
4
3
2
1

Servicearbeiten
Docking-Station für BE-Wagen X-Serie 3.12.5 Positions-Endschalter der BE-Wagenverriegelung tauschen
246 Serviceanleitung SIPLACE X-Serie
3.12.5
3.12.5 Positions-Endschalter der BE-Wagenverriegelung tauschen [03033395-xx]
Positions-Endschalter der BE-Wagenverriegelung tauschen [03033395-xx]
Teile, Hilfsmittel und Werkzeug
▪ Positions-Endschalter [03033395-xx]
Übersicht
Ausbau
► Lösen Sie die beiden Befestigungsschrauben am Positions-Endschalter.
► Öffnen Sie das Gehäuse des rückseitigen Steckers und kennzeichnen Sie die Anschlussbelegung.
► Klemmen Sie das Anschlusskabel des entsprechenden Positions-Endschalters im Stecker ab.
► Fädeln Sie das Anschlusskabel aus und entfernen Sie den Positions-Endschalter.
Einbau
► Schrauben Sie den neuen Positions-Endschalter locker an.
► Verlegen Sie das Anschlusskabel zu dem Stecker.
1. Positions-Endschalter an der linken Seite
2. Positionsendschalter an der rechten Seite
1
2
1. Positions-Endschalter komplett mit Anschlusskabel
2. Zwei Befestigungsschrauben
3. Anschlusskabel zur Stecker-Einheit
4. Betätigung durch Waagrechtspanner
GEFAHR!
Elektrische Spannung abschalten
Schalten Sie den Ein-/Ausschalter aus und ziehen Sie
den Netzstecker.
HINWEIS
Stecker für den linken und rechten Positions-Endschalter
► Die Anschlusskabel für den linken und rechten Positions-Endschalter sind auf einem ge-
meinsamen Stecker angeschlossen.

Servicearbeiten
3.12.6 Förderer-Entriegelung 40-fach tauschen [03011582-xx] Docking-Station für BE-Wagen X-Serie
Serviceanleitung SIPLACE X-Serie 247
► Klemmen Sie das Anschlusskabel an und schließen Sie das Gehäuse des Steckers.
► Richten Sie den Positions-Endschalter so aus, dass der Betätiger des Waagrechtspanners den Po-
sitions-Endschalter sicher schaltet.
► Ziehen Sie die Befestigungsschrauben fest.
► Stecken Sie das Anschlusskabel an und schalten Sie den Ein-/Ausschalter ein.
► Prüfen Sie die Funktion des Positions-Endschalters, indem Sie einen Verriegelungsvorgang
durchführen.
3.12.6
3.12.6 Förderer-Entriegelung 40-fach tauschen [03011582-xx]
Förderer-Entriegelung 40-fach tauschen [03011582-xx]
Teile, Hilfsmittel und Werkzeug
▪ Förderer-Entriegelung 40-fach [03011582-xx]
Übersicht
Aus-/Einbau
Die Förderer-Entriegelung 40-fach ist die selbe Baugruppe, die auch im BE-Einzug verwendet wird. Die
Servicearbeiten sind identisch mit der Vorgehensweise für den BE-Einzug. Alle notwendigen Servicear-
beiten sind dort beschrieben.
Sehen Sie dazu auch...
3.7.3 Förderer-Entriegelung 40-fach tauschen [03011582-xx] [ ➙ 202]
1. Förderer-Entriegelung 40-fach
1