KE 2050 2060说明书.pdf - 第157页
第4章 生产程序制作 Rev00 例) 以下是将左下角定为基板位置基准时(单位为 mm)的例子。 ① 前面基准、L→R 时: 基板设计端点 基板位置基准 5 125 5 165 基板外形尺寸 X=165 Y=125 定位孔位置 X=160 Y=5 基板设计偏移量 X=165 Y=0 ② 前面基准、R→L 时: 5 基板位置基准 5 5 165 125 基板设计端点 基板外形尺寸 X=165 Y=125 定位孔位置 X=5 Y=5 基板设…

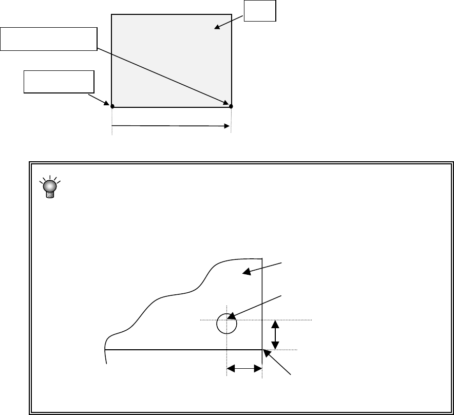
第4章 生产程序制作 Rev00
3) 基板设计偏移量
以基板基准位置为起点,输入所设计的基板各端点的数值。
使用CAD数据时,需要将决定的原点(CAD原点或自己公司特有的原点)作为基板位置基准时,
输入由CAD等决定的从基板位置基准到基准位置(基板设计端点)的尺寸。
Xb
基板位置基准
基板
Yb=0
基板设计端点
传送为前面基准,基板流向为左→
右时,如果基板左下角有基板位置
基准,在基板设计偏移量的 X、Y 坐
标中分别输入(Xb,0)的值。
Xb 取正值。
通常,基准孔的中心在离基板角 X、Y 均为±5mm 的位置。因此,当“定位孔位
置”与基板位置基准相同时,基板位置基准与“基板设计端点”的尺寸值 X、Y
均为±5mm。
前面基准、L→R 时:
基板
定位孔位置(=基板位置基准)
5mm
基板设计端点
5mm
4-12

第4章 生产程序制作 Rev00
例) 以下是将左下角定为基板位置基准时(单位为 mm)的例子。
① 前面基准、L→R 时:
基板设计端点
基板位置基准
5
125
5
165
基板外形尺寸 X=165 Y=125
定位孔位置 X=160 Y=5
基板设计偏移量 X=165 Y=0
② 前面基准、R→L 时:
5
基板位置基准
5
5
165
125
基板设计端点
基板外形尺寸 X=165 Y=125
定位孔位置 X=5 Y=5
基板设计偏移量 X=0 Y=0
③ 后面基准、L→R 时
基板设计端点
165
基板位置基准
125
5
基板外形尺寸 X=165 Y=125
定位孔位置 X=160 Y=120
基板设计偏移量 X=165 Y=125
5
④ 后面基准、R→L 时
5
基板位置基准
165
125
5
基板设计端点
基板外形尺寸 X=165 Y=125
定位孔位置 X=5 Y=120
基板设计偏移量 X=0 Y=125
4-13

第4章 生产程序制作 Rev00
4) BOC 标记位置
输入由基板位置基准到各BOC标记的中心位置的尺寸,进行标记形状的示教。
BOC标记需要2点或3点。
有关示教方法,请参照“4-5-2 示教”。
输入X、Y坐标。 选择此处,用HOD示教标记形状。
◆使用2点时: 可修正设计尺寸和实际尺寸(测量尺寸)的差及旋转方向的误差。
请将第3点留为空白。另外,当基板上存在多个标记时,查看所有贴片范围,
选择对角线上的2点。
◆使用3点时: 在2点时的基础上,还可修正X、Y轴的直角度的偏斜。
注意
当有标记坐标的设计值(CAD 数据)时,绝对不要进行 X、Y 坐标的示教。
否则所有的贴片坐标将偏离设计值。
注意
为避免人身伤害,示教时切勿将手放入装置内部,也不要将脸和头靠近
装置。
5) 坏板标记位置
单电路板无需设置(不能设置)。
4-14