XP242E 系统手册 SYS-XP242-1.0S.pdf - 第163页
第 3 部 第 3 章 编辑器 E d i t i o n 1 . 0 3 - 3 - 3 9 X P - 2 4 2 E 系统手册 Tr a y Ty p e 从以下各项中选择要使用的料盘的类型 。 0 : Matrix-Dump : 空 的 状态 下重 量 小 于 24 0g ,可用吸取器吸取的料盘 。有元 件吸取 错误发 生时, 作为 补 件动作在同一吸取位置重复吸取 动作。 进行完指定的 补 件次数依 然 不能吸取时, 机器 停…

第 3 章 编辑器 第 3 部
XP-242E 系统手册 3-3-38 Edition 1.0
项目检查是搜索并显示指定的数据名称。选 择 黑色下拉键显示分类目录,也可以直接从
键盘输入数据
名称来搜索。选择[下一步搜索]键以从上至下的方向进行搜索。
项目说明
Packaging Name
指定 Packaging Name。最大为不得超过 30 个字符的字 符串。
注意) 以下字符不能用于文件名(:¥/ ;* ? ”< > /),另外,在文件名的开头也不能用字符(~.)。
Packaging Type
单击这个字段显示以下窗口。请 单击[▼]、从下 拉式菜单中选择元件供应的使用项目。
Packaging Type 为料盘以外时请同时指定 Feed Count(送料次数)。
XP1S2159
Tape Width
料带宽度(0mm~255mm)
Feed Pitch
设定输送料带的距离。(2mm~100mm)
清除设定的数据。

第 3 部 第 3 章 编辑器
Edition 1.0 3-3-39 XP-242E 系统手册
Tray Type
从以下各项中选择要使用的料盘的类型。
0:Matrix-Dump: 空的状态下重 量小于 240g,可用吸取器吸取的料盘。有元
件吸取错误发生时,作为补件动作在同一吸取位置重复吸取
动作。进行完指定的补件次数依然不能吸取时,机器停止运
转。
2:No Matrix-Dump: 空的状态下重量小于 240g,可用吸取器吸取的料盘。有元
件吸取错误发生时,作为补件动作在同一吸取位置重复吸取
动作。进行完指定的补件次数依然不能吸取时,移至下一个
吸取位置继续吸取动作。
4:No Matrix: 空的状态下因重量大于 240g 而不能自动排出的料盘以及
吸取器不能吸取的料盘。发生吸取错误时的补件动作与上述
的 No Matrix-Dump 同样。
[6]、[7]不被正式支持(不能编辑)。但是,设定为[6]、[7]的 Packaging 被 读入时分别与
2、4 进行相同的动作。
Tray Length
请输入在安装使用料盘方向上从 Side1 视角观察时的 X 方向的长度。
(0.00mm~350.00mm)
Tray Width
请输入在安装使用料盘方向上从 Side1 视角观察时的 Y 方向的长度。
(0.00mm~350.00mm)
Tray Thickness
进行料盘自动排出时请输入料盘厚度(4mm 以上)。
(0.00mm~25.4mm)
Tray First Pickup Position X
请输入从料盘原点(已装载的状态下从 Side1 视角观察在料盘的右下角)吸取第 1 个元件
的坐标 X 方向的 长度。(-250.00mm~0.00mm)
MCSX341S
Tray First Pickup Position Y
请输入从料盘原点(已装载的状态下从 Side1 视角观察在料盘的右下角)吸取第 1 个元件
的坐标 Y 方向的 长度。(0.00mm~350.00

第 3 章 编辑器 第 3 部
XP-242E 系统手册 3-3-40 Edition 1.0
Tray Column Pitch
请输入已装载的状态下从 Side1 视角观察到的料盘在 X 方向的孔之间的间距。
(0.00~250.00)
Y
X
X = Tray Column Pitch
Y = Tray Row Pitch
(mm)
MCSX342a
Tray Row Pitch
请输入已装载的状态下从 Side1 视角观察到的料盘在 Y 方向的孔之间的间距。
(0.00~350.00)
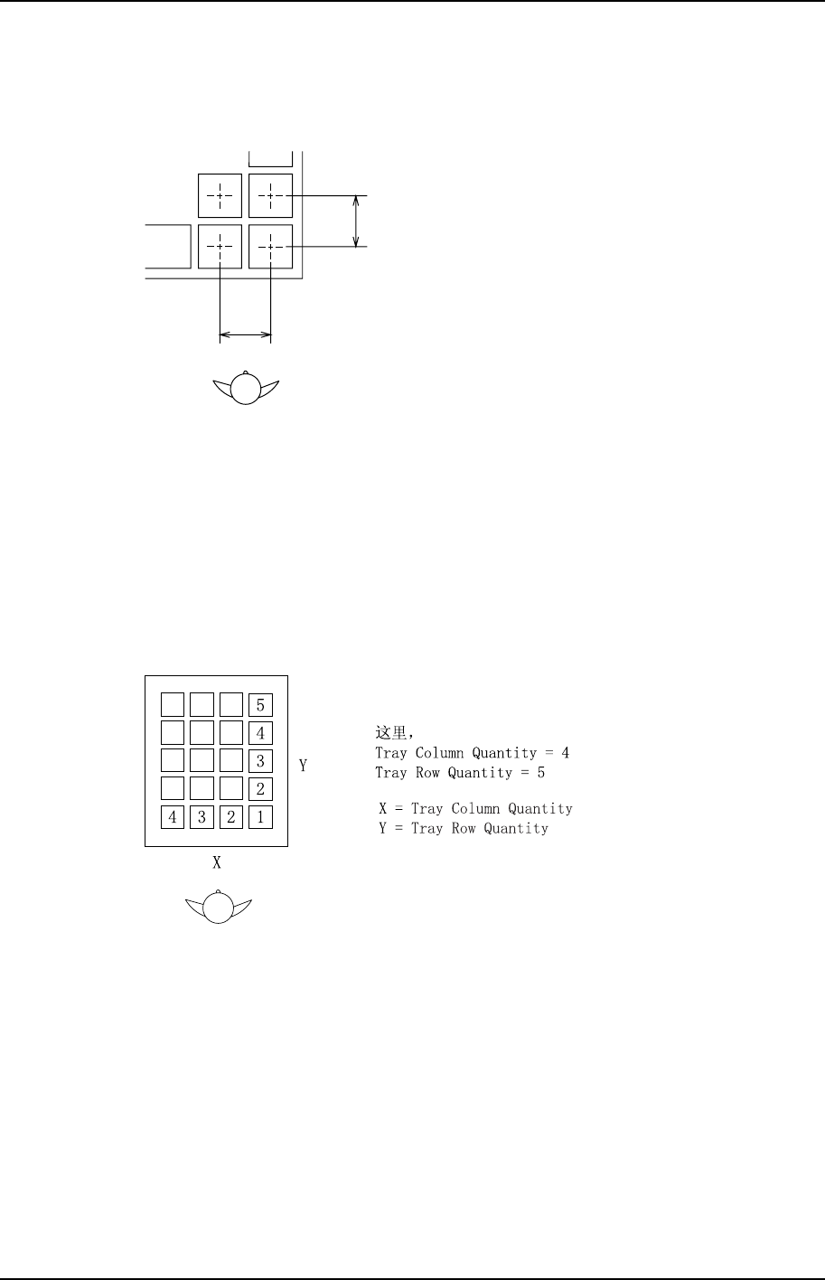
Tray Column Quality
请输入已装载状态下从 Side1 视角观察到的料盘 X 方向的孔数。
(0~32)
MCSX343S
Tray Row Quality
请输入已装载状态下从 Side1 视角观察到的料盘 Y 方向的孔数。
(0~32)
Tray Dump Pick Position X
请输入排出料盘时吸取坐标的料盘原点到 X 方向的 尺寸。
(-250.00mm~0.00mm)