XP242E 系统手册 SYS-XP242-1.0S.pdf - 第62页
第 2 部 第 1 章 基本操作 Edition1.0 2-1-23 XP-242E 系统手册 1.8 料尽料站的 补 充 生产 过 程中 发 生 [ 料尽 ] 、 [ 影像 处 理错误 ] 等问 题 时,机 器会显示出 错误 信息画面。关闭 错误 信息画面后, 只 要进行料尽的料站的元件 补 充 ( 料站 检查 ) , 就 可以 再 次开始自动运 转。 此外,所 谓 料站 检查 是 指 选择 1.6 内的 [ 运转中的画面显示 ] 中…

第 1 章 基本操作 第 2 部
XP-242E 系统手册 2-1-22 Edition1.0
机器信息
显示机器信息画面(自动生产初始画面)。
吸嘴/料站统计信息
显示吸嘴/料站统计信息画面。
子电路板跳过信息
显示不更改生产程序就能跳过任意的子电路板的编辑器。
大型元件排出位置复位设定
废弃到大型不良元件排放盘中的元件记录暂时被清除。
中型元件排出位置复位设定
废弃到中型不良元件排放盘中的元件记录暂时被清除。
影像监视
进行影像处理的监视。
1.7 完成目前的电路板
生产中的电路板(在主搬运轨道上)的生产结束后,在进入排出搬运轨道时可以使机器自
动停止的运转。
操作步骤
1. 在机器自动运转过程中,依次选择[自动]和[完成目前的电路板]。并 且、取消这个
功能时,请选择[完成目前的电路板]。
2. 生产中的电路板的生产结束后,在进入排出搬运轨道时机器会自动停止运转。

第 2 部 第 1 章 基本操作
Edition1.0 2-1-23 XP-242E 系统手册
1.8 料尽料站的补充
生产过程中发生[料尽]、[影像处理错误]等问题时,机器会显示出错误信息画面。关闭
错误信息画面后,只要进行料尽的料站的元件补充(料站检查),就可以再次开始自动运
转。
此外,所谓料站检查是指选择 1.6 内的[运转中的画面显示]中的[更换完成]、[一次性更
换完成]键,使机器进入元件安装状态。
运行料站检查的条件可由固有值“__DeviceSetChkUse”设定。
0: 不进行料站检查。关闭错误画面后,所有料站自动进入元件安装状态。
1、2: 只有发生料尽、吸取错误的料站才需要进行料站检查。发生影像处理错误
的料站会自动进入元件安装状态。
3: 发生料尽、吸取错误、画像处理错误的料站全部需要进行料站检查。

第 1 章 基本操作 第 2 部
XP-242E 系统手册 2-1-24 Edition1.0
1.9 机器的停止和重新启动
机器的紧急停止
· 按下机器上的[紧急停止]按钮。
·按下[紧急停止]按钮后,切断供应给伺服系统的 200V 电源,机器立即停止运转。
该按钮是锁定式的,解除时请将其顺时针旋转。
· 重新开始运转时,解除[紧急停止]按钮后,请依次按下[运转准备]以及[启动]按钮。
结束当前的周期后机器停止运转
·按下[周期停止]按钮。结束当前动作中的周期,机器停止运转。即使按下[周期停
止]按钮,也不能切断 200V 电源。
· 要使机器重新启动,请按下[启动]按钮,。
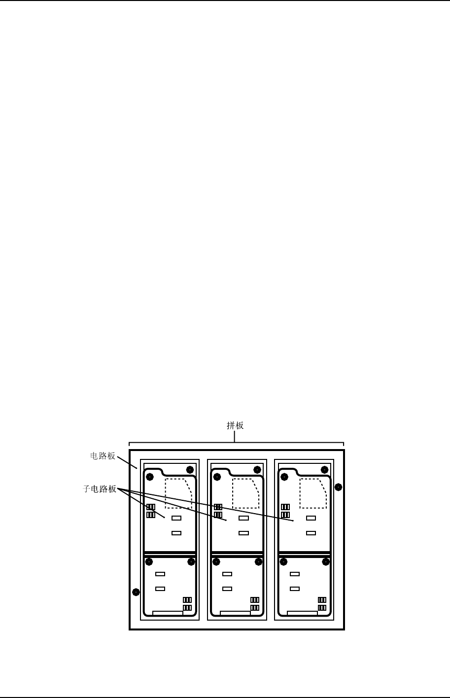
1.10 子电路板跳过
在进行拼板生产的时候,由于子电路板有缺陷等原因。可 以指定某个子电路板不必生产
(跳过)。使用 2 种方法设置子电路板的跳过。
· 由生产程序进行子电路板跳过
设定子电路板跳过可在生产程序中预先设定要跳过的子电路板。
· 由跳过定位点自动进行子电路板跳过
· 在电路板上读取所设定的子电路板跳过定位点,当机器检验子电路板上相应的定
位点时,将自动跳过子电路板的生产。有关在程序上设定子电路板跳过定位点的
方法,请参照关于在程序上读取已设定的定位点的主机系统手册。
XP1S2032S