XP242E 系统手册 SYS-XP242-1.0S.pdf - 第30页
安全指南 Edition 1.0 15 XP-242E 系统手册 1 20 22 23 21 21 1 22 1 1 XP2MZ006S 1 21 [ ] 1 23 22 [ ] + VH1 - VH1 TRIG* 20 <CAUTION> Connect as shown above. The lamp will not illuminate property if not connected correctly . DA…

安全指南
XP-242E 系统手册 14 Edition 1.0
1
8
18
19
XP2MZ005S
1
[
]
8
18
19
1
2
3
CAUTION
Do not place objects on
the striped areas
this may cause damage
to the tray.
.

安全指南
Edition 1.0 15 XP-242E 系统手册
1
20
22
23
21
211
22
1
1
XP2MZ006S
1
21
[
]
1
23
22
[
]
+
VH1
-
VH1TRIG*
20
<CAUTION>
Connect as shown above.
The lamp will not illuminate
property if not connected
correctly.
DANGER
High voltage Do not
touch the inside of
the apparatus.
< Caution >
Use appropriate tap on transformer when
wiring power supply cable to primary side.

安全指南
XP-242E 系统手册 16 Edition 1.0
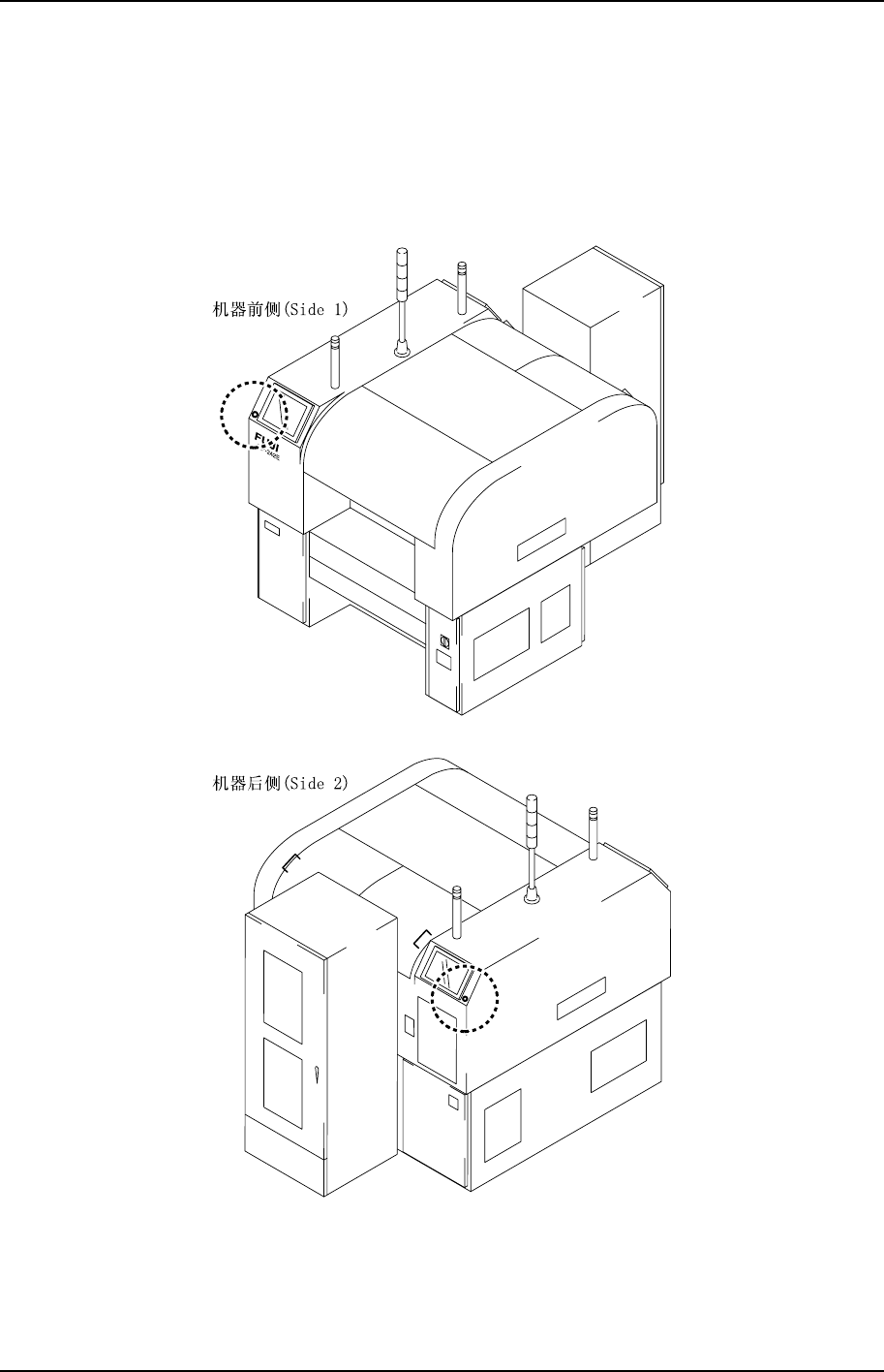
5. [紧急停止]按钮
发生紧急情况时,请按下任何一个红色的[紧急停止]按钮,使机器停止。[紧急停止]按钮的
位置如下图所示。
XP2MZ011S