XP143系统手册.pdf - 第247页
SYS-XP143-1.0S 4. 机器生产程序 XP-142E/143E 系统手册 235 方向检查时也可 以使用。在进行此项 检查时,在 Vir tual lead 中进行选择。显示出 「2」 。 行列输入的第 2 行 ( Matrix) 仅仅对应 Vision Type230。 进行 BGA·CSP 元件的焊球矩阵的行列输入时,使 用 2 个 Element Dat a 的组合进行使用。 因此,在第 1 行输入 [1], 在第 2…

4. 机器生产程序 SYS-XP143-1.0S
234 XP-142E/143E 系统手册
选项功能
·不检查引脚长度 (No Length Tolerance Check):4
在 No Length Tolerance Check 中进行选择。显示出 5。(1+4=5)
请在因为元件尺寸的偏差很大等而不想检查引脚的长度时使用。对于引脚长度有
偏差的元件有效。
·不检查引脚宽度 (No Width Tolerance Check):8
在 No Width Tolerance Check 中进行选择。显示出 9。(1+8=9)
请在因为元件尺寸的偏差很大等而不想检查引脚的宽度时使用。对于引脚宽度有
偏差的元件有效。
·检查左边多余引脚 (First pin Check):16
在 First pin Check 中进行选择。显示出 17。(1+16=17)
在将引脚要素从左向右进行影像处理时,最初发现的引脚的左侧是否没有引脚的
确认功能。这个检查对于防止贴装间距的偏差有效。
·检查右边多余引脚 (Last pin Check):32
在 Last pin Check 中进行选择。显示出 33。(1+32=33)
在将引脚要素从左向右进行影像处理时,最初发现的引脚的右侧是否没有引脚的
确认功能。这个检查对于防止贴装间距的偏差有效。
·不检查引脚长度方向的位置偏差 (No Center Length Tolerance Check):256
在 No Center Length Tolerance Check 中进行选择。显示出 257。(1+256=257)
为是否进行 Lead Center Tolerance 的引脚长度方向的检查的设定。请在不想进
行引脚长度方向的位置偏差 (弯曲)时使用。
·不检查引脚宽度方向的位置偏差 (No Center Width Tolerance Check):512
在 No Center Width Tolerance Check 中进行选择。显示出 513。(1+512=513)
为是否进行 Lead Center Tolerance 的引脚宽度方向的检查的设定。请在不想进
行引脚长宽度方向的位置偏差 (弯曲)时使用。
虚拟引脚检查 (Virtual lead)
在 Element Data 中,将引脚 (焊球)不应该存在的范围作为虚拟要素进行记述,进行影像
处理时在其范围内没有引脚 (不识别引脚时)时作为合格品进行判断的检查。元件的供应
在影像处理中具有不要检测出的部分时,在选择区域中使其显示 [0]。例如,像下图的
接插头一样,在引脚左右有固定的突起部分时,在 Element Data 处记述有其突起的位置
和大小。在 Don't Inspect 处进行选择后,可以不影响相邻的引脚。
进行影像处理的设定 (Inspect)
在进行影像处理的区域中,在 Inspect 处进行选择后,显示出 「1」。
在选项设定时,对使用的功能所分配的值的合计,显示出加 1 的数字。

SYS-XP143-1.0S 4. 机器生产程序
XP-142E/143E 系统手册 235
方向检查时也可以使用。在进行此项检查时,在 Virtual lead 中进行选择。显示出 「2」。
行列输入的第 2 行 (Matrix)
仅仅对应 Vision Type230。
进行 BGA·CSP 元件的焊球矩阵的行列输入时,使用 2 个 Element Data 的组合进行使用。
因此,在第 1 行输入 [1], 在第 2 行为了表示 Element Data 的第 2 行,请输入 [128]。
备注 ) 检查项目的选项使用时的功能输入时,请在 Element Data 的第 1 行输入 (加上 1 的数值)。
Vision Type19 时,有必要定义锡球要素。
Part Positioning Mode
设定将影像处理的结果用模板定位还是用要素定位。
Vision Type19 的时候
0:Template Positioning 仅仅用模板定位。
1:Element Positioning 仅仅用要素定位。
·Process
Maximum Nozzle Diameter
吸取对象元件时使用,输入元件的最大直径。(0.0mm ~ 99.9mm)
Minimum Nozzle Diameter
吸取对象元件时使用,输入元件的最小直径。(0.0mm ~ 99.9mm)
Nozzle Name
要使用特定的吸嘴时,从名称目录中选择。( 最大 15 字符 )
Pick-up Auto Offset
设置是否使用吸取点自动修正功能。
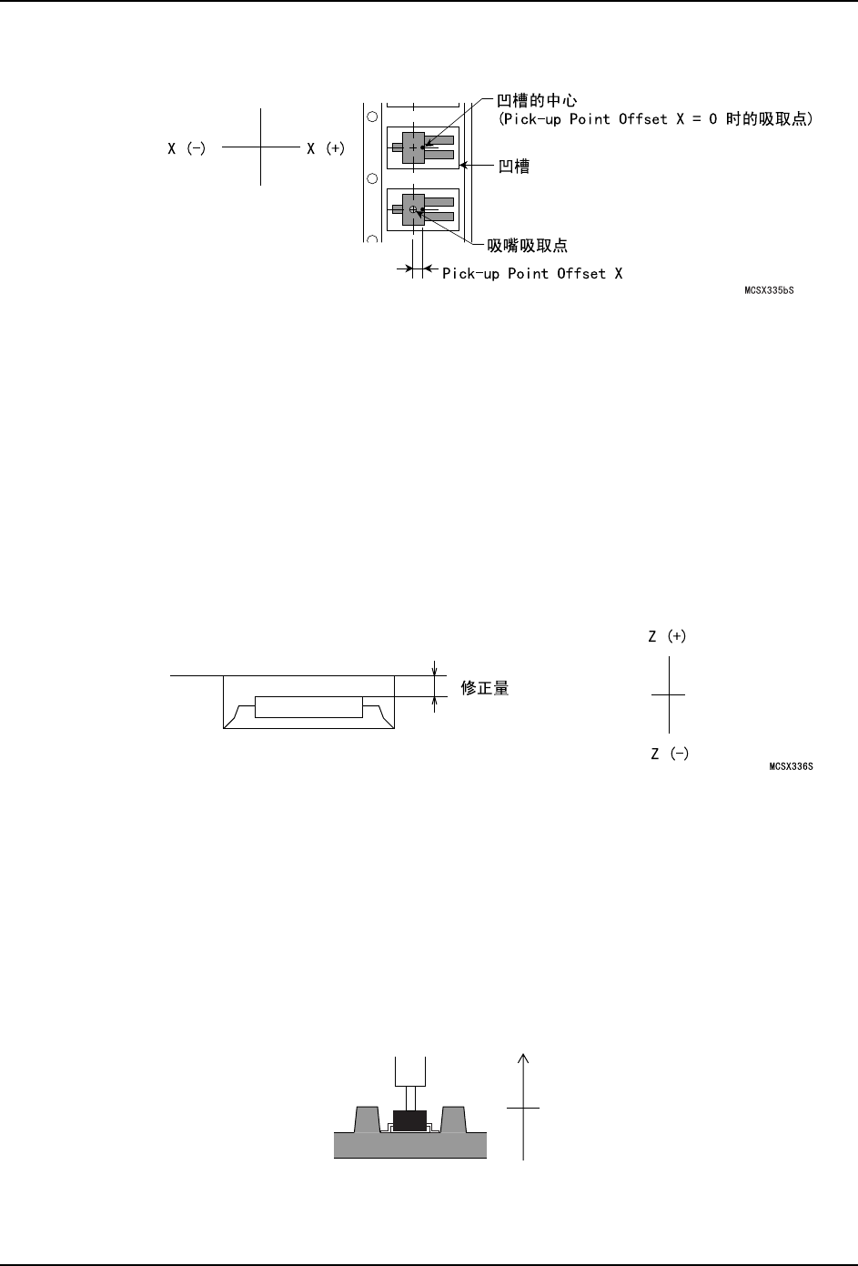
Pick-up Point Offset X
在供料器供应的元件时不想从指定料站的 X 方向的中心处吸取元件时用此设定。(-12.7mm
~ 12.7mm)
设定修正量时的元件方向以 Direction 0 为基准。要设定向右偏移 5mm 时请输入 “5”。
YES: 使用吸取点自动修正功能 :0
NO: 不使用吸取点自动修正功能 :1

4. 机器生产程序 SYS-XP143-1.0S
236 XP-142E/143E 系统手册
Pick-up Point Offset Y
在供料器供应的元件时不想从指定料站的 Y 方向的中心处吸取元件时用此设定。(-12.7mm
~ 12.7mm)
设定修正量时的元件方向以 Direction 0 为基准。要设定向进深处偏移 5mm 时请输入
“5”。
Pick-up Point Offset Z
在供料器供应的元件时不想从指定料站的通常高度吸取元件时用此设定。(-12.7mm ~
12.7mm)
要向下修正 1mm 时请输入 “-1”。
Soft Pick Speed
为减轻进行吸取动作时对元件造成的冲击,而设定 Z 轴下降和上升的速度。(0.0 ~ 10.0)
值越小速度越慢。输入 0 时,机器判断为 10.0。吸取时取这个输入值和 Slow Place Speed
两者中较慢的数据为有效值。吸取元件期间,Part Transport Speed 也需考虑,取这些数
据中最慢的速度为有效值。
Tray Pick Offset Z
元件的吸取面与料盘上面的高度不同时,设定吸取时的 Z 方向的修正。(-5.0 ~ 1.0mm)
注意 ) 仅仅在单料盘平台 (选项)贴装时显示。
MCSX337
Z (+)
(-)