XP143系统手册.pdf - 第256页
4. 机器生产程序 SYS-XP143-1.0S 244 XP-142E/143E 系统手册 关于元件数据和模板数据的运用 在 XP 系列机器上,影像处理用的 模板数据保存方法在 XP-142E/ 242E/143E/243E 系列上与 XP-141E/241E/341E 系列是不 同的。 将在 XP-141E/241E/341E 系列上使用 的模板在 XP-142E/242E 上使用时 ,将使用的模板 文件 ( 后缀 : .tpl) …

SYS-XP143-1.0S 4. 机器生产程序
XP-142E/143E 系统手册 243
的坐标 Y 方向的长度。(0.00mm ~ 350.00)
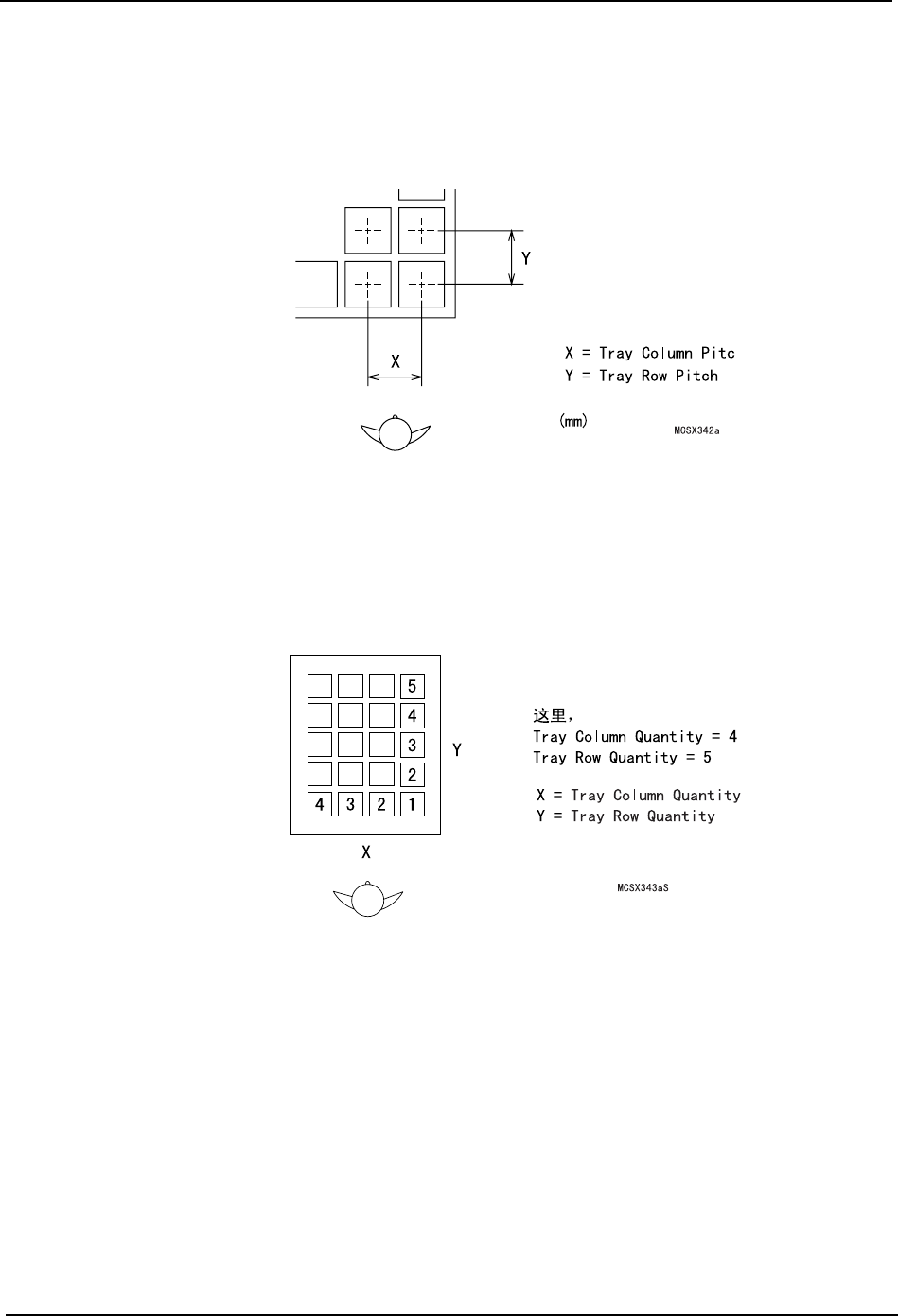
Tray Column Pitch
请输入已装载的状态下从 Side1 视角观察到的料盘在 X 方向的孔之间的间距。(0.00 ~
250.00)
Tray Row Pitch
请输入已装载的状态下从 Side1 视角观察到的料盘在 Y 方向的孔之间的间距。(0.00 ~
350.00)
Tray Column Quality
请输入已装载状态下从 Side1 视角观察到的料盘 X 方向的孔数。(0 ~ 64)
Tray Row Quality
请输入已装载状态下从 Side1 视角观察到的料盘 Y 方向的孔数。
(0 ~ 64)

4. 机器生产程序 SYS-XP143-1.0S
244 XP-142E/143E 系统手册
关于元件数据和模板数据的运用
在 XP 系列机器上,影像处理用的模板数据保存方法在 XP-142E/242E/143E/243E 系列上与
XP-141E/241E/341E 系列是不同的。
将在 XP-141E/241E/341E 系列上使用的模板在 XP-142E/242E 上使用时,将使用的模板文件
( 后缀 : .tpl) 从 XP-141E/241E/341E 的元件驱动器中复制到 XP-142E/242E/143E/243E 的
元件驱动器的 TPL 文件夹内,请将固有值 OPERATION_2 的 「CCIMFTemplateMode」设定为
「1」。
备注 ) 相对于在 XP-142E/242E/143E/243E 系列上,将模板数据作为 Part Type 数据的一部分 ( 后缀
: .pds) 进行保存,而在 XP-141E/241E/341E 系列上,将模板文件作为机器的硬盘驱动器内独
立的文件 ( 后缀 : .tpl) 进行保存。
因为在 XP-142E/242E/143E/243E 上将模板数据作为 Part Type 数据的一部分进行保存,所
以在读取机器中生产程序的 Part Type 数据创建模板时,模板数据仅仅存在于其生产程序
中。创建模板后,重新传送同名的生产程序并覆盖后,在生产程序中保存的模板被删除。
这种情况下,在其状态下要进行生产时显示出没有必要的模板的错误信息。要在以后也使
用所创建的模板时,请进行以下的操作。
1. 在 [ 元件编辑画面 ] 上,打开用生产程序创建的模板的一个 PartNumber 数据并按下
[Library 保存 ] 按键。
2. 打开 PartType 数据并按下 [Library 保存 ] 按键。
3. 打开 Packing 数据并按下 [Library 保存 ] 按键。
4. 反复进行 1. ~ 3. 的操作直到用 Vision Type18 创建的所有的元件都完成了这个处理
后,从主电脑中读取同名的生产程序。但是,这时请在 「选择程序」对话框下的 「从
数据库读取元件·定位点」中键入选项。
注意 ) 要使 「从数据库读取元件·定位点」的选项框有效时,请将固有值 OPERATION_2 的
「PartLibraryCentricMode」设定为 「1」。

SYS-XP143-1.0S 4. 机器生产程序
XP-142E/143E 系统手册 245
4.3.7 吸嘴编辑
此编辑器用于编辑吸嘴的配置。
操作键说明
项目说明
No.
指定吸嘴配置台的编号。
Name
吸嘴的名称。
Type
吸嘴的种类。(Standard:标准吸嘴,Custom:特殊吸嘴)
Diameter
吸嘴的直径。(单位:mm)
一次性读入机器上的吸嘴信息。当一次性输入时,请确认生产程序
中所必须有的吸嘴是否齐全。