XP143系统手册.pdf - 第25页
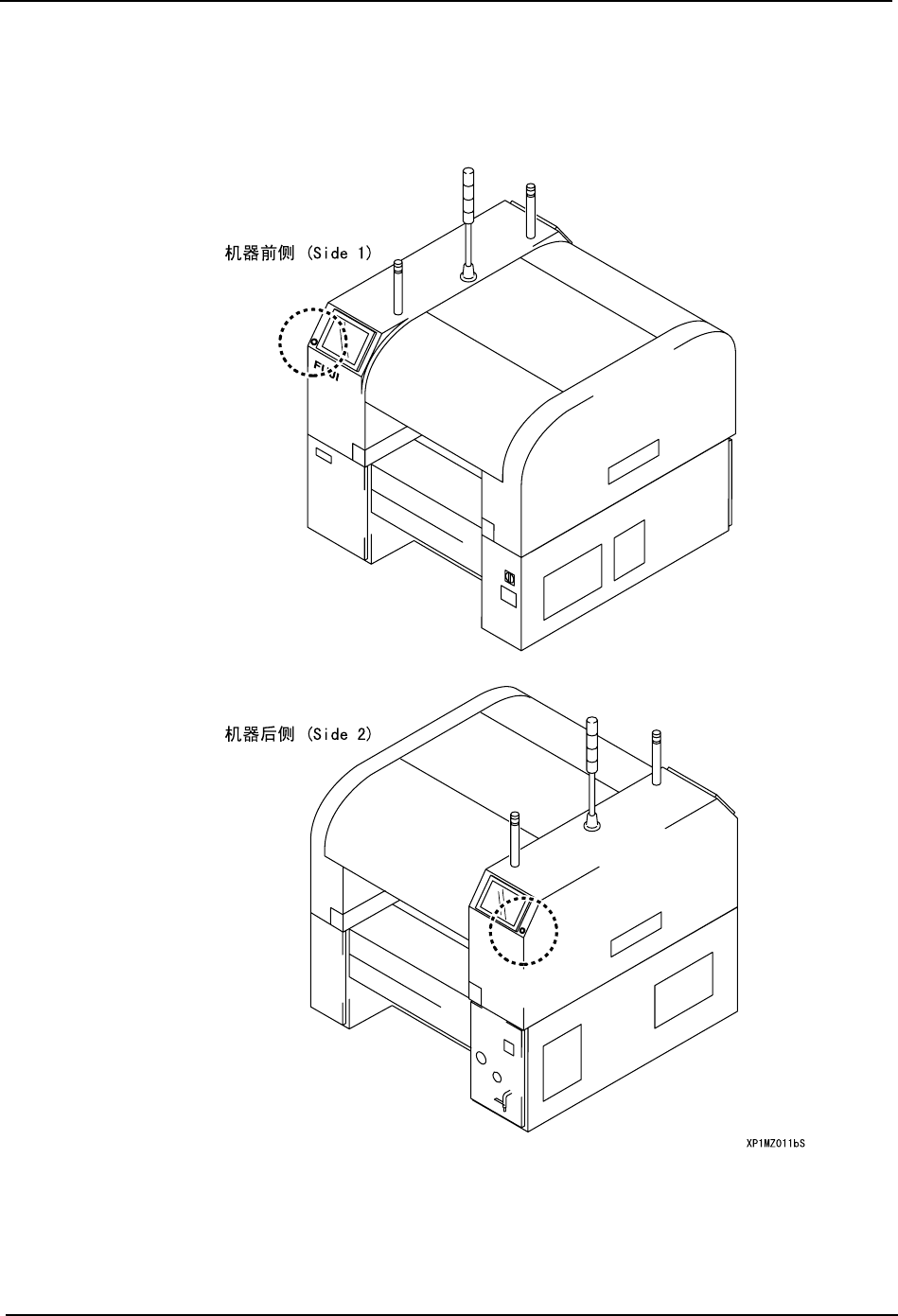
SYS-XP143-1.0S 1. 安全指南 XP-142E/143E 系统手册 13 1.5 [ 紧急停止 ] 按钮 发生紧急情况时, 请按下任何一个红色的 [ 紧急停止 ] 按钮, 使机器停止。 [ 紧急停止 ] 按 钮的位置如下图所示。

1. 安全指南 SYS-XP143-1.0S
12 XP-142E/143E 系统手册
DANGER
High voltage Do not
touch the inside of
the apparatus.

SYS-XP143-1.0S 1. 安全指南
XP-142E/143E 系统手册 13
1.5 [ 紧急停止 ] 按钮
发生紧急情况时,请按下任何一个红色的 [ 紧急停止 ] 按钮,使机器停止。[ 紧急停止 ] 按
钮的位置如下图所示。

1. 安全指南 SYS-XP143-1.0S
14 XP-142E/143E 系统手册
1.6 关于闭锁
操作或维修保养机器时,进行设置,使得非负责机器的人员不能打开机器的电源和气源,这
叫做 [ 闭锁 ]。
多个人员同时进行操作时,为了防止机器操作错误所引起的事故,请每个操作人员都牢记下
面的闭锁步骤。
1.6.1 如何实施闭锁
准备市场上出售的荷包锁 (2 个)和标签,所有操作人员准备好记录自己名字的标签。
1. 切断机器的电源。
2. 将基座上的主开关旋转到 OFF 位置。
3. 给主开关上加上荷包锁。
锁紧的荷包锁上贴有写着开始操作的各个操作人员名字的标签。
备注 ) 根据所附的标签可以知道有关人员现在正在操作,不允许解除闭锁。