NXT-IIc 机械手册.pdf - 第183页
5. 预防保养 MEC-NXTIIc-3.3S 158 NXT IIc 机械手册 5.3.2 元件排出盒的清扫 ( 每 24 小时 ) 备注 )安装了分类不良 元件排出盒的时候, 请进行同样的清扫。此外 ,拆除分类不良元件排 出盒的时候,请将 4 个盒子一起拆除。 1. 拉出模组。 (参考 「4.1 模组的拉出 / 插入 」 ) 2. 把元件排出盒向上抬起后拆除。 3. 请除去废料带箱积存的废料带。 注意 )请将元件排 出盒稳固地插入台…

MEC-NXTIIc-3.3S 5. 预防保养
NXT IIc 机械手册 157
5.3 每天 (24 小时以内 ) 的操作
5.3.1 废料带箱的清扫 ( 每 8 小时 )
请进行设置在料站托架用或者料盘单元 -LT/LTC 上的废料带箱内的清扫。
注意 )此外 , 操作周期是 8 小时,根据供料器的使用根数等生产条件,操作周期有可能发生
很大变化,请以与生产条件相符合的周期,进行定期清扫。
1. 将从料带供料器上垂落下来的表面薄膜用剪刀剪断。
2. 把废料带箱拉到面前。
3. 料站托架用的废料带箱时,请拆除隔板。
4. 请除去积存在废料带箱中的废料带。
5. 料站托架用的废料带箱时,请安装隔板,把废料带箱返还到基座内。
备注 )在基座内安装有传感器。如果不确实地将废料带箱返还到基座内,废料带处理单元就
不会动作。
01MEC-0703Sa
ᑳ᭭ᏺㆅ
կ఼᭭
㸼䴶㭘㝰
01MEC-1163

5. 预防保养 MEC-NXTIIc-3.3S
158 NXT IIc 机械手册
5.3.2 元件排出盒的清扫 ( 每 24 小时 )
备注 )安装了分类不良元件排出盒的时候,请进行同样的清扫。此外,拆除分类不良元件排
出盒的时候,请将 4 个盒子一起拆除。
1. 拉出模组。(参考 「4.1 模组的拉出 / 插入 」)
2. 把元件排出盒向上抬起后拆除。
3. 请除去废料带箱积存的废料带。
注意 )请将元件排出盒稳固地插入台座中。如果元件排出盒不稳固地插入,在运转时有可能
与贴装头冲突。
5.3.3 料盘单元 -LT 的元件排出盒的清扫 ( 每 24 小时 )
1. 拉出模组。(参考 「4.7 料盘单元 -LT 的拆除 / 安装 」)
2. 把元件排出盒向上抬起后拆除。
3. 请除去废料带箱积存的废料带。
注意 )请将元件排出盒稳固地插入台座中。如果元件排出盒不稳固地插入,有可能在运转时
与贴装头冲突。
01MEC-0703S
ܗӊᥦߎㆅ
ৄᑻ
01MEC-1143

MEC-NXTIIc-3.3S 5. 预防保养
NXT IIc 机械手册 159
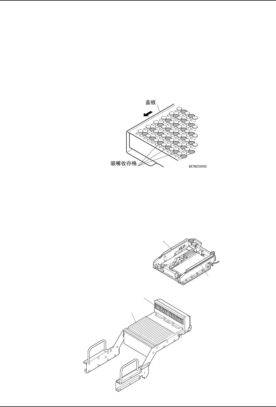
5.4 每周 (160 小时 ) 的操作
5.4.1 吸嘴更换器的清扫
1. 拉出模组。(参考 「4.1 模组的拉出 / 插入 」)
2. 拆除吸嘴置放台。(详细请参考 「4.5 吸嘴置放台的拆除 / 安装 」。)
3. 移开盖板取出所有吸嘴。
4. 使用吸尘器吸取残留在格内的垃圾及异物。
5. 请使用棉棒擦去荧光粘纸表面的污垢。
5.4.2 料站托架的清扫
1. 拆除料站托架。( 详细请参考 「4.4 料站托架的拆除 / 安装 」)
2. 使用吸尘器吸取残留在料槽部及供料器接插部的垃圾和灰尘。必要时请用刷子仔细清
扫。
3. 在安装料站托架前,请吸取附在料站基座的滚轮槽内的垃圾和灰尘。
01MEC-0705S
᭭キᠬᶊ
᭭ῑ䚼ӑ
կ఼᭭ᦦ䚼
⒮䕂ῑ
⒮䕂ῑ
᭭キᑻ