NXT-IIc 机械手册.pdf - 第295页
5. 预防保养 MEC-NXTIIc-3.3S 270 NXT IIc 机械手册 2. 测定值超过上述的范围时请调整皮 带张力。拧松马达的固定螺栓后,旋转调整螺栓进行 调整。 〈TZ 轴皮带张力〉( 料盘箱升降部位 ) 1. 请测定皮带的张力。确认在跨距最长的皮 带中央的测定值是 60.0±3.0Hz。 2. 测定值超过上述的范围时请调整皮 带张力。 松开张紧轮的固定螺栓后,请旋转 调整螺栓进行调整。 NXTMTU078Sa 调整螺栓 …

MEC-NXTIIc-3.3S 5. 预防保养
NXT IIc 机械手册 269
驱动轴的加油
7. 用清洁的布,擦去驱动轴的污垢。
8. 取 0.375cc 的 Daphne Exponex No.2 到刷子上。
9. 滑动驱动轴,用刷子均匀地涂敷润滑油。
10.滑动驱动轴,使润滑油循环。
11.擦去渗出的多余润滑油。
12.安装料盘单元 -M 的盖罩。
5.10.25 料盘单元 -M 皮带张力的检查 · 调整
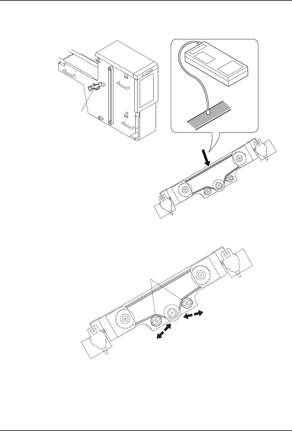
在确认皮带张力时,请预先准备张力计。另外,请拆除料盘单元 -M。( 详细请参考「4.9 料
盘单元 -M 的安装 / 拆除 」。)
〈TZ 轴皮带张力 (驱动部位)〉
1. 请测定皮带的张力。确认在跨距最长的皮带中央的测定值是 245.0±10.0Hz。
0(&6
ᅮԡ䫔
偅ࡼ䕈

5. 预防保养 MEC-NXTIIc-3.3S
270 NXT IIc 机械手册
2. 测定值超过上述的范围时请调整皮带张力。拧松马达的固定螺栓后,旋转调整螺栓进行
调整。
〈TZ 轴皮带张力〉( 料盘箱升降部位 )
1. 请测定皮带的张力。确认在跨距最长的皮带中央的测定值是 60.0±3.0Hz。
2. 测定值超过上述的范围时请调整皮带张力。
松开张紧轮的固定螺栓后,请旋转调整螺栓进行调整。
NXTMTU078Sa
调整螺栓
固定螺栓 7.84 Nm
1;70786D
രᇐ㷰ṉ
䈹᮪㷰ṉ
1P

MEC-NXTIIc-3.3S 5. 预防保养
NXT IIc 机械手册 271
〈TY 轴皮带张力〉( 离合器部位 )
1. 请测定皮带的张力。确认在跨度最长的皮带中央的测定值是 225.0±20.0Hz。
2. 测定值超过上述的范围时请调整皮带张力。
请移动张紧轮进行调整。
r+]
7<䕈Ⲃᏺ
1;70786
1;70786
ᓴ㋻䕂