NXT-IIc 机械手册.pdf - 第232页
MEC-NXTIIc-3.3S 5. 预防保养 NXT IIc 机械手册 207 3. 线性马达的轴处于常温后,请安装 保护盖罩。 X 轴的加油 4. 请用清洁的布,擦去 X 轴滚珠丝杆的污垢。 5. 同样,擦去 X 轴导轨的污垢。 6. 请使用润滑油枪将 X 轴滚珠丝杆的油嘴 (1) 加 0.3cc 的 NS7 或者 SRL。 7. 用清洁的布,擦去渗出的多余润滑 油。 8. 请使用润 滑油枪将 X 轴导轨的油嘴 (2) 各 加 0.…

MEC-NXTIIc-3.3S 5. 预防保养
NXT IIc 机械手册 207
3. 线性马达的轴处于常温后,请安装保护盖罩。
X 轴的加油
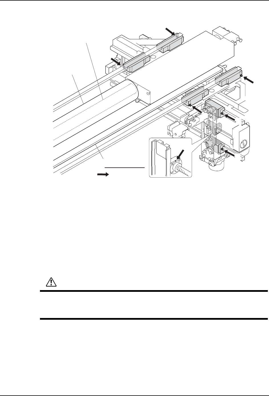
4. 请用清洁的布,擦去 X 轴滚珠丝杆的污垢。
5. 同样,擦去 X 轴导轨的污垢。
6. 请使用润滑油枪将 X 轴滚珠丝杆的油嘴 (1) 加 0.3cc 的 NS7 或者 SRL。
7. 用清洁的布,擦去渗出的多余润滑油。
8. 请使用润滑油枪将 X 轴导轨的油嘴 (2) 各加 0.9cc 的 NS7 或者 SRL。
9. 用清洁的布,擦去渗出的多余润滑油。
10.用手动将贴装工作头 (X 轴单元 ) 进行 10 次全程往复,使润滑油循环。
11.再次擦去从滚珠丝杆 · 轨道渗出的润滑油。
Y 轴的加油
12.用清洁的布,擦去从 Y 轴轨道渗出的润滑油。
13.请使用润滑油枪将 Y 轴导轨的油嘴 (2) 各加 0.9cc 的 NS7 或者 SRL。
14.用清洁的布,擦去渗出的多余润滑油。
01MEC-1011Sa
1
2
2
3
3
3
3
㒓ᗻᷛሎ
Ć⊼ᛣ䰘ⴔ⍺⒥⊍
Փ⫼⍺⒥⊍ᵾ
ֱᡸ༫
㒓ᗻ偀䖒䕈
注意
将 XY 机械手用手进行移动时,请抓住框架部分。抓住贴装工作头主体或者手柄时,请
不要对工作头施加压力。
请不要按压 X 轴齿轮盖罩。齿轮盖罩有可能变形。

5. 预防保养 MEC-NXTIIc-3.3S
208 NXT IIc 机械手册
15.用手动将 Y 轴单元进行 10 次全程往复,使润滑油循环。
16.再次擦去从轨道渗出的润滑油。
17.加润滑油后,请确认元件相机表面、吸嘴置放台、搬运轨道、Y 轴线性标尺、共面性传
感器用线性标尺等没有附着润滑油。如果附着润滑油,请用干净的没有线脚的干布擦
去。
注意 )· 线性标尺附着润滑油时,在 Y 轴动作时有时会发生错误。
· 擦去的时候,请不要用力过度以免损伤单元。
18.请取下线性马达轴的保护盖板。
19.插入模组。(参考 「5.1 模组的拉出 / 插入」)
注意
将 XY 机械手用手进行移动时,请抓住框架部分。抓住贴装工作头主体或者手柄时,请
不要对工作头施加压力。
请不要按压 X 轴齿轮盖罩。齿轮盖罩有可能变形。
01MEC-1010S
㒓ᗻ偀䖒䕈
݅䴶ᗻӴᛳ఼⫼㒓ᗻᷛሎ
㒓ᗻᷛሎ
