NXT 系统手册.pdf - 第174页
4. 生产 QD027-24 158 NXT 系统手册 空料盘自动排出功能的设定步骤 1. 编辑 Job。 打开 Job 编制器内的 Job, 并打开想要叠放的料盘元件的封装数据, 设定 Tray Type。 2. 在辅助软件的 [ 模组功能设定画面 ] 上,进行料盘吸取器的设定。 · [ 料盘吸取器设定 ]:[ 使用 ]

QD027-24 4. 生产
NXT 系统手册 157
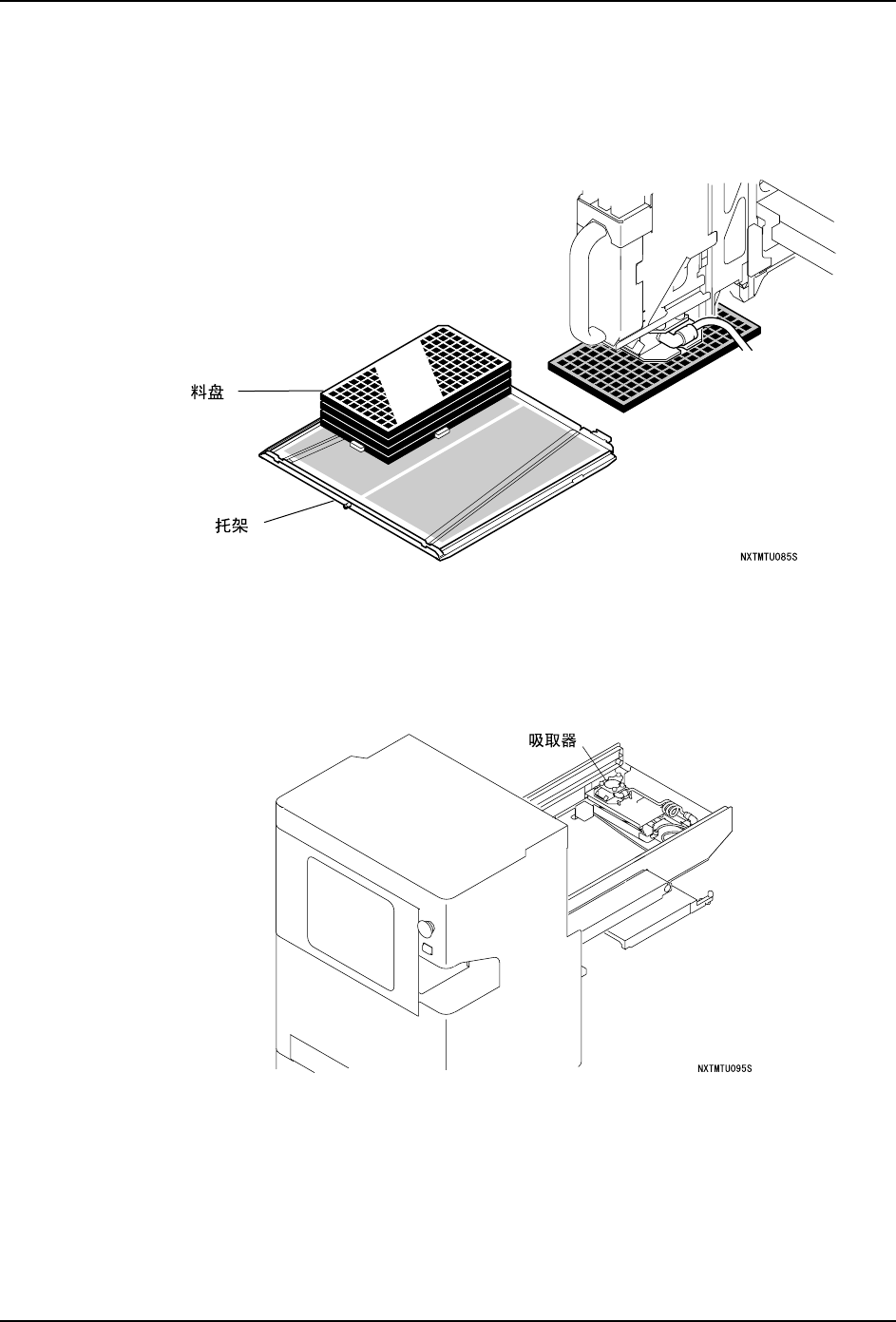
4.11.22 对应空料盘自动排出
在料盘叠放生产时,吸取器会自动排出空料盘。由于在不停止运转的情况下能够进行下一料
盘的元件供应,因此提高了操作者的作业效率。
备注 )空料盘自动排出功能在 NXT V3.61 以后版本中能够使用。
为了进行空料盘自动排出运转,需要以下列举的条件。
· Fuji Flexa V2.0.1 以后
· Fujitrax V3.08 以后 (使用 Fujitrax 时)
· 带有吸取器的料盘单元 -L
备注 )如果不使用吸取器,需要用手取除空料盘。
备注 )仅限于 H01,H02 工作头和 OF 工作头可以安装吸取器。

4. 生产 QD027-24
158 NXT 系统手册
空料盘自动排出功能的设定步骤
1. 编辑 Job。打开 Job 编制器内的 Job,并打开想要叠放的料盘元件的封装数据,设定 Tray
Type。
2. 在辅助软件的 [ 模组功能设定画面 ] 上,进行料盘吸取器的设定。
·[ 料盘吸取器设定 ]:[ 使用 ]

QD027-24 4. 生产
NXT 系统手册 159
关于空料盘自动排出功能运用时的异常
对吸取器运用时发生的异常和对策进行说明。
吸取器的安装·返回失败。或者,所安装的吸取器脱落。
由于某种原因,当发生吸取器从工作头上脱落等的错误时,就会在操作画面上显示异常向
导。
a. 打开机器的侧罩,确认吸取器的位置。确认不存在拉出料盘单元 -L 时气管被卡住等
的问题。
b. 按下操作面板的 OK 按钮,松开料盘单元 -L。
c. 请慢慢地拉出料盘单元 -L。
d. 请按下杠杆,打开吸取器固定用的爪。
警告
在拉出料盘单元 -L 之前,请打开机器的侧罩确认吸取器的位置。在吸取
器被卡在机器内的状态下拉出料盘单元 -L 时,就有可能损伤气管或电
缆。