3OM-GXH-1使用说明书.pdf - 第117页
3 - 36 0603 - 001 1.4 元件配置数据 (C01_03) C 设定控制指令。 Notice 若使用以下记载的控制指令之外的指令时 , 该步骤为无效。 -( 连字号 ) : 作为元件配置数据的步骤使用。 E : 表示元件配置数据的终止。 该步骤有效。 S : 作为元件配置数据 , 该步骤为无效。 X : 作为元件配置数据 , 该步骤为无效 , 表示数 据的终止。 (C01_04) 注释 设定每个 Fdr No. 的注释。…

3-350603-001
1.4 元件配置数据
(C01_01)
Fdr No.
表示元件配置数据的送料器品编号。
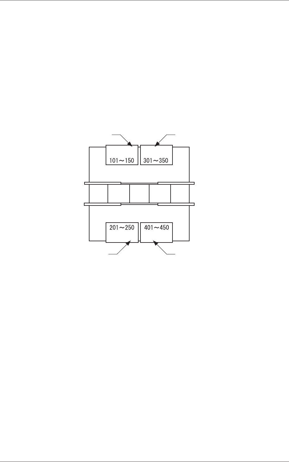
括号内的数字表示实际贴装元件的送料器编号。
送料器安装台 1 : 101 ~ 150
送料器安装台 2 : 201 ~ 250
送料器安装台 3 : 301 ~ 350
送料器安装台 4 : 401 ~ 450
工作区域 : 001 ~ 099
Fig.3C27
(C01_02)
元件 ID
设定元件 ID。
装置背面
装置正面
送料器安装台 1 送料器安装台 3
送料器安装台 2 送料器安装台 4

3-360603-001
1.4 元件配置数据
(C01_03)
C
设定控制指令。
Notice
若使用以下记载的控制指令之外的指令时 , 该步骤为无效。
-( 连字号 ) : 作为元件配置数据的步骤使用。
E : 表示元件配置数据的终止。
该步骤有效。
S : 作为元件配置数据 , 该步骤为无效。
X : 作为元件配置数据 , 该步骤为无效 , 表示数
据的终止。
(C01_04)
注释
设定每个 Fdr No. 的注释。
最多可设定 32 个字符。
可使用的字符有半角的英文 / 数字及符号。
Note
(a) 此注释的设定不影响装置的动作。
(b) 事先设定 Fdr No. 的元件情报,将便于操作。
(C01_05)
送料器固定
设定送料器设置位置的固定。
设定了送料器固定时 , 即使进行元件的插入 / 消除操作,Fdr
No. 与部品 ID 也将被固定。
不使用 : 不固定送料器的位置。
使用 : 固定送料器的位置。

3-370603-001
1.4 元件配置数据
(C01_06)
送料器替代
设定是否使用送料器替代机能。
不使用 : 不使用送料器替代机能。
使用 : 使用送料器替代机能。
(C01_07)
替代 Fdr No.
“送料器替代”设定为“使用”时 , 设定发生元件吸取连续异常时
预替代的 Fdr No.。
(C01_08)
元件数据库注释
显示元件数据库中被输入的注释。
(C01_09)
方向[°]、供给数据种类、宽度[mm]
显示元件数据库中设定的值。
(C01_10)
传送间距[mm]
显示元件数据库中设定的传送间距。
(C01_11)
元件使用量
显示对应一个分割线路板的使用量。