3OM-GXH-1使用说明书.pdf - 第122页
3 - 41 0603 - 001 1.5 贴装数据 (D02_04) P-No. 表示贴装数据 (P) 的步骤编号。 在该步骤编号行设定元件的贴装坐标和贴装角度等数据。 (D02_05) X、Y[mm] 设定元件的贴装坐标数据 X 和 Y。 设定对应贴装坐标基准 (No) 的坐标。 Y 2 Y 1 X 1 X 2 Y X Fig.3C30 贴装坐标基准 (No)

3-400603-001
1.5 贴装数据
(D02_03)
分割线路板识别
设定分割线路板识别机能。
不识别 : 不使用分割线路板识别机能。
识别 : 使用分割线路板识别机能 (2 点识别 )。
Y
1
X
2
Y
2
X
1
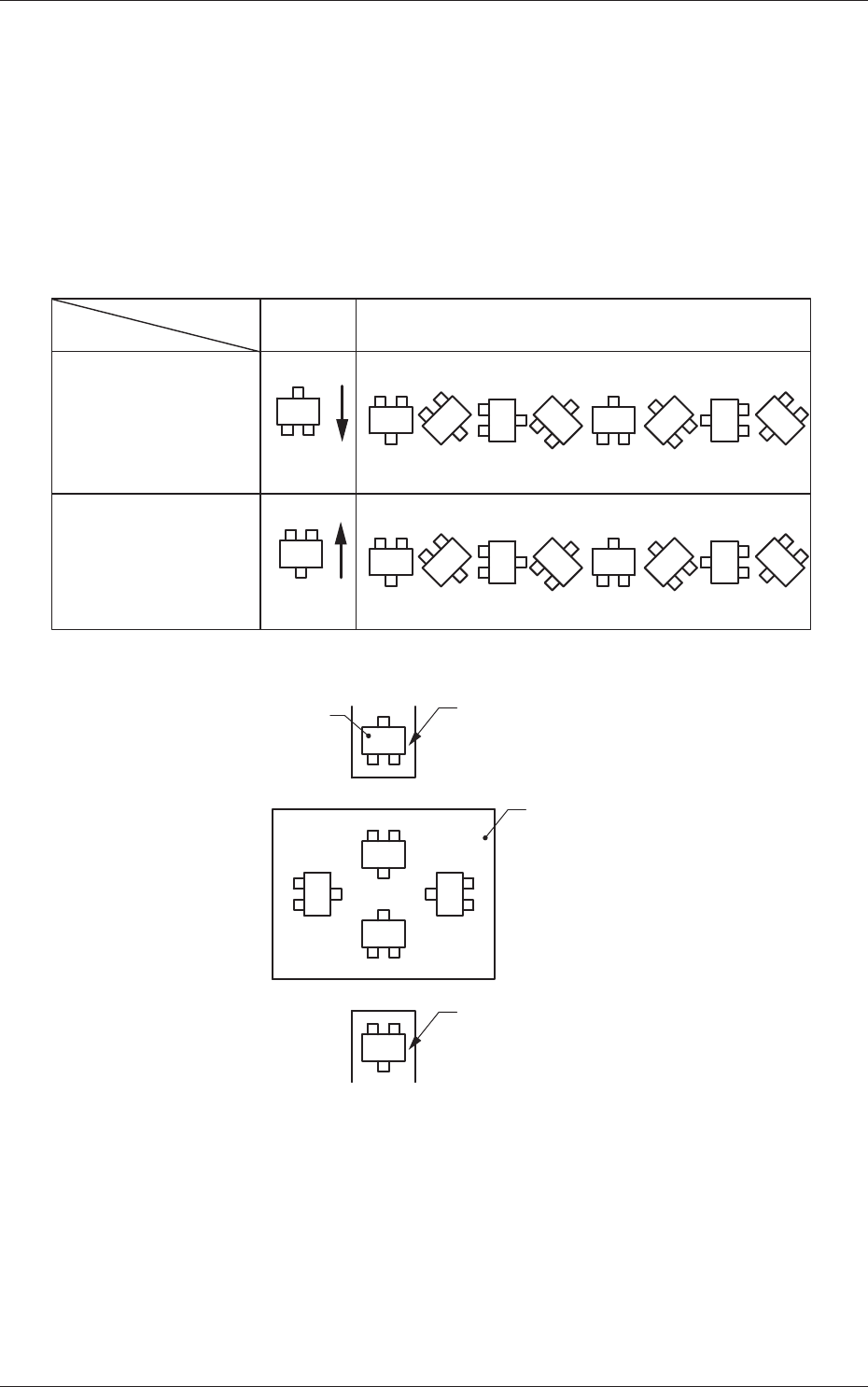
Fig.3C29 分割线路板识别示例
识别坐标 X1、识别坐标 Y1[mm]
以图形原点为基准 , 设定第 1 点的分割线路板识别坐标“X1”和
“Y1”。
识别坐标 X2、识别坐标 Y2[mm]
以图形原点为基准 , 设定第 2 点分割线路板识别坐标“X2”和“Y2”。
识别标记 FM1、识别标记 FM2
设定第 1 点分割线路板识别标记编号 FM1 和第 2 点标记编号 FM2。
请从设定在操作数据的线路板识别标记数据里的标记编号中进行
选择。
第 2 点的线路板识别标记
第 1 点的线路板识别标记
贴装坐标基准
图形原点

3-410603-001
1.5 贴装数据
(D02_04)
P-No.
表示贴装数据 (P) 的步骤编号。
在该步骤编号行设定元件的贴装坐标和贴装角度等数据。
(D02_05)
X、Y[mm]
设定元件的贴装坐标数据 X 和 Y。
设定对应贴装坐标基准 (No) 的坐标。
Y2
Y1
X1
X2
Y
X
Fig.3C30
贴装坐标基准 (No)

3-420603-001
1.5 贴装数据
(D02_06)
Z[°]
设定元件贴装角度。
根据带式送料器上元件的包装来决定贴装角度。
例 :
0゜
270゜
180゜
90゜
0° 45° 90° 135° 180° 225° 270° 315°
Fig.3C31
Z
( 角度 )
送料器安装台 1、3 时
送料器安装台 2、4 时
包装
包装
料带的
流动方向
料带的
流动方向
装置背面
送料器上元件的包装
带式送料器
带式送料器
线路板
装置正面