4OM-1345-009_w.pdf - 第74页
1-19 AKHEMT -ID 3.3 Inspection, Cleaning, and Lubrication Spots The following describes about the maintenance tasks required for each individual units. Reference Refer to "2. Maintenance Check List" for the mai…

1-18
AKHEMT-ID
3.2 Understanding of Maintenance Items on Each
Section
The following describes how to view the description of each fi eld (numbered
fi elds) in "3.3 Inspection, Cleaning, and Lubrication Spots".
View of Inspection, Cleaning, and Lubrication Spots
(Example of Identifi cation)
Main Air Pressure
Every
Day
Inspection
Required Time: 1 minute
Set Air Pressure 0.45 MPa (4.6 kgf/cm
2
)
Check to see that the air pressure is
Min. 0.4 MPa (4.1 kgf/cm
2
) while the
machine is running.
If not, adjust the air pressure.
[1]
[2] [4]
[3]
Fig. 4A9
[1]:
Maintenance Spot
[2]:
Cycle and Contents of Maintenance
[3]:
Details of Maintenance
[4]:
Approximate Time required for the Maintenance
(excluding the time required to detach or attach the cover, etc.)
0602-001
3.2 Understanding of Maintenance Items on Each Section

1-19
AKHEMT-ID
3.3 Inspection, Cleaning, and Lubrication Spots
The following describes about the maintenance tasks required for each
individual units.
Reference
Refer to "2. Maintenance Check List" for the maintenance items classifi ed
based on frequency.
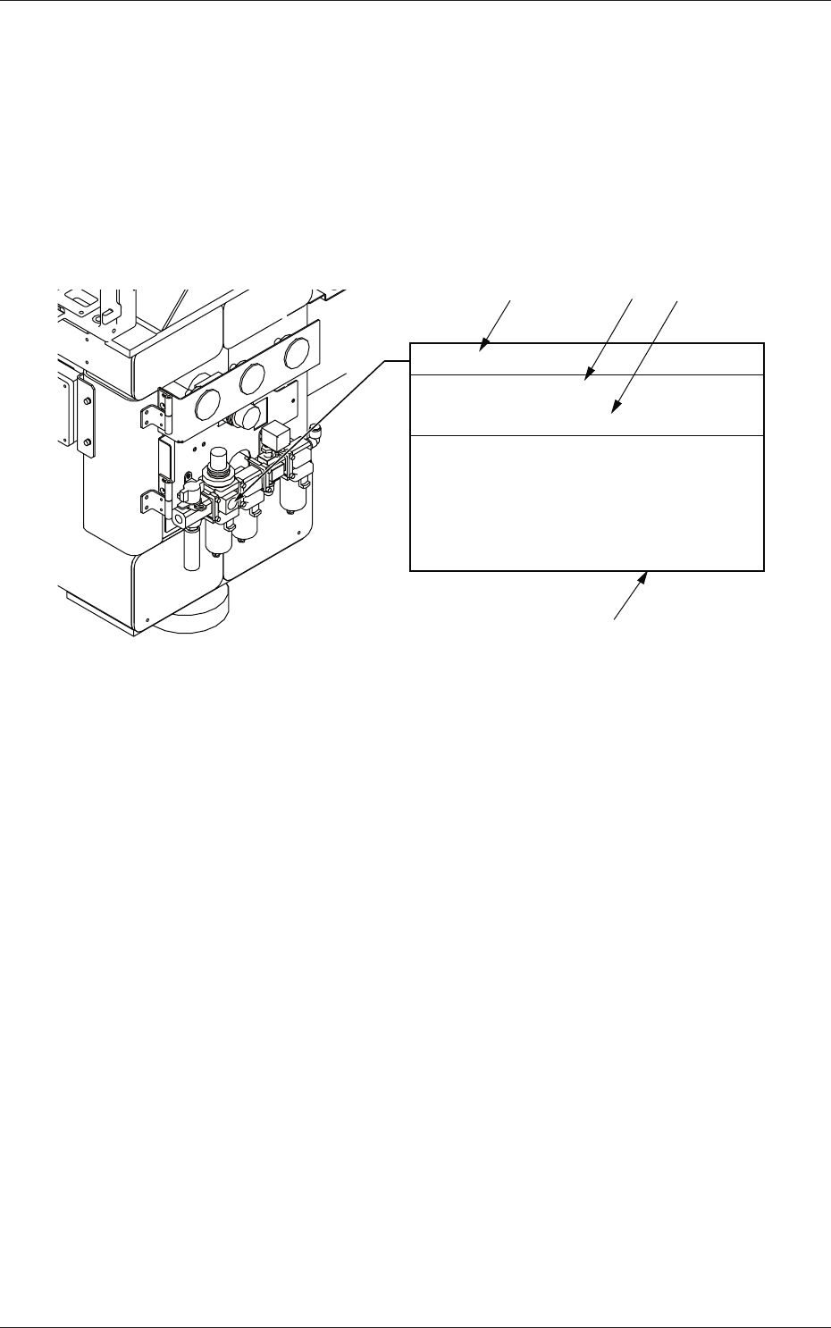
3.3.1 Air Source
Drain
Orange Button
Main Air Pressure
Every Day Inspection
Required Time: 1 minute
Set Air Pressure 0.45 MPa (4.6 kgf/cm
2
)
Check to see that the air pressure is
"Min. 0.4 MPa (4.1 kgf/cm
2
)" while the
machine is running.
If not, adjust the air pressure.
Drain
Every Week Cleaning
Required Time: 5 minutes
Place a container, etc., under the drain and
push the orange button located at the
bottom of each filter case to drain the
wastewater.
Air Blowing Pressure
Every Day Inspection
Required Time: 1 minute
Check to see that the pressure gauge reads
the initial setting (0.05 MPa (0.5 kgf/cm
2
)).
Do not change the pressure unless
necessary. The pressure is factory-adjusted
upon shipment of the machine.
Fig. 4A10
0602-001
3.3 Inspection, Cleaning, and Lubrication Spots

1-20
AKHEMT-ID
Filter
Every 3 Months Cleaning
(1) Detach the air filter.
While keeping the black part of the cover being slid down, rotate it
one-fourth.
(2) While rotating the filter holder counterclockwise, pull it out.
(3) Pull out the filter and blow air to it for cleaning.
(4) Insert the filter back in place and turn the filter holder clockwise to attach.
(5) Attach the filter cover.
When the filter has become defective, replace it with a new one.
Filter Holder
Required Time: 5 minutes
Note
Fig. 4A11
0602-001
3.3 Inspection, Cleaning, and Lubrication Spots