AIM 系统手册 QD049-04.pdf - 第170页
5. 换线 QD049-04 156 AIM 系统手册 4. 请放下夹杆,使料盘单元 -M 固定在料站托架上。 5. 两侧搭载时,请按照相同的步骤将料盘 单元 -M 安装到位 置 A 侧。料盘单元 -M 的导向插 入到料站 10 中。 以上完成料盘单元 -M 的安装。 备注 ) 料盘单元 -M 的安装能够使用专用的更换推车 (开发中)来进行。 注意 安装后,请不要在料盘单 元 -M 的上部及侧面施加不要的负荷。除了影响 元件的贴装精度之…

QD049-04 5. 换线
AIM 系统手册 155
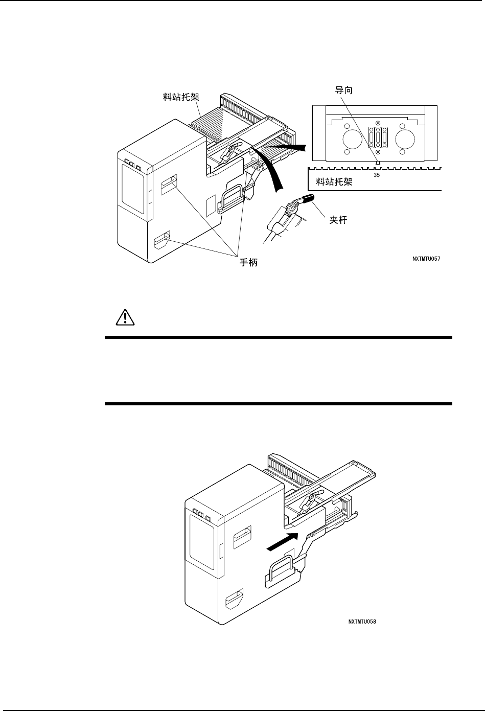
2. 将料盘单元 -M 放置到料站托架的料站上。
a. 请将料盘单元 -M 的导向放置到料站 35 中。(安装在位置 B 的情况)
b. 此处,使夹杆处于提起状态。
3. 就这样水平推入料盘单元 -M。请用力推入直到料盘单元 -M 的通信插头插入机器侧的插座
为止。
警告
2 位操作者共同进行料盘单元 -M 的搬运。此时,请紧紧握住左右的手柄。
料盘单元 -M 落下除了造成机器的破损,有可能还会受伤。
请不要将手随意地靠近料盘单元 -M 与料站托架之间。有可能夹伤手指。

5. 换线 QD049-04
156 AIM 系统手册
4. 请放下夹杆,使料盘单元 -M 固定在料站托架上。
5. 两侧搭载时,请按照相同的步骤将料盘单元 -M 安装到位置 A 侧。料盘单元 -M 的导向插
入到料站 10 中。
以上完成料盘单元 -M 的安装。
备注 ) 料盘单元 -M 的安装能够使用专用的更换推车 (开发中)来进行。
注意
安装后,请不要在料盘单元 -M 的上部及侧面施加不要的负荷。除了影响
元件的贴装精度之外,有可能损伤装置。

QD049-04 5. 换线
AIM 系统手册 157
关于对应了料盘单元 -M 的机器构成
如果应用料盘单元 -M,请设定成以下的机器构成。
对应工作头
对应
吸嘴更换器
备注
单侧搭载时 H01,H04, OF
H01:NC08B, NC03B
H04:NE18A
OF:NF08A
请在位置 B 上设置。
两侧搭载时 H01, H04
H01:NC8LB
H04:NE12A
需要不良元件排出轨道 M。