c900773.R02_EN.pdf - 第19页
1 Installation 1-5 Installing Mounter Do not touch term inals of electric com ponents when the power is on to prevent electric shock and m ounter damage. Make sure to ground the mount er to prevent electric shock. Note o…

1 Installation
1-4
Production Line
To align your assembly line, first install the heaviest unit. Then install peripheral units using the first unit as
a reference.
Reference
Loader Mounter Reflow Oven Conveyor Unloader
To transfer the PCB (printed circuit board) smoothly, clearance between units are quite important. Be sure
that the clearance between units is 5 mm or less as below figure shows. Adjust the height of the downstream
unit a little lower (0-0.5 mm) so that the PCB is transferred smoothly.
0 - 0.5mm
5mm or less
Downstream Upstream
側

1 Installation
1-5
Installing Mounter
Do not touch terminals of electric components when the power is on to prevent electric shock and mounter
damage.
Make sure to ground the mounter to prevent electric shock.
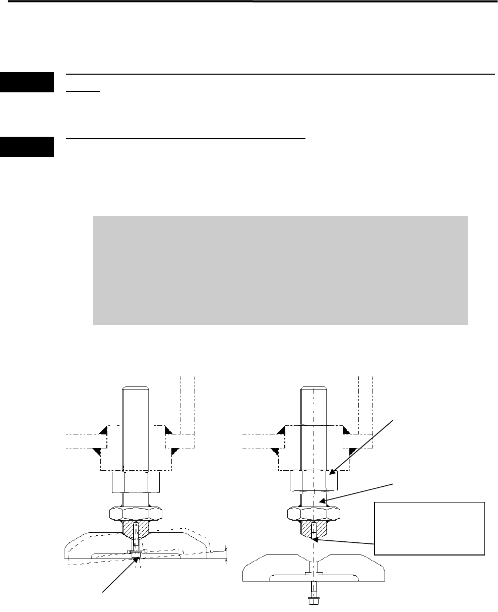
Note on Installation
It is normal that the adjust foot can be slightly inclined (within 2-degree range).
Do not tighten the bolt forcedly trying to fix the foot.
When you move and/or install the mounter, be careful not to apply excessive
force on the adjust foot. This may cause the screw of the adjust foot to break.
When placing the mounter on the floor, be sure that the mounter is kept
horizontal.
Warning
Warning
2°
If excessive force is
applied, the screw may
break at this point.
Mounting Screw
Nut
Adjust foot

1 Installation
1-6
ACTION:
① Locate the mounter to the specified place.
② Remove the followings: the bolt that locks the head in the X-axis beam and the metal fitting that
prevent X-axis beam movement to the Y direction. After removed the bolts and fittings, confirm that
the head can move to the X direction and the X-axis beam can move to the Y direction manually.
Note; Please keep the bolts and metal fittings, they will be necessary if moving the machine.
X Axis Fixing Bracket
Fixing Screw
Head Fixing Bracket
Y Axis Fixing Bracket
(two brackets at both sides)
Fixing Screws