JUKI_KE-2050-2060_MAINTE_CH维修要领.pdf - 第60页
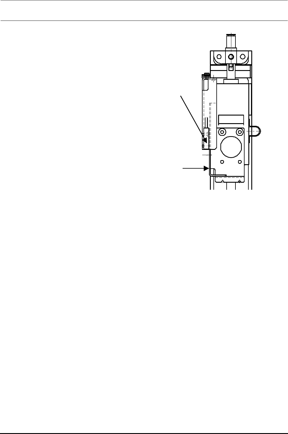
Rev2.00 维修调整要领书 2-4. 激光传感器的更换 2-4-1. MNLA的更换 更换了MNLA之后,需要重新输入机关的MS参数。 (请参照2-9项。) 更换后,请用清洁的棉纱清扫MNLA的激光窗口。 ⑳ 1)卸下插头,取下安装螺丝 (3处)。 2)安装时请按照相反的顺序进行。 ※ 安装之前,请尽可能清除掉传感器托架部粘着的粘结剂。 ※安装的传感器下面,用脱脂纸擦传感器下面后,安装好。 ※安装传感器时,把传感器销插入支架的定位孔…

Rev2.00
维修调整要领书
Z传感配件IC
A
Z传感器
<程序>
① 测定Z传感器和Z传感器配件IC的间
隙。 上下移动Z传感器配件,确认上下
均在0.9±0.2mm的范围中。(A
尺寸)
② 如果在规格外时,请拧松Z传感器座的安
装螺丝,调整Z传感器的位置。另外,上
下移动IC θ马达,如果间隙量变化时,
请拧松安装螺丝调整 Z 传感器配件的方
向。
2-16

Rev2.00
维修调整要领书
2-4.激光传感器的更换
2-4-1.MNLA的更换
更换了MNLA之后,需要重新输入机关的MS参数。
(请参照2-9项。)
更换后,请用清洁的棉纱清扫MNLA的激光窗口。
⑳
1)卸下插头,取下安装螺丝 (3处)。
2)安装时请按照相反的顺序进行。
※安装之前,请尽可能清除掉传感器托架部粘着的粘结剂。
※安装的传感器下面,用脱脂纸擦传感器下面后,安装好。
※安装传感器时,把传感器销插入支架的定位孔,定位后进行固定。
⑳
※在传感器安装螺丝 (3个)上涂上锁定漆242后,用转矩5.1 Nm 进行固定。
⑳
图2-4-1
2-17

Rev2.00
维修调整要领书
2-18
2-4-2.FMLA的更换
FMLA 更换后,需要重新输入激光的MS参数。(请参照2-9项。)
更换后,用清洁的棉纱等擦LA传感器的激光窗口。
1) 卸下扩散器座安装螺丝①②(4个),从传感器上拔下 LA 电缆线插头③(3个)。
2) 卸下传感器安装螺丝④(4个),取下传感器。
3) 安装时,按照相反的程序进行。
4) 安装扩散器座时,转动吸嘴套轴IC 360 度,进
行调整,不让吸嘴套碰到扩散器的φ17孔,然后
用扩散器安装螺丝进行固定。
※安装传感器时,把销子插入传感器定位孔,定位
后拧紧固定。
※在传感器安装螺丝④(4个)上涂上锁定漆2
42后,用转矩2.3 Nm 拧紧固定。
图2-4-2
图2-4-3
③
①
② ④