XP141E 系统手册SYS-XP141-1.0S.pdf - 第24页
安全指南 Edition 1.0 9 XP-141E 系统手册 4. 安全标示 表示使用机器时的注意事项的标示牌 贴在本机器的如下图所示的位置, 请仔细阅读, 确保安 全操作。 1 8 8 4 1 4 1 6 9 7 5 1 1 1 1 2 2 3 3 3 3 7 9 XP1MO001CM 1 1 1 2 3 4 5 6 7 8 9 Never insert your hand inside an operating machine. …

安全指南
XP-141E 系统手册 8Edition 1.0
警告
不要使安全开关失效,不要使门处于打开状态。
z 不要在机器的安全开关的连线被短路,MFU 处于被取下的状
态下进行机器的运转。
有可能被机器的可动部分卷入,是非常危险的。在取出 MFU
后,一定要关闭后才能进行作业。
z 不要将安全开关的连线短路,或将安全开关拆下,使其安全
功能无效。在安全开关无效时,如果他人误按下启动按钮,
有被机器卷入的危险。
在移动 MFU 时,确认前进方向上没有人员或是障碍物。
z 如果撞到人员或是物品,有人员受伤或是物品损坏的可能性。
不要将手离开 MFU,或是以过快速度将其推动。
z 如果撞到人员或是物品,有人员受伤或是物品损坏的可能性。

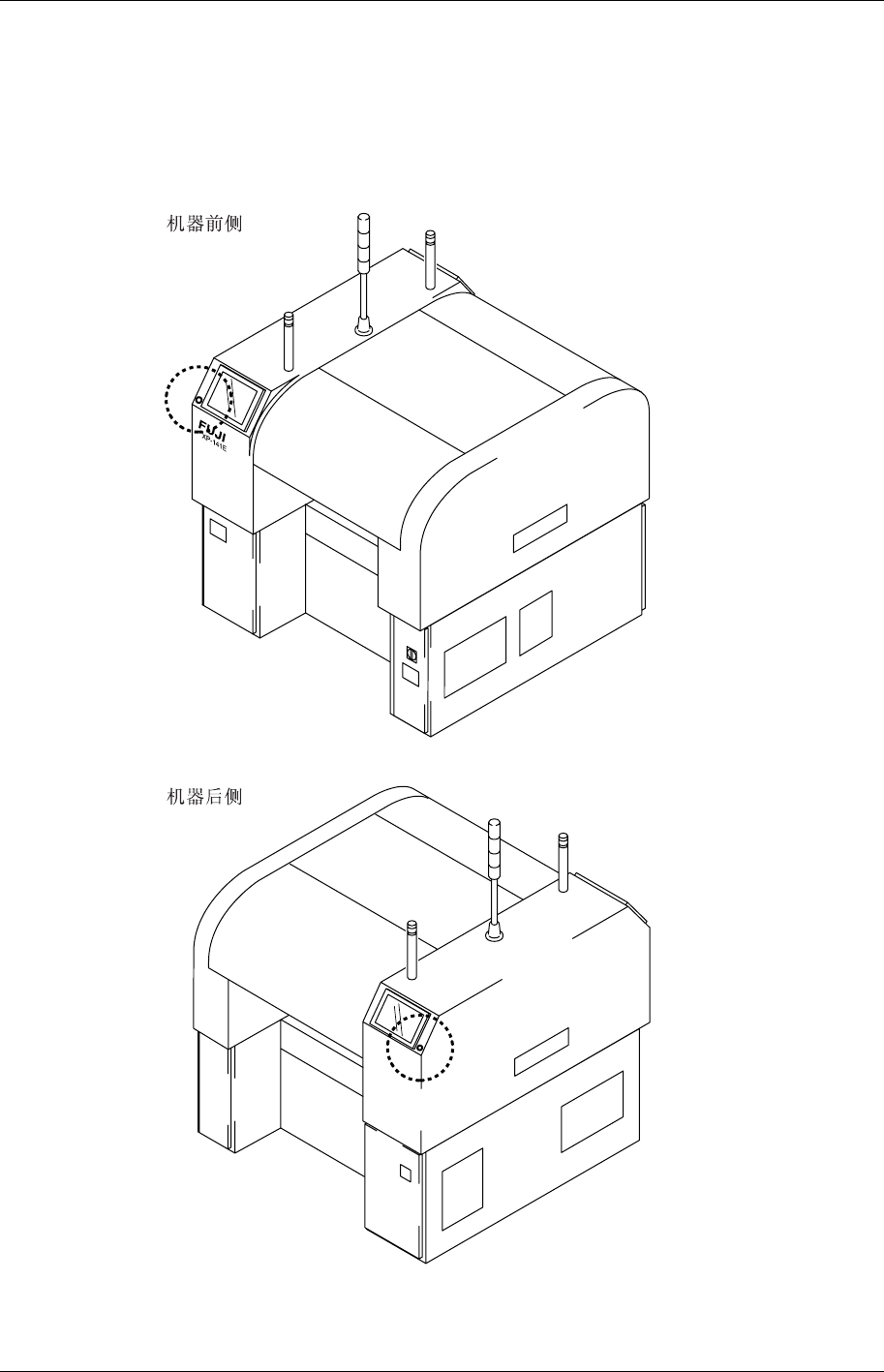
安全指南
Edition 1.0 9 XP-141E 系统手册
4. 安全标示
表示使用机器时的注意事项的标示牌贴在本机器的如下图所示的位置,请仔细阅读,确保安
全操作。
1
8
8
4
1
4
1
6
9
7
5
1
1
1
1
2
2
3
3
3
3
7
9
XP1MO001CM
1
1
1
2
3
4
5
6
7
8
9
Never insert your hand
inside an operating machine.
Moving parts may cause injury.
DANGER
ETHRNET
NETWORK
FERRITE CORE (ACCESARY)
ZCAT3035-1330, TDK
When connecting the network
cable, attach the ferrite
core as shown in the figure.
<
CAUTION
>
Tighten the monitor fixing screws to
a torque of 8kgÆcm Over tightening the
screws may damage the liquid crystal
display.
+
VH1
-
VH1TRIG*
DANGER
Be sure to turn off the power
and wait five minutes before
replacing the flash lamp.

安全指南
XP-141E 系统手册 10 Edition 1.0
5. [紧急停止]按钮
发生紧急情况时,请按下任何一个红色的[紧急停止]按钮,使机器停止。[紧急停止]按钮的
位置如下图所示。
XP1MO002CM