JM-20_EPU使用说明书.pdf - 第143页
EPU 使用说明书 第 4 章 制作生产程序 4- 92 (3) 贴片前 测定元件 面 高度 在 元件贴片前 通过 H MS 对贴片 点 上有无异 物进行检查 的功能 。 插入 元件 的贴片时, 如果插入 失败, 元件 可能倒在 下一个进行贴片的 贴片 点上。 在倒下元件 的上 面继续进行元件 贴片 ,会 造 成 元件 或吸嘴 破损, 为了 避免这种情 况而使用 的功能。 除插入元件以 外 ,还可以用 于在元件贴片 前确认贴片 点 上有…

EPU 使用说明书 第 4 章 制作生产程序
4-91
◆限制事项
HMS 如下图所示发光部、受光部存在差异,相邻元件的高度较高,则无法正常测量。
测量对象为 25mm 以上时,要使用 HMS2 进行测量。
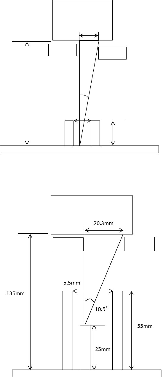
100mm
20.3mm
25mm
11.5°
5.75mm
投光部
受光部
发光部
受光部
受光部
发光部

EPU 使用说明书 第 4 章 制作生产程序
4-92
(3) 贴片前测定元件面高度
在元件贴片前通过 HMS 对贴片点上有无异物进行检查的功能。
插入元件的贴片时,如果插入失败,元件可能倒在下一个进行贴片的贴片点上。在倒下元件的上
面继续进行元件贴片,会造成元件或吸嘴破损,为了避免这种情况而使用的功能。除插入元件以
外,还可以用于在元件贴片前确认贴片点上有无异物。
测定检查个数的测定位置,任何测定位置超过判定值时,判定为有异物,停止生产。
判定值为对基板数据的基板高度的判定值。
输入的测定位置的偏移量值,指定为距贴片点的偏移量。
测定位置的偏移量值与检查点的对应关系如下图所示。
※要对同一元件的所有贴片点进行上述检查,因此会对工效造成影响。
将检查设为 [是]时,可以通过编辑程序的环境设置设定默认值。
默认值为检查个数 4、判定值 1.000、偏移量 X 90(%)、偏移量 Y 90(%)。
◆限制事项 1
测定点在基板的图形边缘时,无法通过 HMS 正确检测。倾向为检测出比实际测定点的高度
更高的数值。
因此,请进行微调,使测定位置不要在图形的边缘。
◆限制事项 2
请参见贴片后元件面高度测量的 HMS 限制事项。
贴片前元件面高度测量不能使用 HMS2。
画面上 显示元件和检
查位置。
选择[是]则
设定为默认
值。
测定位置
4
测定位置
3
测定位置
1
测定位置
2
偏移量值
EPU 使用说明书 第 4 章 制作生产程序
4-93
(4) 设置元件方向判断
可以对每个元件设置元件方向判断的功能。
圆型供料器时,因为不能判定吸取元件时元件朝背面还是正面,因此对有方向性的元件,需要有
方向判断功能。
根据使用吸嘴的类型(吸取吸嘴/夹式吸嘴),识别的方法有所不同。
可以选择判断(是/否)、判定方式(引脚/封装/倒角)、 阈值、余量、判断高度、判断角度、吸
取补正高度(仅吸取吸嘴)。
・判断
可以选择使用/不使用元件方向判断功能。
・判断方式(吸取吸嘴)
引脚 :通过定心页面的激光高度识别贴片头的旋转,之后通过元件方向判断设置中的吸
取补正高度旋转贴片头,对吸取位置进行补正后判断方向。
有关激光高度,请参考「4-1-4-2-3 定心」。
封装 :在元件方向判断设置的吸取补正高度旋转贴片头进行识别,之后根据判断高度,旋
转贴片头进行识别,从而判断方向。
倒角 :在元件方向判断设置的判断高度旋转贴片头进行识别,之后在判断角度下旋转贴片
头,在贴片头处于静止的状态下进行识别,从而判断方向。
・判断方式(夹式吸嘴)
引脚 :在定心页面中的激光高度下,旋转贴片头进行识别,进行方向判断。
有关激光高度,请参考「4-1-4-2-3 定心」。
封装 :在元件方向判断设置的判断高度旋转贴片头进行识别,从而判断方向。
倒角
:在元件方向判断设置的判断高度旋转贴片头进行识别、之后在判断角度下旋转贴片
头,在贴片头处于静止的状态下进行识别,从而判断方向。