维_修_手_册(AI插件机AVK).pdf - 第168页
AV K 2 B 维修手册 7.4 安装 WH 轴卷线 图 1 将卷 线 安装到 导线驱动 装置 皮 带 挡块 *a 尼 龙衬 片 使卷 线 相互 对 准成一直 线 导线驱动 装置 上框架的上表面 绕线 卷 10 圈(弯曲部分 ) 1 2 3 4 5 6 7 8 9 10 挡块 * b 尼 龙衬 片 第一 步 : 将卷线 ( 水平部分) 安装到卷 线驱动装置 上 1. 牢牢地将 卷线(水 平部分) 固定到带 有挡 块*A的卷线驱动 装置…

AVK2B
维修手册
7.4 安装 WH 轴卷线
7.4 安装 WH 轴卷线
章节管理编号:D76MCC-83-3N0-A0
7. 4
安装
WH
轴绕线
所需工具
工具 用途
精密螺丝起子(Phillips) 拆下D副连接器固定螺杆
T 型扳手(适用于M4螺帽)长 短 拆下罩盖,固定螺钉
扣带T181 (Tyton co.) 用于将卷线固定到插入装置
小扳手 罩盖
钳子 切割扣带
= 注 =
将供料器移动到两端,并再在结束前工作之前,关闭电源。
以下说明了安装WH轴卷线的各步程序
步骤综
述
步骤
1
步骤
2
步骤
3
步骤
1
步骤
1
插入装置
(原点位置)
插入装置
(270
º
旋转位置)
D76MCC-83-3N0-AO 7.4-1

AVK2B
维修手册
7.4 安装 WH 轴卷线
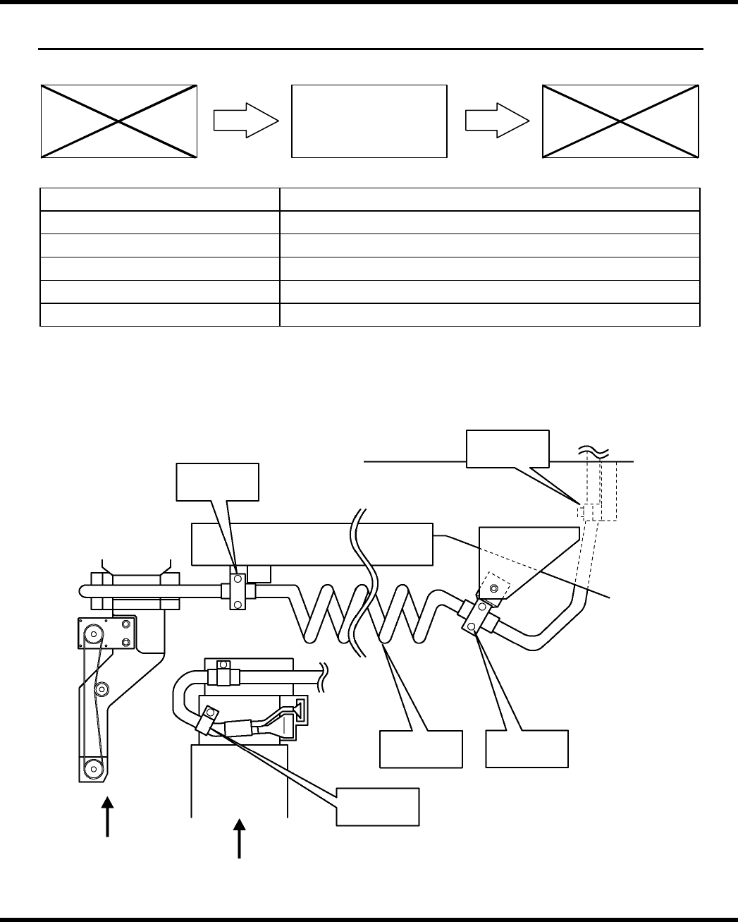
图
1
将卷
线
安装到
导线驱动
装置
皮
带
挡块
*a
尼
龙衬
片
使卷线相互对准成一直线
导线驱动装置
上框架的上表面
绕线
卷
10
圈(弯曲部分
)
1
2
3
4
5
6
7
8 9
10
挡块
*
b
尼
龙衬
片
第一步:将卷线(水平部分)安装到卷
线驱动装置上
1.牢牢地将卷线(水平部分)固定到带有挡
块*A的卷线驱动装置皮带轮上。
安装螺钉:M4
× 18,SW)
挡块
卷线标记位置
挡块
使圆点标记朝向设备前方
图
2
卷线标记和区块固定位置
2.将卷线尾端(卷曲部分)牢牢地固定到带
挡块*b的托架上。
(安装螺钉:M4
×18,SW)
= 注 =
务必对准卷线标记,并将电缆固定
好,使挡块固定位置示意标记“·”
的一侧朝向前方。
(图1和2)
= 注 =
将卷线固定在两个位置上以后再
拆除固定卷线卷曲部分的扣带。
7.4-2 D76MCC-83-3N0-AO

AVK2B
维修手册
7.4 安装 WH 轴卷线
图
3
插入装置
270
度旋转位置
尼龙片
X=Max. 20
铁罩
Y
=
约
.
40 mm
弯曲角
度
R
6 N
尼龙罩
绝缘带
连接器架
标记
安装位置
编带固
定装置
第二步: 固定插入装置一侧的线圈
1.使插入装置相对于原始位置旋转270º。
2.使卷线标记保持朝向设备前方,一边将卷
线牢牢地固定到插入装置。(图3)(安装
螺钉:M4
×18,SW)
3.将WH轴卷线连接器安装到插入装置一侧的
连接器托架上。
4.使用尼龙罩固定卷线,使Y方向尺寸不超出
40 mm(近似),而X方向尺寸不超出20mm
(近似)。(图3)
(安装螺钉:M4
×18,SW)
= 注 =
电缆面线转弯时,务必成小角度R弯
曲。
5.使用扣带将卷线固定在插入装置的编带固
定架上。
使用钳子切割剩余的扣带。
(扣带:T181)
图
4
将卷线安
装
到上
框
架
区块,尼龙片
上框架的上表面
约. 240mm
A
前视图
B
后视图
WH轴电机驱动电缆
Rib
区
块
*b
第三步:连接卷线并将其(水平部分)
固定到 WH轴电动导线驱动器
1.使卷线标记保持朝向设备前方,一边将卷
线(水平部分)牢牢地固定到插入装置。
= 注 =
在固定位置,将卷线固定在离挡块
(*b) 240mm 处。(图4-A)
(安装螺钉:M4
×18,SW、FW)
= 注 =
在供料器缩回两端后,从设备后部
开始进行工作。
2.将卷线连接到从 WH 轴电机驱动器引出
的电缆上。(图 4-B)
D76MCC-83-3N0-AO 7.4-3