维_修_手_册(AI插件机AVK).pdf - 第205页
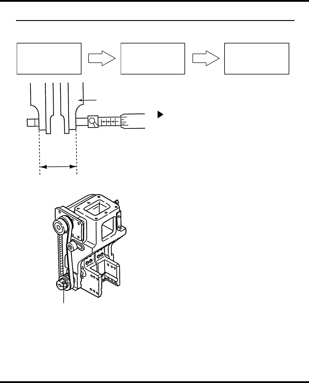
AV K 2 B 维修手册 7.20 插入导轨 原点调节 7.20 插入导轨原点调节 章节管理编 号:D76MCC-83 -1S0-A0 Insertion guide 6.58 + 0.02 mm Pulle y bol t = 准备 = 1. 千分尺 插入导轨原点 调节 1. 接通电源 [O N] 并返回原点 2. 在NC轴移动 检测中,旋转头至 90º 。 3. 检查副操纵盘上 的 “插件头伺 服电机关 闭”开关是 否断开[OFF…

AVK2B
维修手册
7.19 插件导轨对称调节
螺栓
A
固定
螺
钉
松开(插入方向)
滑轮
螺
栓
10.如超出规定的范围,则应拧松皮带轮螺
栓。
1
1.拧松定位螺丝。
12.调节螺栓 A 的对称性。
13.拧紧定位螺丝。
14.固定皮带轮螺钉(2 件),并推入插件
滚珠丝杆, 以防止松动。
15.再次重复 1 - 9 各步操作,并检查对称
性。
7.19-2 D76MCC-83-1R0-AO

AVK2B
维修手册
7.20 插入导轨原点调节
7.20 插入导轨原点调节
章节管理编号:D76MCC-83-1S0-A0
Insertion guide
6.58 + 0.02 mm
Pulle
y
bol
t
= 准备 =
1.千分尺
插入导轨原点调节
1.接通电源[ON]并返回原点
2.在NC轴移动检测中,旋转头至90º
。
3.
检查副操纵盘上的 “插件头伺服电机关
闭”开关是否断开[OFF]。
4.合上插件头开关中的“插件头制动”开
关[OFF]。
5.将循环定时器的手动旋钮旋转至230—
288º。
6
.使用千分尺检查所插入导轨的外观尺
寸。
= 指标 =
外观尺寸:6.58
± 0.02mm
= 注 =
务必不使用强力将千分尺压向插
入导轨,这可能会使插入导轨变
形。
7.如超出规定的范围, 则应拧松皮带轮螺
栓(2件)。
8.调节外观尺寸,旋转滚珠丝杆。
9.向内按压滚珠丝杆皮带轮,使部件之间
无间隙,并拧紧螺栓。
10.将循环定时器的手动旋钮旋转至
351—356º。
11.断开插件头开关中的“插件头制动”开
关[OFF]。
12.合上副操纵盘上的“插件头伺服电机
OFF”开关[ON]。
12. 检查原点传感器是否接通[ON]。
D76MCC-83-1S0-AO 7.20-1
7. 22
旋转夹(
T
轴)装置调节
7. 20
插入导轨原
点调节
7. 19
插入导轨对
称性调节
插入导轨
滑轮螺栓

AVK2B
维修手册
7.20 插入导轨原点调节
= 备忘录 =
7.20-2 D76MCC-83-1S0-AO