维_修_手_册(AI插件机AVK).pdf - 第178页
AV K 2 B 维修手册 7.6 安装 WA 轴卷线 图 4 将卷 线 安装到上框 架 绕线 主机 电缆 D- S U B 连 接器的 连 接固定螺 钉 孔洞 第三步:将卷 线连接并固定 到主装置导 线上。 1. 打开处在设备 中央位置的 门,并 拆下内罩 盖。 2. 将连接卷 线一侧的 主装置电 缆,穿过X Y工作台 座 框架上的孔洞, 进入设备。 3. 连接卷线 和主机电 缆(图 4) 7.6-4 D76MCC-83- 3H0-A…

AVK2B
维修手册
7.6 安装 WA 轴卷线
图 3将连接器安
装
到砧座
扣
带
安装位置明
细
*1
扣
带
连接器托架
*2
扣
带
* 2
* 1
不高于连接器托架上
表面
固定电缆,使电缆连
接到连接器插入座。
第二步:安装卷线和连接器
1.将WA轴卷线连接器安装到插入装置一侧的
连接器托架上。
= 注 =
使用扣带固定卷线侧线,使其不高于
连接器托架顶部表面。
2.将砧座装置连接器连接到按第一步已经安
装限的连接器上。
3.将卷线固定到带扣带的插入装置的固定架
上。用钳子剪掉剩余的扣带。
(扣带:T181)
4.使用扣带将砧座装置一侧的电缆固定在连
接器的托架上,使电缆在托架内布线。使
用钳子剪除剩余的扣带。(图3中的*1和*2)
*1:使用扣带只固定-XWAE2电缆。
= 注 =
固定电缆时,应将电缆连接到-XWAE2
连接器插座的合适位置。
*2:使用扣带固定-XWALM2、-XWAE2和
-XWAM2的电缆。
D76MCC-83-3H0-AO 7.6-3

AVK2B
维修手册
7.6 安装 WA 轴卷线
图
4
将卷线安装到上框架
绕线
主机
电缆
D- SUB
连接器的连接固定螺钉
孔洞
第三步:将卷线连接并固定到主装置导线上。
1.打开处在设备中央位置的门,并拆下内罩盖。
2.将连接卷线一侧的主装置电缆,穿过XY工作台座
框架上的孔洞,进入设备。
3.连接卷线和主机电缆(图 4)
7.6-4 D76MCC-83-3H0-AO

AVK2B
维修手册
7.7 砧座装置消耗部件更换
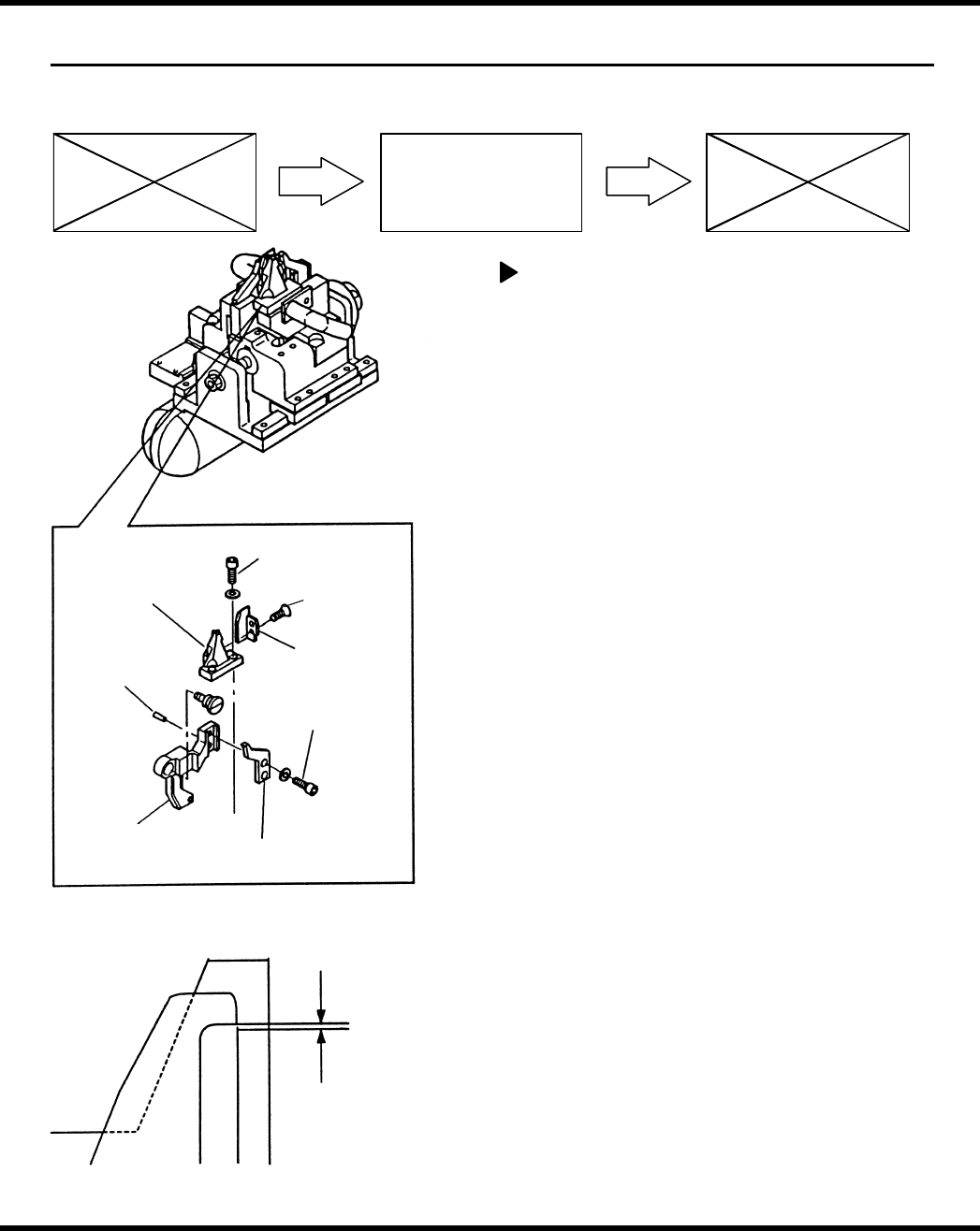
7.7 砧座装置消耗部件更换
章节管理编号:D76MCC-83-K30-A0
0.01 -
0.03m
控制杆
紧钳基座
暗销
紧钳基座螺栓
销
孔
罩盖
割刀和紧钳螺栓
割刀和紧钳
砧座装置消耗部件更换
1.接通电源[ON]并返回原点
2.将砧座从机器上拆下。
3.拧松折弯器基座螺钉(2件)。并拆下折
弯器基座。
4.拧松暗销(2件)。并拆下罩盖。
5.拧松折弯器基座螺钉(2件)。拧松暗销
(2件)。从其它和并拆下。
6.在新折弯器基座上安装罩盖,并拧紧暗
销(2件)。
7.拧松切割器和折弯器螺栓(2件)。并拆
下一侧的切割器和折弯器。
8.更换切割器和折弯器。
9.拧紧切割器和折弯器螺栓(2件)。
10.检查折弯器基座和切割器和折弯器之
间的间距。
= 指标 =
间距:0.01-0.03mm
11. 调节切割时间并更换割刀和折弯器。
D76MCC-83-K30-AO 7.7-1
7. 7 砧座装置消
耗部件更换