维_修_手_册(AI插件机AVK).pdf - 第188页
AV K 2 B 维修手册 7.11 砧座装置 折弯器角度 调整 = 备忘录 = 7.11-2 D76MCC-83- 2U0-AO

AVK2B
维修手册
7.11 砧座装置折弯器角度调整
7.11 砧座装置折弯器角度调整
章节管理编号:D76MCC-83-2U0-A0
15 -
轴杆底部
圈垫
= 准备 =
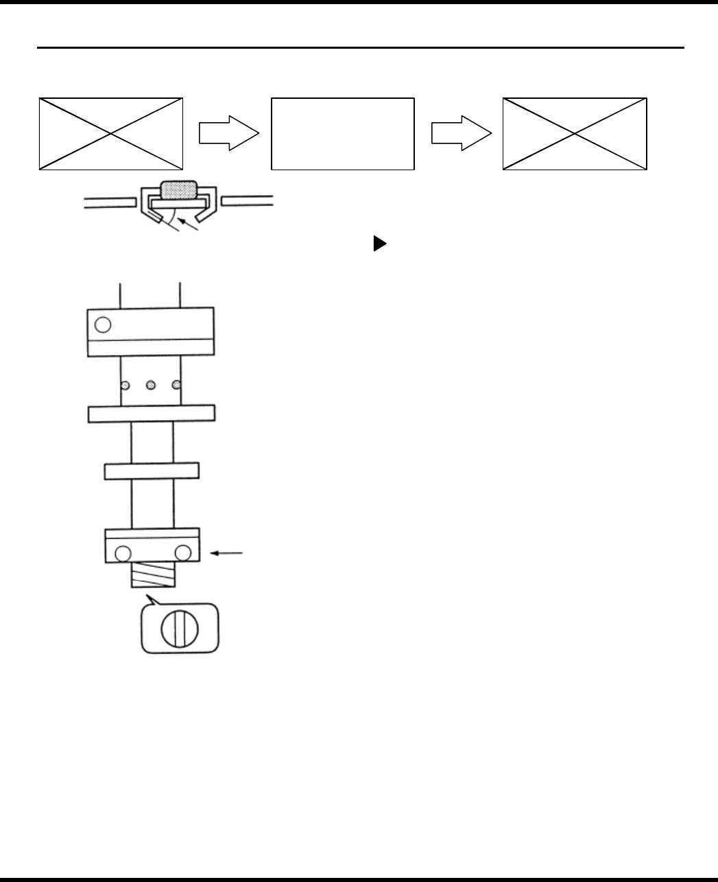
1.承插式传动销
砧座装置折弯器调节
1.插入电子元件,检查折弯器角度。
= 指标 =
角度范围:在15º-30º 以内。
2.如超出规定的范围,则应拧松砧座下侧
圈垫。
3.将承插式传动销安置在轴杆底部凹槽
内,用来调节折弯器的角度。
4.再次检查折弯器角度。
D76MCC-83-2U0-AO 7.11-1
7. 11 砧座装置紧
钳角度调整

AVK2B
维修手册
7.11 砧座装置折弯器角度调整
= 备忘录 =
7.11-2 D76MCC-83-2U0-AO

AVK2B
维修手册
7.12 砧座装置中心对称调节
7.12 砧座装置中心对称调节
章节管理编号:D76MCC-83-2V0-A0
Set
A
Anvil unit center s
y
mmetr
y
Pulle
y
Screw
= 准备 =
1.千分表
2.砧座装置中心对称检查夹具。
砧座装置中心对称调节
1.接通电源【ON】并返回原点
2.将砧座装置中心对称检查夹具安装到砧座
装置。
3.在坚硬的模块上,以折弯器基座(A面)为
基准表面,将千分表放置于位置A.
4.将千分表归零。
5.使用夹具关闭砧座装置,在相反一侧,检
查折弯器基座位置。
= 指标 =
中心对称点:≤ ± 0.02mm
6. 如超出规定的范围,则应拧松皮带轮螺
栓。
7. 拧松于对面一侧卡住轴承的安装螺钉。
8. 旋转轴承校准螺钉,以调节中心对称点。
9. 再次检测中心对称点。
D76MCC-83-2V0-AO 7.12-1
7. 12
砧座装置
中心对称调节
滑轮
固定螺丝
螺丝
砧座装置中心
对称检测夹具