维_修_手_册(AI插件机AVK).pdf - 第207页
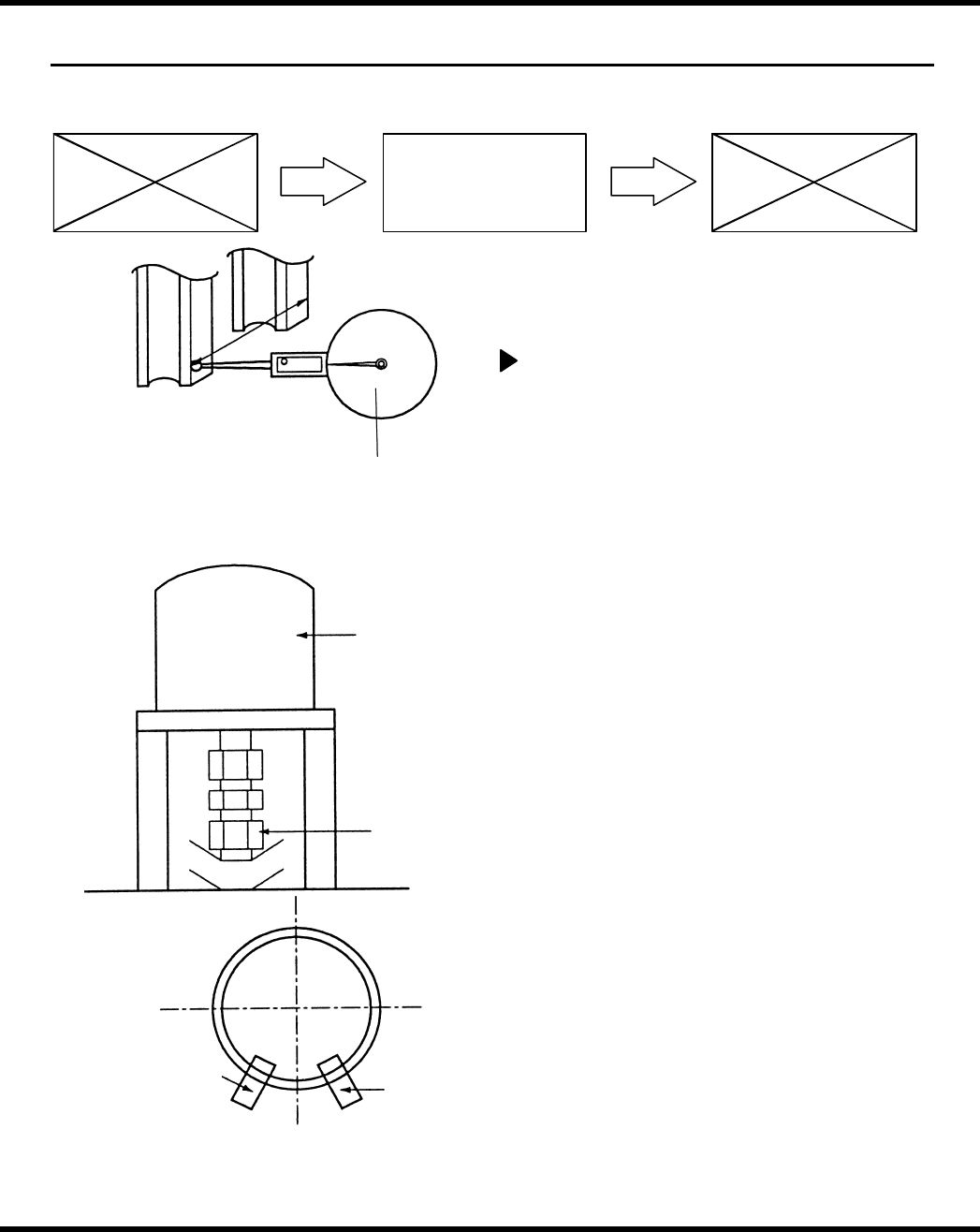
AV K 2 B 维修手册 7.21 插入导轨 平行度调节 7.21 插入导轨平行度调节 章节管理编 号:D76MCC-83 -2B0-A0 Origin detection sensor Dial gauge θ Η αξισ motor N cup θ Η αξισ (+) limit = 准备 = 1. 千分表 插入导轨平行 度调节 1. 接通电源[ON]并 返回原点 2. 合上主操纵盘上 的“ F2 ”开关(NC轴移 动检测)[…

AVK2B
维修手册
7.20 插入导轨原点调节
= 备忘录 =
7.20-2 D76MCC-83-1S0-AO

AVK2B
维修手册
7.21 插入导轨平行度调节
7.21 插入导轨平行度调节
章节管理编号:D76MCC-83-2B0-A0
Origin detection
sensor
Dial gauge
θ Η αξισ
motor
N cup
θ Η αξισ
(+) limit
= 准备 =
1.千分表
插入导轨平行度调节
1.接通电源[ON]并返回原点
2.
合上主操纵盘上的“F2”开关(NC轴移
动检测)[ON]。
3.
为 WH 轴输入数值2600,并使其移动。
4.
断开副操纵盘上的“插件头伺服电机
OFF”开关[OFF]。
5.
断开插件头开关中的“插件头制动”开
关[OFF]。
6.
将循环定时器的手动旋钮旋转至
230—288º 。
7.
关闭XY轴的驱动电源[OFF]。
8.
将磁架安装到XY工作台上。
9.
使千分表接触插入导轨侧面,并检查平
行度。
= 指标 =
平行度:0 ± 0.03mm
10.如超出规定的范围, 则应拧松 θH 轴
N 轴座。
11.再次检查平行度。
12.检查原点传感器是否接通[ON]。
= 注 =
在拧松 N 型联轴器时,如果在电
机侧施加负载,则可能导致驱动设
备错误。
D76MCC-83-2B0-AO 7.21-1
7. 21 插入导轨平
行度调节
千分仪
轴电机
原点检测传感器
N
型联轴器
轴(+)
极限

AVK2B
维修手册
7.21 插入导轨平行度调节
= 备忘录 =
7.21-2 D76MCC-83-2B0-AO