维_修_手_册(AI插件机AVK).pdf - 第230页
AV K 2 B 维修手册 7.31 JW 装置过滤器 调节 = 备忘录 = 7.31-2 D76MCC-83- 3B0-AO

AVK2B
维修手册
7.31 JW 装置过滤器调节
7.31 JW 装置过滤器调节
章节管理编号:D76MCC-83-3B0-A0
= 准备 =
1.喷嘴位置调节夹具
JW 装置过滤器调节
1.合上主操纵盘的“菜单”开关[ON].
2.从主操纵盘选择“F1”
→“F5”。
3.通过主操纵盘上的转盘式键,设定跳线
器。
4.检查跳线器的线性度。
5.如跳线在垂直方向上不稳定,则应使用
偏心距滚轴进行水平和垂直调节。
= 注 =
旋转托架和偏心距滚轴之间的
切刀部件,以调节线性度。
= 注 =
当JW垂直方向不稳定时,则应
上下移动导轨进行调节。
6.拧紧偏心距滚轴螺母,进行水平和垂直
的调节。
7.再次检查平行度。
D76MCC-83-3B0-AO 7.31-1
7. 31 装置过滤器
调节
Guide
Eccentricity roller for
vertical adjustment
Eccentricity roller
for horizontal adjustment
导轨
偏心距滚轴进行垂直调节
偏心距滚轴进行水平调节

AVK2B
维修手册
7.31 JW 装置过滤器调节
= 备忘录 =
7.31-2 D76MCC-83-3B0-AO

AVK2B
维修手册
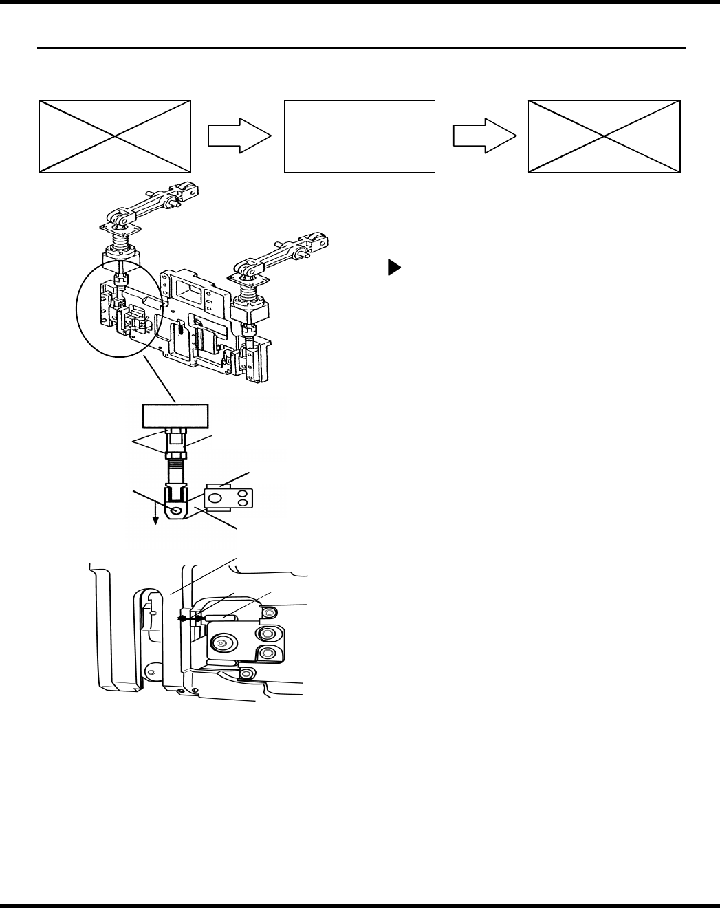
7.32 编带切刀位置调节
7.32 编带切刀位置调节
章节管理编号:D76MCC-83-1X0-A0
Adjustment
nut
Nuts
Joint
Lever
Tape cutter frame
Block
a
Block
= 准备 =
1.千分表
编带刀具位置调节
1.接通电源[ON]并返回原点
2.合上副操纵盘的“插件头伺服电机
OFF”开关[ON]。
3.将循环定时器的手动旋钮旋转至90
度。
4.断开副操纵盘的“插件头伺服电机
OFF”开关[OFF]。
5.拧松螺母。
6.旋转调节螺母,直到编带刀具框架和
模块之间的间距为7.3mm时停止。
7.拧紧螺母。
8.检查编带刀具从完全开启到完全关
闭的模块行程为7
±0.1mm。如行程超
出规定的范围,则应拧松螺母并调节
(a)的尺寸。
9.同样,可调节背部螺母,使模块行程
位于7
±0.1mm以内。
D76MCC-83-1X0-BO 7.32-1
7. 32 编带切刀
位置调节
调整螺母
螺母
连接器
挡块
杠杆
编带切刀框架
挡块