维_修_手_册(AI插件机AVK).pdf - 第241页
AV K 2 B 维修手册 7. 37 摄像机清洁 处理 7.37 摄像机清洁处理 章节管理编 号:D76MCC-83 -7F0-A0 7. 37 相机清 洁处 理 棉制 拭 子 ( 约 15 — 20c m ) 跳 线 装置 插入装置 在识别印刷线路 板孔过程中,如发生 “搜 索区域不存在2 孔识别孔” , 则可能是识别 摄像机镜头表面 有玷污。镜头表面清 洁程 序如下所示 摄像机清洁程 序 1. 准备清洁 工具。 准备棉制拭 子 (…

AVK2B
维修手册
7.36 印刷电路板摄像机补偿值调节
= 备忘录 =
7.36-2 D76MCC-83-E90-AO

AVK2B
维修手册
7.37 摄像机清洁处理
7.37 摄像机清洁处理
章节管理编号:D76MCC-83-7F0-A0
7. 37
相机清洁处
理
棉制
拭
子
(
约 15
—
20cm
)
跳线装置
插入装置
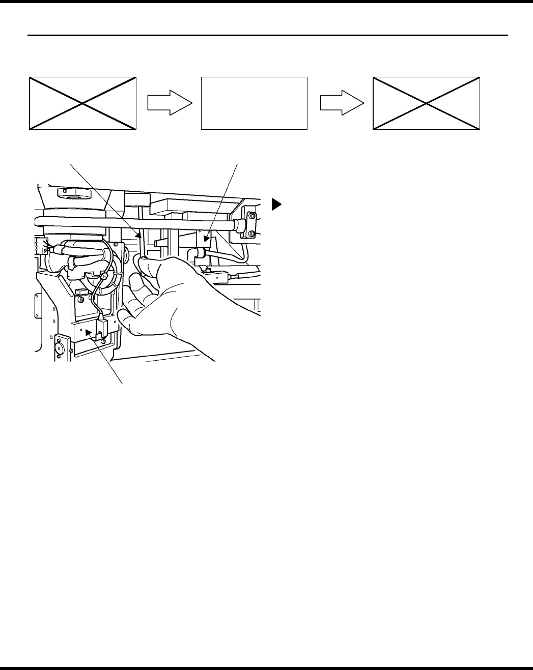
在识别印刷线路板孔过程中,如发生“搜
索区域不存在2孔识别孔”,则可能是识别
摄像机镜头表面有玷污。镜头表面清洁程
序如下所示
摄像机清洁程序
1.准备清洁工具。
准备棉制拭子(约 15-20 cm 长)或
者顶端有软布的小棍。
2.将设备返回原点,然后切断伺服锁定
系统或电源。
3.打开设备前罩盖。
4.识别摄像机安装在反射镜正上方,而
反射镜安装在当插入装置右上方(从
设备前方正视时)。从底部插入由“第
一步”中准备的棉制拭子或小棍,并
擦揩、清洁镜头表面。
5.再次进行印刷线路板孔识别操作,检
查直到无“搜索区域不存在2孔识别
孔”显示出现。
= 注 =
当从识别摄像机底部插入棉
制拭子时,注意切勿使外围
设备的油脂黏附在拭子顶端
上。
D76MCC-83-7F0-AO 7.37-1

AVK2B
维修手册
7.37 摄像机清洁处理
= 备忘录 =
7.37-2 D76MCC-83-7F0-AO