维_修_手_册(AI插件机AVK).pdf - 第212页
AV K 2 B 维修手册 7.23 更换旋转 夹头和置中 夹头 = 备忘录 = 7.23-2 D76MCC-83- 1U0-AO

AVK2B
维修手册
7.23 更换旋转夹头和置中夹头
7.23 更换旋转夹头和置中夹头
章节管理编号:D76MCC-83-1U0-A0
E
型 垫圈
螺栓
夹头
(
左
)
夹头
(
右
)
弹簧
销子
销子
滚子
垫圈
气缸基座块
销子
滚子
置中夹头
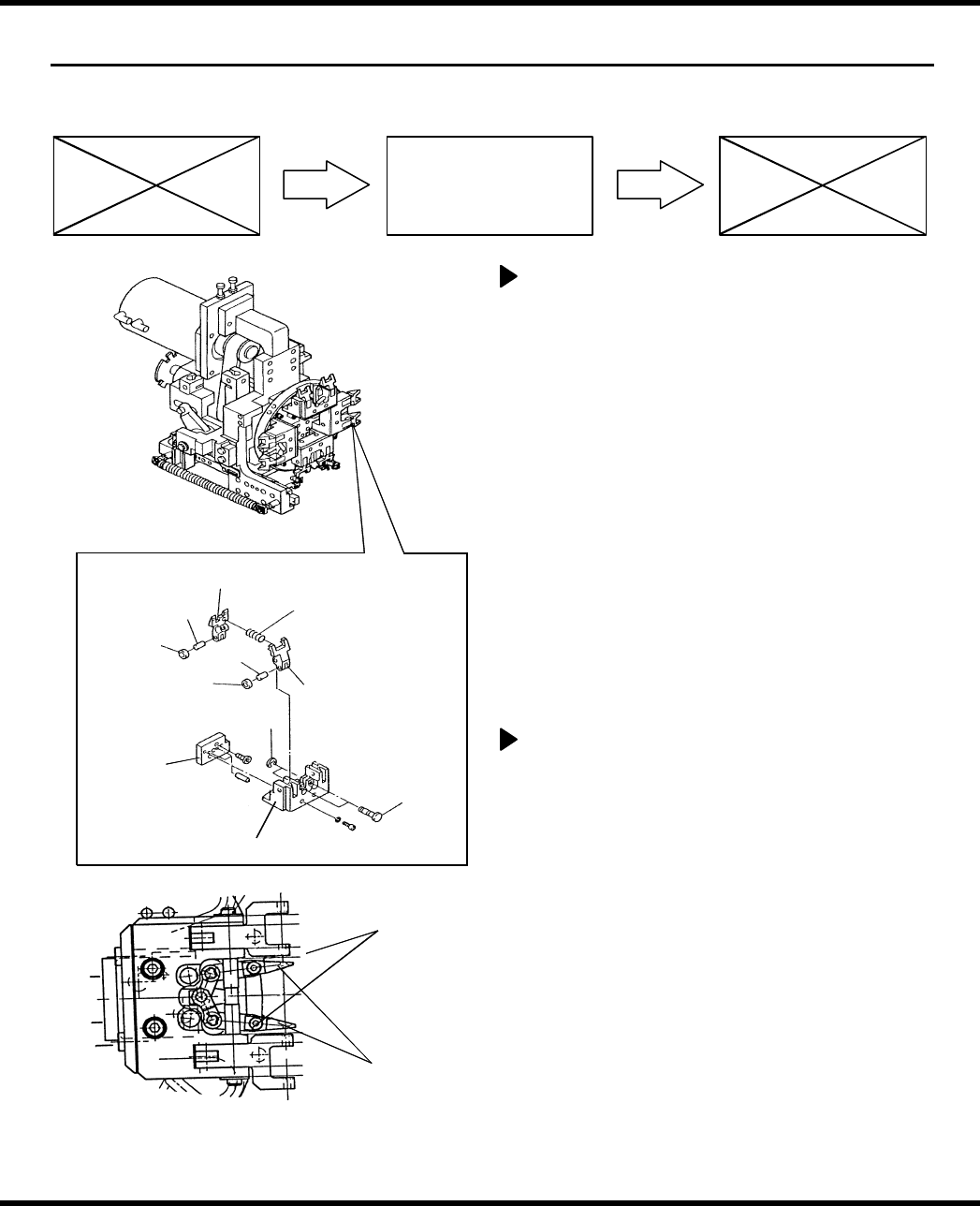
更换旋转夹头
1.断开电源[OFF]
2.朝向你自己的方向,移动夹装置。
3.拆下E 型圈垫并拔出销子。
4.将夹头拔出。
= 注 =
在进行以上操作时,确保不掉落弹
簧。
5.更换夹头。
6.将弹簧安置于夹头的孔洞中。
7.在插入夹头本体内的滑动部件上,涂一
层薄薄的油脂。
8.用手关闭夹头,并检查弹簧的弹力是否
能打开夹子。
9.插入夹头。
10.插入销子,并用 E 型圈垫固定销子。
更换置中夹头。
1.断开电源[OFF]
2.朝你自己的方向,移动夹头装置。
3.拧松螺栓并拆下置中夹头。
4.更换置中夹头。
5.拧紧螺栓。
D76MCC-83-1U0-AO 7.23-1
7. 23
更换
旋转夹
和置中夹

AVK2B
维修手册
7.23 更换旋转夹头和置中夹头
= 备忘录 =
7.23-2 D76MCC-83-1U0-AO

AVK2B
维修手册
7.24 旋转检测传感器调节
7.24 旋转检测传感器调节
章节管理编号:D76MCC-83-3A0-A0
传
感器托
架
传感器
No.1
No.2
No.3
1
号传感器
2
号传感器
3
号传感器
传感器托架
螺
栓
旋转检测传感器调节
1.接通电源[ON]并返回原点
2.检查1—3号传感器指示灯是否亮。
3.使用手动点动检查方法,使T轴在±2º范
围之内旋转,并检查1—3号传感器指示灯是否亮。
4.转动旋转夹(每次转90º),检查旋转夹
检测是否正确。
5.在每个位置,使T轴在 ±2º 范围之内旋
转,并检查1—3号传感器指示灯是否亮。
No.1 No.2 No.3
No.1(0º)
亮 亮 亮
No.2(90º)
灭 亮 亮
No3(180º)
亮 灭 亮
No4(270º)
亮 亮 灭
6.如检测不正确,则应拧松传感器托架螺
栓(2件)。
7.移动托架直到传感器检测正确。
= 注 =
由于传感器托架是内置式装置,因此不
可能单独调节每个传感器的位置。
8.拧紧传感器托架螺栓(2件)。
9.转动旋转夹,检查旋转夹检测是否正确。
D76MCC-83-3A0-B0 7.24-1
7. 24 旋转检测传
感器
调节