维_修_手_册(AI插件机AVK).pdf - 第218页
AV K 2 B 维修手册 7.26 部件检测 传感器调节 = 备忘录 = 7.26-2 D76MCC-83- 2X0-AO

AVK2B
维修手册
7.26 部件检测传感器调节
7.26 部件检测传感器调节
章节管理编号:D76MCC-83-2X0-A0
S
U
X
X
Timer action
switchover
switch
R
U
N
S
I
F
S
E
T
N
O
N
O
P
D
O
N
F
X
-
7
7
O
F
F
S
T
B
O
U
T
Mode
switchover
switch
Sensitivity set
button ON button
OFF button
Operation lamp
(Red)
Stability lamp
(Green)
Fiber sensor
Bracket
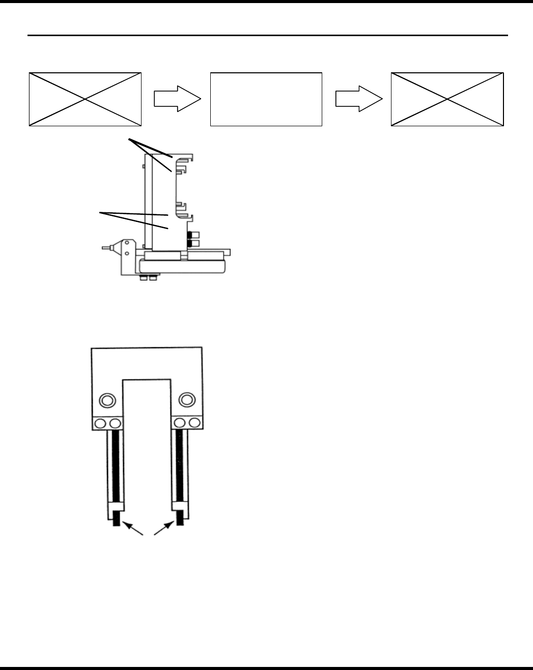
υ 部件检测传感器调节
1.将转换开关模式设定为“SET”。
2.在设备停止运行的情况下(不中断部件
检测),按<OFF>键(敏感度设置按钮)。
3.在设备运行的情况下(中断部件检测),
按<ON>键(敏感度设置按钮)。
4.将模式转换开关转换到‘SIF’档。
5.在设备停止运行的情况下(不中断部件
检测),按<OFF>键(敏感度设置按钮)。
6.将模式转换开关转换到‘RUN’档。
= 注 =
这将使敏感度设置按钮无效,所以即
使你不小心按下此按钮,设置的敏感
度仍不会改变。
7.将定时器作用转换开关设置到‘OPD’
档。
= 注 =
确认固定定时器大约运行40ms。
= 注 =
为了牢固地使光纤传感器定位好,可
将光传感器顶端和托架顶端对齐,并
将其安装在一起,因此两侧都成为上
表面。同时,确认传感器光发射装置
和接受装置位于中央位置(和安装部
件相比)。
D76MCC-83-2X0-AO 7.26-1
7. 26
部件检测
传感器调节
灵敏度设置按钮
[ON]
OFF 按钮
托架
光纤传感器
定时器运行转换开关
操作指示灯
(红)
操作指示灯
(绿)
模式转换开关

AVK2B
维修手册
7.26 部件检测传感器调节
= 备忘录 =
7.26-2 D76MCC-83-2X0-AO

AVK2B
维修手册
7.27 滑动夹档块和部件检测传感器的清洁处理
7.27 滑动夹档块和部件检测传感器的清洁处理
章节管理编号:D76MCC-83-1V0-A0
滑 动夹挡块
活塞
传
感器
υ滑动夹档块的清洁处理
1.接通电源[ON]并返回原点
2.合上副操纵盘的“滑动块横动”开关[ON]。
3.一边切换副操纵盘的“改变传送跨距”开关
[ON]/[OFF]时,一边使用浸泡在酒精或者清漆
中的棉纱球,清洁滑动夹档块和活塞。
υ部件检测传感器清洁处理
1.接通电源[ON]并返回原点
2.将供料器移动到备用位置。
3.使用浸泡在酒精或者清漆中的棉纱,清洁供料
器。
D76MCC-83-1V0-AO 7.27-1
7. 27 滑动夹档块
和部件检测传感器
的清洁处理