维_修_手_册(AI插件机AVK).pdf - 第88页
AV K 2 B 维修手册 4.1 控制系统 配置 检测 LED 出错状态 说明 处理方法 位置出错 (PER) 24 3 位置偏差超过规定值。(超过 NO.23 参数设定的允 许范围) 检查电机是否按照 NC 的命令旋转。 检查扭矩监视器是否 显示极限输出扭 矩。 检查“扭矩限值”参 数 是否正确设定。 检查增益设定是否正 确。 偏差计数溢出 (OF) 29 15 位置偏移脉冲大 于 2 27 (134217728)。…

AVK2B
维修手册
4.1 控制系统配置
检测 LED 出错状态 说 明 处理方法
31(CEl)
NC 数据不能修改。(响应:约 2ms)
32(CE2)
同一光回路中的驱动器地址设置
重复。
33(CE3)
出错状态
不能复原
数据出错
(奇偶出错或蜂鸣编码出错.)
检查光缆。
检查驱动器地址设置。
调整光通信设备的发光能
量。
通信出错
(CE)
97(CE4) 7
RS-232C 通信出错
检查驱动器与计算机之间
的通信电缆。
过载(OL)
16 2
电机或驱动器过载。
检查机器(是否有任何过
度的摩擦
)。
延长加速/减速的时间或
减轻负载。或增加电机/
驱动器的容量。
超速保护
(OS)
Z4 15
电机转速超过系统参数规定的转
速限值。
检查是否存在任何超速命
令。
检查是否存在因增益调整
不确当而引起的加速超调
量。
EEPROM 故 障
(EPE)
36 15
电源接通时从 EEPROM 读取的数据
被破坏。
重新设置所有参数并将它
们写入
EEPROM
第二限位
(SL)
38 l
第二限位输入信号断开。
检查工作台是否超越限
位。
检查传感器电缆。
CPU 故障
(CPE)
88
出错状态
不能复原
检测到监视定时器出错(响应:约
6.6ms)
微型计算机存
储器出错
(CPE)
88 15
微型计算机中的存储器出错
其它出错
(CPE)
88 15
系统自诊断功能判断出可能存在
某些其它故障。
切断电源再接通电源。如
仍然出现相同的出错,则
表明该系统可能有故障。
应立刻切断电源。
D76MCC-14-020-BO 4.1-11

AVK2B
维修手册
4.1 控制系统配置
检测 LED 出错状态 说明 处理方法
位置出错
(PER)
24 3
位置偏差超过规定值。(超过
NO.23 参数设定的允许范围)
检查电机是否按照 NC
的命令旋转。
检查扭矩监视器是否
显示极限输出扭矩。
检查“扭矩限值”参数
是否正确设定。
检查增益设定是否正确。
偏差计数溢出
(OF)
29 15
位置偏移脉冲大于 2
27
(134217728)。
检查电机是否按照 NC
的命令旋转。
检查扭矩监视器是否
显示极限输出扭矩。
检查“扭矩限值”参数是
否正确设定。
检查增益设定是否正确。
超电压
(OV)
12 8
主电路直流电压超过规定值。
检查具有代表性的电阻器
是否脱开。
延长减速的时间。或减
少负载惯性。
电压低
(LV)
13 9
主电路的直流电压或(控制电路)
的初级直流电压低于规定值。(规
定值为:
主电路 DCl20V 保持 20ms 以上
DCl20V
控制电路 DCl50V)
检查供电电压是否在允许
范围以内。
(注意是否出现因接通电
源时冲击电流引起的电
力不足或电压降。还应注
意电源是否有一相断
路 )。
4.1-12 D76MCC-14-020-BO

AVK2B
维修手册
4.1 控制系统配置
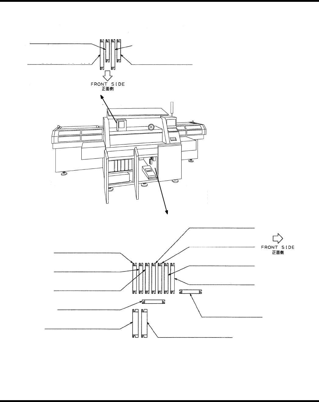
4.1.5 光学模块
光学模块
(116)
回路
3
地址
8. 9
光学模块
(016)
回路
2
地址
0. 1
光学模块
(116)
回路
2
地址
A. B
光学模块
(116)
回路
2
地址
8. 9
光学模块
(08)
回路
3
地址
. 4
光学模块
(08)
回路
2
地址
. 2
光学模块
(AC OUT)
回路
3
地址
. 2
光学模块
(AC OUT)
回路
3
地址
. 3
光学模块
(116)
回路
3
地址
A. B
光学模块
(116)
回路
3
地址
C. D
光学模块
(116)
回路
1
地址
C. D
光学模块
(18)
回路
1
地址
.E
光学模块
(08)
回路
1
地址
.D
光学模块
(016)
回路
1
地址
.1. 2
光学模块
(016)
回路
2
地址
0. 1
D76MCC-14-020-BO 4.1-13