NXT 机械手册 QD029-29.pdf - 第111页

5. 基本操作 QD029-09 94 NXT 机械手册 5.3 侧盖板拆除 / 安装 为了安全起见, 在机器的两个侧面安装有侧盖板。 请仅仅对在基座上左右端所配置的 模组安 装侧盖板。 · 侧盖板的安装 / 卸下操作, 模组处于基座上、 MCU 上的任何一个地方都可以进行 。 · 在基座上进行侧盖板的安装 / 卸下时,有必要将模组处于稍微拉 出一些的状态。 因为安装盖板的螺丝和安全开关 插座相重合。 5.3.1 拆除方法 1. 在基座…

100%1 / 424
QD029-09 5. 基本操作
NXT 机械手册 93
(5) 将模组插入到基座上
a. 按下操作面板的 「POWER」按钮,使模组处于 START 等待状态
b. M3(S) 时候,在插入模组前,请确认 XS 轴等机械部分是否从模组凸出来。在凸
出时,请将其退让到模组内。
备注 ) XY 机械手后侧并列有 3 个传感器,请将 XS 轴移动到其中2个传感器 ( 中央和另 1 个传感器 )
同时处于 ON 位置为止。
c. 请握住模组的手柄,慢慢地推入模组,使其插入到碰到为止。
d. 模组自动地拉入并被锁定。不能自动地被锁定时请将模组稍微拉回后一些。重新压
入。
备注 ) 如果显示出错误编码,请参考附加软件中关于错误的说明。
(6) 降下 MCU 的脚轮 ( 仅仅在以步骤 (2) 进行水平调整的时候 )
a. 旋转 MCU 的手柄,降低后脚轮 ( 提升升降器 )。
b. 同样,也降低前脚轮。
(7) 将空的 MCU 从基座上卸下。
a. 旋转 MCU 的旋钮与 「LOCK」位置相吻合
b. 握住 MCU 的放松把手,脱开 MCU 和基座的连接。
备注 ) MCU 的旋钮不处于 「LOCK」的位置时,不能操作放松把手。
c. 慢慢地将 MCU 从基座拉开。
警告
·在将模组插入基座时,请确认模组后侧是否有人。在模组和基座之间的
缝隙中夹入身体、手指后有可能导致受伤。
·在拉出 / 插入模组时,请不要把手指放入相邻的模组之间。有可能手指
夹入模组之间而被切断。
5. 基本操作 QD029-09
94 NXT 机械手册
5.3 侧盖板拆除 / 安装
为了安全起见,在机器的两个侧面安装有侧盖板。请仅仅对在基座上左右端所配置的模组安
装侧盖板。
·侧盖板的安装 / 卸下操作,模组处于基座上、MCU 上的任何一个地方都可以进行
·在基座上进行侧盖板的安装 / 卸下时,有必要将模组处于稍微拉出一些的状态。
因为安装盖板的螺丝和安全开关插座相重合。
5.3.1 拆除方法
1. 在基座上卸下侧盖板时,请将模组稍微拉出一些。
2. 使用螺丝刀,将侧盖板下部的螺丝 (3 ) 拆除。
注意 ) 不能拆除侧盖板上的安全开关插头。
3. 一边支撑盖板使其不要落下,一边用六角板手将六角螺栓 (4根)拆
4. 将侧盖板从模组上卸下。
5.3.2 安装方法
1. 在基座上安装侧盖板的时,请将模组稍微拉出一些。
2. 将侧盖板盖在模组侧面,一边支撑盖板使其不要落下,一边用六角板手将六角螺栓将其
(4 ) 暂时固定。
3. 使用螺丝刀,将盖罩下面的螺丝 (3 ) 拧紧。
4. 将六角螺栓 (4 ) 紧固。
5. 插入模组,请确认侧盖板和基座上的安全开关的连接确实无误。
QD029-09 5. 基本操作
NXT 机械手册 95
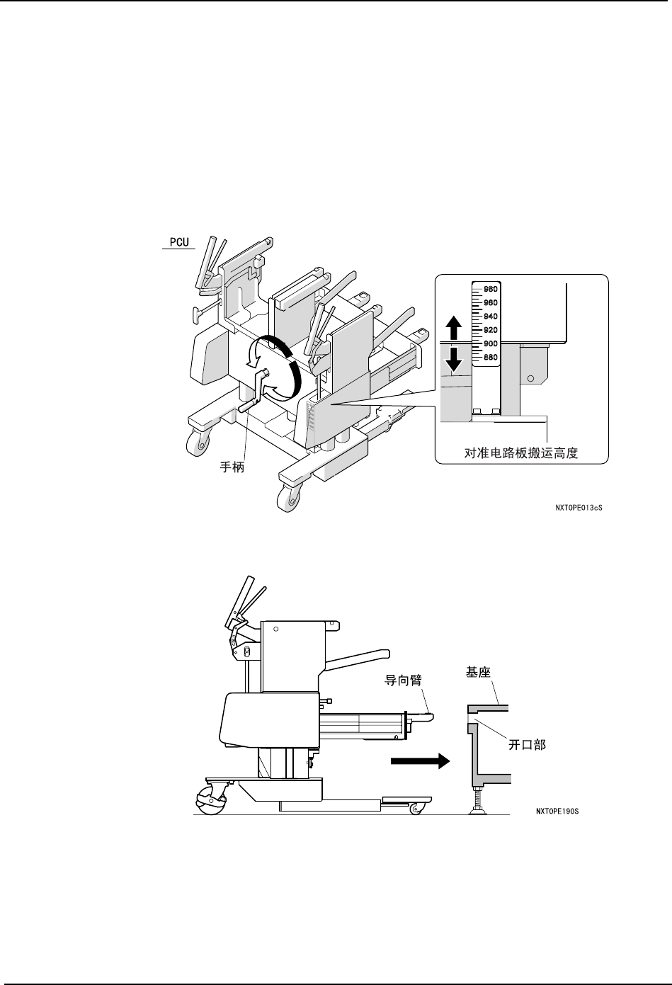
5.4 供料托架的拆除 / 安装
这个操作使用 PCU( 托架更换台车 )。
可以将装载有料带供料器的供料托架与别的装载有料带供料器的托架进行一次性更换。
备注 ) 以下说明 M6(S) 模组的操作,拆除 / 安装的步骤在 M3(S) 模组的时候也同样如此。
5.4.1 拆除方法
1. 请将模组的操作画面变成 START 等待状态。
2. 准备 PCU。旋转手柄使 PCU 上下移动,请确认刻度使之对准机器的电路板搬运高度。
3. 请将 PCU 靠近基座的前面。慢慢推 PCU,将导向臂插入基座的开口部。 PCU 被正确插
入时,导向臂就会自动被夹紧。
备注 ) 根据地面的情况,有时导向臂与开口部的高度部会不一致。因此,在插入时一边目视导向臂的
高度一边推入 PCU。当高度不一致时,请旋转手柄进行微调整后插入。
4. 按下操作面板的 MANUAL 按钮,显示手动指令。
5. 请使用光标键选择更换单元示意图并按下 OK 按钮。显示更换选项画面。
6. 选择更换托架示意图并按下 OK 按钮,夹紧料站托架。