NXT 机械手册 QD029-29.pdf - 第201页
6. 预防保养 QD029-09 184 NXT 机械手册 6.4.5 模组内部的清扫 1. 拉出模组。 2. 使用吸尘器吸取机器内部散乱的垃圾和 杂物。 3. 使用干布干净地擦去附着在指定加油处 以外的润滑油。 注意 用手动移动 XY 机械手时,请不要抓住工作头主体或者 工作头的手柄。 在 M6S 模组的线性马达附近使用工具的时候,请注 意因磁力而产生的吸力 作用。有时会因磁力产生破 损、故障。 在 M6S 模组的线性马达附近,请不要…

QD029-09 6. 预防保养
NXT 机械手册 183
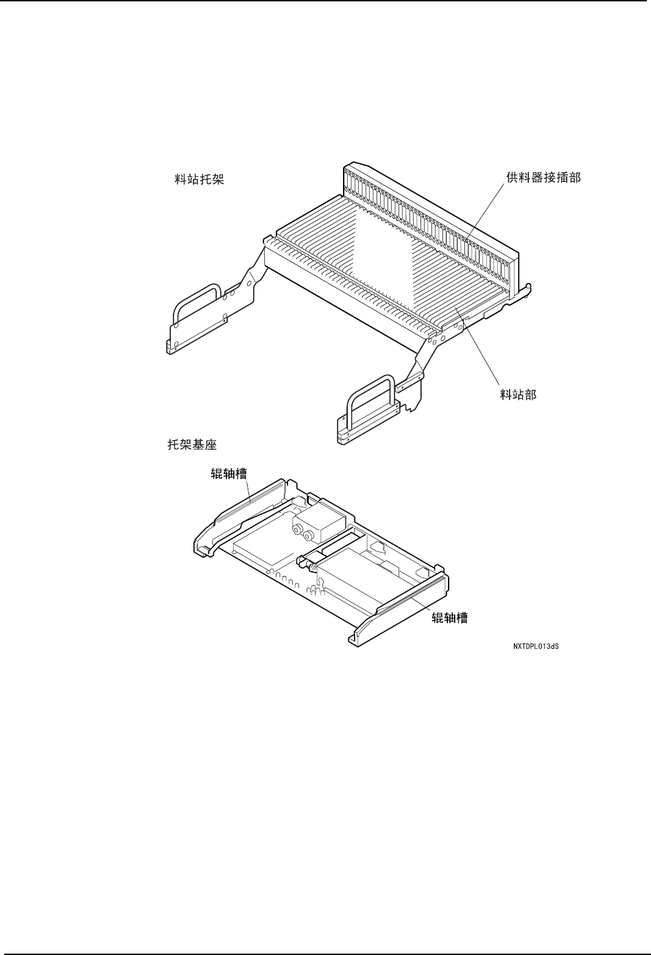
6.4.4 料站托架的清扫
1. 取出料站托架。( 详细请参考 「5.4 料站托架的拆除 / 安装」)
2. 使用吸尘器吸取残留在料槽部及供料器接插部的垃圾和灰尘。必要时请用刷子仔细清
扫。
3. 在安装料站托架前,请吸取附在料站基座的辊轴槽内的垃圾和灰尘。

6. 预防保养 QD029-09
184 NXT 机械手册
6.4.5 模组内部的清扫
1. 拉出模组。
2. 使用吸尘器吸取机器内部散乱的垃圾和杂物。
3. 使用干布干净地擦去附着在指定加油处以外的润滑油。
注意
用手动移动 XY 机械手时,请不要抓住工作头主体或者工作头的手柄。
在 M6S 模组的线性马达附近使用工具的时候,请注意因磁力而产生的吸力
作用。有时会因磁力产生破损、故障。
在 M6S 模组的线性马达附近,请不要将磁卡、手表、精密仪器等靠近。
警告
M6S 模组刚运转后,请不要直接触摸 Y 轴的线性马达部分。有可能因高温
被灼伤。
使用心藏起搏器的用户,请离开 M6S 模组的 Y 轴进行操作。有可能造成心
藏起搏器的误动。

QD029-09 6. 预防保养
NXT 机械手册 185
6.5 每月 (700 小时 ) 的操作
请进行以下的清扫和加油。
6.5.1 不良元件搬运轨道带的清扫
1. 拆除排出不良元件的搬运轨道。( 详细请参考 「8.3 不良元件排出单元的更换」。)
2. 用干净的布干擦传送带的表面。
6.5.2 料盘单元 -L 的清扫
1. 拆除料盘单元 -L。(详细请参考 「5.5 料盘单元 -L 的拆除」。)
2. 用干净的布干擦传送带和往复臂皮带的表面。