NXT 机械手册 QD029-29.pdf - 第255页
6. 预防保养 QD029-09 238 NXT 机械手册 6.10.7 吸嘴真空过滤器的清扫 吸嘴真空异常时 〈关于洗涤用篓〉 吸嘴真空过滤器使用零售的篓操 作时比较方便。放入洗涤用篓的过 滤器个数如下所示。 ·H04,H08,H12(S) 吸嘴用过滤器 : 最大 4 0 个。 · H 0 1吸 嘴 用 过 滤 器:最 大2 0个 。 〈H01 工作头〉 1. 拆下贴装工作头。 (详细请参考 「5.7 贴装工作头的拆除」 。) 2. …

QD029-09 6. 预防保养
NXT 机械手册 237
6.10.6 吸嘴的清扫
使用次数为每 150000 次时
1. 从吸嘴置放台上取下吸嘴。
2. 使用清扫用的通条,除去吸嘴内的污垢。
注意 ) 清扫通条 (AWPJ8100) 不能在直径 0.4 的吸嘴上使用。
3. 吸嘴的前部请使用浸过酒精的布来清扫。
备注 ) 识别吸嘴用的 2D 编码用激光扫描时,由超声波洗涤器可以洗涤吸嘴。洗涤剂清使用有以 athyl
酒精或者 isopropyl 酒精为主要成分的物品。另外,初次洗涤时事前请用1~2个吸嘴做试验。
请确认对吸嘴的喷涂没有障碍。
2D 编码是粘纸的时候请不要使用超声波洗涤器。

6. 预防保养 QD029-09
238 NXT 机械手册
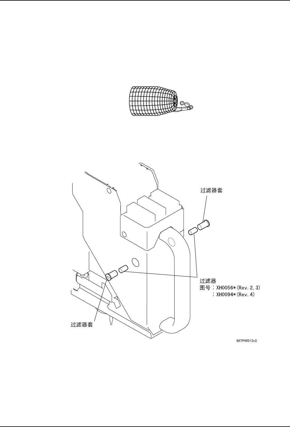
6.10.7 吸嘴真空过滤器的清扫
吸嘴真空异常时
〈关于洗涤用篓〉
吸嘴真空过滤器使用零售的篓操作时比较方便。放入洗涤用篓的过滤器个数如下所示。
·H04,H08,H12(S) 吸嘴用过滤器 : 最大 40 个。
·H01吸嘴用过滤器:最大20个。
〈H01 工作头〉
1. 拆下贴装工作头。(详细请参考 「5.7 贴装工作头的拆除」。)
2. 使用一字型螺丝刀,松开过滤器套并卸下过滤器。
3. 将过滤器盖罩浸在中性洗涤剂溶液中进行洗净。污垢严重时,请更换新的部件。
备注 ) 将收存在过滤器套中的过滤器放入用于洗涤的选项盒中 (K1325B)。请在中性洗涤剂中浸泡 5
分钟后用超声波洗涤器洗涤。
NXTPHD028

QD029-09 6. 预防保养
NXT 机械手册 239
〈H04 工作头〉
1. 拆下贴装工作头。(详细请参考 「5.7 贴装工作头的拆除 / 安装」。)
2. 旋转过滤器罩环,拆下过滤器套和过滤器。
3. 将过滤器罩环浸在中性洗涤剂溶液中进行洗涤。污垢严重时,请更换新的部品。
备注 ) 将收存在过滤器套中的过滤器放入用于洗涤的选项盒中 (K1325B)。请在中性洗涤剂中浸泡 5
分钟后用超声波洗涤器洗涤。
〈H08/H12(S) 工作头〉
1. 拆下贴装工作头。(详细请参考 「5.7 贴装工作头的拆除 / 安装」。)
2. 旋转过滤器罩环,卸下过滤器套和过滤器。
3. 将过滤器套和过滤器浸在中性洗涤剂溶液中进行洗净。污垢严重时,请与新品更换。
备注 ) 将收存在过滤器套中的过滤器放入用于洗涤的选项盒中 (K1325B)。请在中性洗涤剂中浸泡 5
分钟后用超声波洗涤器洗涤。