NXT 机械手册 QD029-29.pdf - 第331页
8. 部件的更换 QD029-09 314 NXT 机械手册 5. 拆下灯具单元的连接线插座。 6. 拧松螺栓 (4 根 ),拆下灯具单元。

QD029-09 8. 部件的更换
NXT 机械手册 313
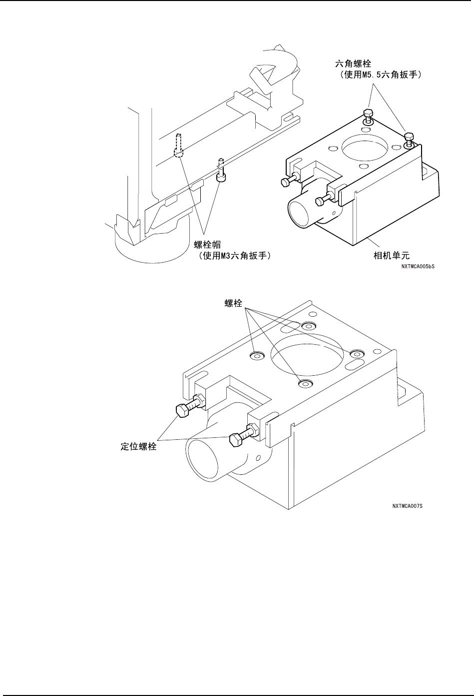
4. 拧松螺栓 (2 根 ) 帽和六角螺栓 (2 根 )、将相机向后方滑出并取下。
注意 ) 请绝对不要松动相机单元的螺栓和定位栓。

8. 部件的更换 QD029-09
314 NXT 机械手册
5. 拆下灯具单元的连接线插座。
6. 拧松螺栓 (4 根 ),拆下灯具单元。

QD029-09 8. 部件的更换
NXT 机械手册 315
7. 按照与拆下时相反的顺序安装新的单元。
注意 ) 请在相机单元的前端装有的定位栓碰到灯具单元为止,向前滑动后固定相机单元。
8. 插入模组。