NXT 机械手册 QD029-29.pdf - 第251页

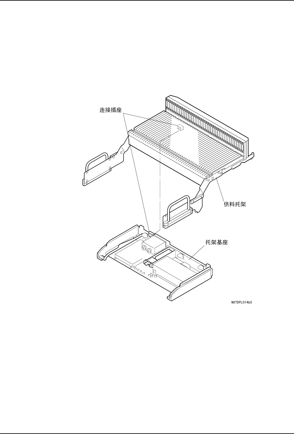
6. 预防保养 QD029-09 234 NXT 机械手册 6.10 不定期操作 6.10.1 料站基座与供料托架间接插件的清扫 托架夹紧发生异常时 如果出现警告,请进行以下的清 扫。 1. 拆下料站托架。( 详细请参考 「5.4 供料托架的拆除 / 安装」) 2. 用吸尘器吸取残留在连接插座 ( 料站托架侧与基座两侧 ) 的垃圾及灰尘。

100%1 / 424
QD029-09 6. 预防保养
NXT 机械手册 233
〈TY 轴皮带张力〉( 驱动部分 )
1. 请测定皮带的张力。确认皮带中央的测定值是 363.0 ± 20.0Hz。
2. 测定值超过上述的范围时请调整皮带张力
请拧松马达的固定螺栓后旋转调整螺栓进行调整。
㶎ᷧ
䇗ᭈ㶎ᷧ
1;70786
6. 预防保养 QD029-09
234 NXT 机械手册
6.10 不定期操作
6.10.1 料站基座与供料托架间接插件的清扫
托架夹紧发生异常时
如果出现警告,请进行以下的清扫。
1. 拆下料站托架。( 详细请参考 「5.4 供料托架的拆除 / 安装」)
2. 用吸尘器吸取残留在连接插座 ( 料站托架侧与基座两侧 ) 的垃圾及灰尘。
QD029-09 6. 预防保养
NXT 机械手册 235
6.10.2 废料带处理切刀的清扫
切刀动作不良时的操作
如果出现警告,请进行以下的清扫。
1. 拆下废料带处理单元。( 详细请参考 「8.4 废料带处理单元的更换」)
2. 用压缩空气从输送槽向废料带切刀吹气,除去残存的废料带及元件。
6.10.3 废料带处理输送槽的清扫
发生供料器的送料不良时的操作
请进行以下的清扫。
1. 拆下废料带处理单元。( 详细请参考 「8.4 废料带处理单元的更换」)
2. 使用压缩空气吹去附在输送槽内的残存废料带及元件。
警告
不能将手指等放入废料带处理单元的开口部分。存在受伤的危险
警告
不能将手指等放入废料带处理单元的开口部分。存在受伤的危险