KE-2050R-2055R-2060R维修调整要领书.pdf - 第265页
Rev.1.00 维修调整要领书 15-4 15-3. 原点 SW. 配件的安装 前面基准 ※〔 〕 内是 L 尺寸用零件 。 ※ AWC OP 配件安装后轨带宽度从最大 ←→ 最小移动,请确认不能与空气软管等相碰 。 セムス cap SL6030692TN × 2 E2156725000 AWC OPドグ (M/L) E2161725000 ドグ () E4801729000 AWCセ ンサ ブラ ケット B E4805729000 …

Rev.1.00
维修调整要领书
15-3
15-2-2.AWC支架的安装
L尺寸
※ 里面基准,从贴片机的正面看,基板传送装置搬送装置前后变换的形式进行安装,安装位置如下如所
示。
※
※调整同步皮带的张力时,左右移动马达的安装位置,用
1.67N 的力量按下皮带中央部 A 时,皮带的松驰量B为
M尺寸规格=1.63mm、L尺寸规格=1.76mm。
スクリューシャフト
レールスタンドRR
L
(取付け後適度な張力が掛っている
ことを確認して下さい。)
ベースバーR
AWCブラケット組
E2160725000
AWCベルト(E)
∗ (スクリューシャフトの端面と合せ
て取り付けて下さい)
E2154725000
AWCプーリ(B)
止めねじ
SM8040602TP × 2
止めねじ
SM8040402TP × 2
セムス cap
SL6051492TN × 2
右
前
後 左
后 固定螺丝
固定螺丝
轨道支架RR
AWC皮 带 轮 (B)
螺旋轴
螺丝组
AWC支 架 组
底座条R
(安装后请确认张力是否适度)
AWC皮 带 (E)
*(调整螺旋轴的端面进行安装)
图15-2-2-1
L
图15-2-2-2
图15-2-2-3

Rev.1.00
维修调整要领书
15-4
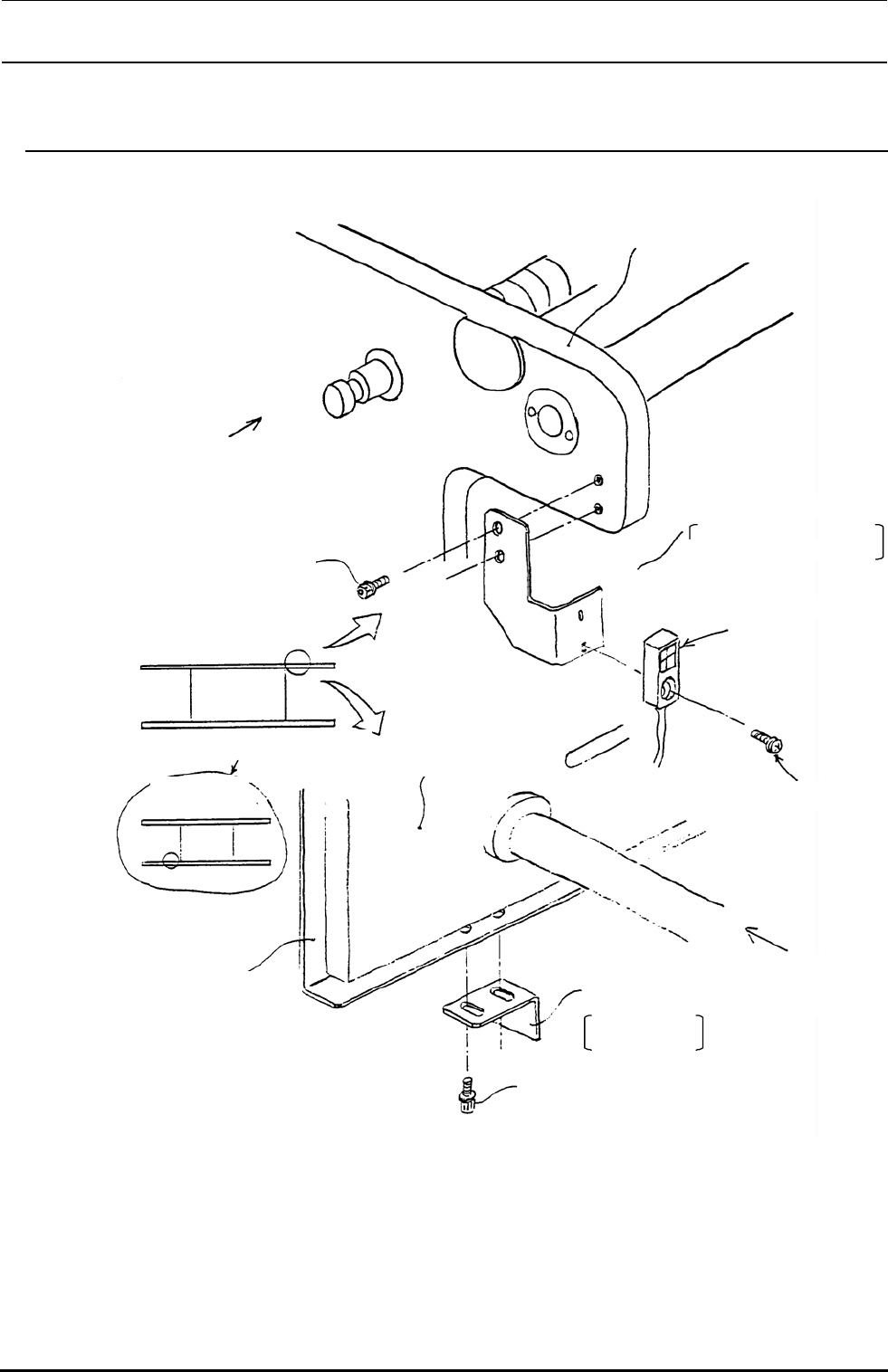
15-3.原点SW.配件的安装
前面基准 ※〔 〕内是L尺寸用零件。
※ AWC OP配件安装后轨带宽度从最大←→最小移动,请确认不能与空气软管等相碰。
セムス cap
SL6030692TN × 2
E2156725000
AWC OPドグ
(M/L)
E2161725000
ドグ
()
E4801729000
AWCセンサブラケットB
E4805729000
AWCセンサブラケットB(E)
サポートプレートS
機械手前から見て
Rail plate RR
奥基準M、L
手前基準 M、L
センナ付属ねじ
40002120
自動幅調センサ組
レールスタンドRR
セムスcapt
SL6031092TN ×
機械後ろから見る
轨道支架RR
从机器后部看
螺丝组
前侧基准M,L
里侧基准M,L
支架率S
从机器前侧看
螺丝组
传感器附属螺丝
自动宽度调整传感器组
AWC OP配 件
AWC传感器支架B
AWC传感器支架B(E)
图15-3-1

Rev.1.00
维修调整要领书
15-5
15-4.B/U销检测传感器
15-4-1.B/U销检测传感器的安装
货号 品名
① 40001100 SENSOR BRACKET A(AWC)
② SL6031092TN SCREW
③ 40002237 BU PIN SENS ASM
④ 40002239 BU PIN RECEIVE SENS ASM
⑤ SL6031092TN SCREW
⑥ HX003140000 SPILAL_TUBE
⑦ EA9500B0100 CABLE CLAMP
②
①
②
①
⑤
⑤
④
③
⑥
⑥
C
D
AB