KE-2050R-2055R-2060R维修调整要领书.pdf - 第66页
Rev1.00 维修调整要领书 Z 传感配件 IC A <程序> ① 测定Z传感器和Z传感器配件IC的间 隙。 上下移动Z传感器配件, 确认上下 均在0. 9±0. 2mm的范围中。 (A 尺寸) Z 传感器 ② 如果在规格外时, 请拧松Z传感器座的安 装螺丝, 调整Z传感器的位置。 另外, 上 下移动IC θ马达, 如果间隙量变化时, 请拧松安装螺丝调整 Z 传感器配件的方 向。 2−15

Rev1.00
维修调整要领书
2-3-2.FMLA 贴装头
1) 按照2-1-2项的1)2)4)7)卸下周
边的零件。
2) 卸下Z传感器座 IC 的安装螺丝(2个),
从下侧卸下Z传杆器座 IC。
图2−3−4
⑲
3) 剪断束线带,更换 Z 传感器。
4) 安装时请按照相反的顺序进行。
5) 请按照以下的程序进行确认和调整。
图2−3−5
图2−3−6
2−14

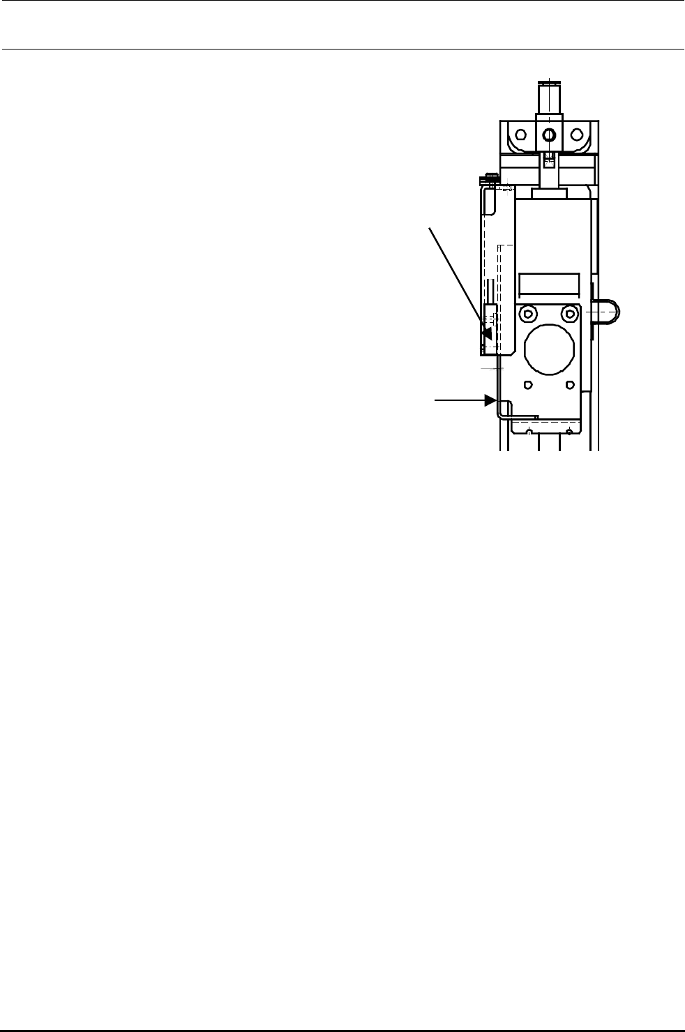
Rev1.00
维修调整要领书
Z传感配件IC
A
<程序>
① 测定Z传感器和Z传感器配件IC的间
隙。 上下移动Z传感器配件,确认上下
均在0.9±0.2mm的范围中。(A
尺寸)
Z传感器
② 如果在规格外时,请拧松Z传感器座的安
装螺丝,调整Z传感器的位置。另外,上
下移动IC θ马达,如果间隙量变化时,
请拧松安装螺丝调整 Z 传感器配件的方
向。
2−15

Rev1.00
维修调整要领书
2-4.激光传感器的更换
2-4-1.MNLA的更换
更换了MNLA之后,需要重新输入机关的MS参数。
(请参照2-9项。)
更换后,请用清洁的棉纱清扫MNLA的激光窗口。
1)卸下插头,取下安装螺丝(3处)。
2)安装时请按照相反的顺序进行。
※在传感器安装螺丝(3个)上涂上锁定漆242后,用转矩5.1 Nm 进行固定。
※安装传感器时,把传感器销插入支架的定位孔,定位后进行固定。
※安装的传感器下面,用脱脂纸擦传感器下面后,安装好。
⑳
图2−4−1
2−16