KE-2050R-2055R-2060R维修调整要领书.pdf - 第64页
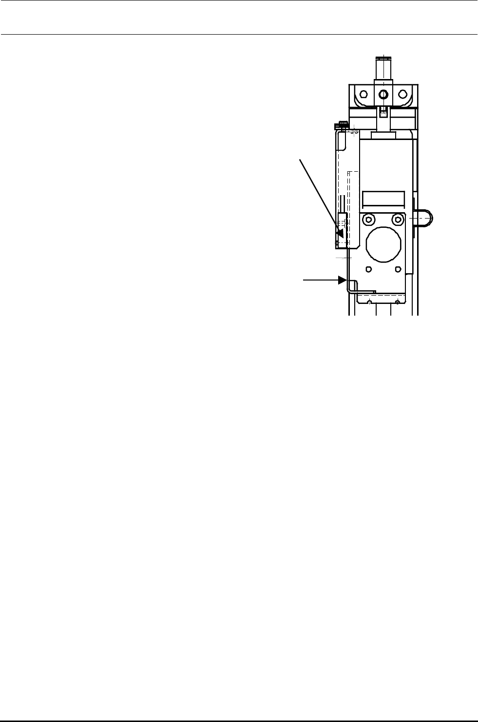
Rev1.00 维修调整要领书 2-3. Z传感器的更换 更换了Z传感器后,进行原点复位确认动作是否正常。 ⑱ 2-3-1. MNLA贴装头 1) 按照2-1-2项的1) 2)4)7)卸下周边零件。 2) 卸下Z传感器座的安装螺 丝 (2个) , 从下侧下下Z 传感器座。 3) 剪断束线带,更换 Z 传感 器。 4) 安装时按照相反的顺序进 行。 5) 按照以下的程序进行确认 和调整。 <程序> ① 测定Z传感器和Z传感器配件的间隙。…

Rev1.00
维修调整要领书
Z传感器配件
A
<程序>
① 测定Z传感器和Z传感器配件IC的
间隙。 上下移动Z传感器配件,确认上
下的间隙均为0.9±0.2mm的范围。
(A尺寸)
Z传感器
② 如果在规格外时,请拧松Z传感器座的安
装螺丝,调整Z传感器的位置。另外,上
下移动IC θ马达,间隙量变化时,请
拧松Z传感器配件的方向,进行调整。
③ 在ICZ马达和贴装头SPIC不相碰
的状态下,ICθ马达应靠自重下落。
※用手关闭半总成之后,用扳手转动 1/6 圈。
※在ICθ马达安装螺丝(4个)上涂上锁定漆242后,用转矩1.3 Nm 拧紧固定。此时,
请让马达基准面和后导向器基准面没有间隙。
※在球螺丝的安装螺丝(4 个)上涂上锁定漆242后,用转矩3.7 Nm 拧紧固定。
※请按照2-1-2项进行贴装头的安装。
2−12

Rev1.00
维修调整要领书
2-3.Z传感器的更换
更换了Z传感器后,进行原点复位确认动作是否正常。
⑱
2-3-1.MNLA贴装头
1) 按照2-1-2项的1)
2)4)7)卸下周边零件。
2) 卸下Z传感器座的安装螺
丝(2个),从下侧下下Z
传感器座。
3) 剪断束线带,更换 Z 传感
器。
4) 安装时按照相反的顺序进
行。
5) 按照以下的程序进行确认
和调整。
<程序>
① 测定Z传感器和Z传感器配件的间隙。(图A尺寸)
上下移动Z传感器配件,确认上下均在0.9±0.2mm的范围中。
② 如果在规格外时,Z请拧送传感器座的安装螺丝,调整
Z传感器的位置。
图2-3-1
图2−3−2
图2−3−3
2−13

Rev1.00
维修调整要领书
2-3-2.FMLA 贴装头
1) 按照2-1-2项的1)2)4)7)卸下周
边的零件。
2) 卸下Z传感器座 IC 的安装螺丝(2个),
从下侧卸下Z传杆器座 IC。
图2−3−4
⑲
3) 剪断束线带,更换 Z 传感器。
4) 安装时请按照相反的顺序进行。
5) 请按照以下的程序进行确认和调整。
图2−3−5
图2−3−6
2−14