KE-2050R-2055R-2060R维修调整要领书.pdf - 第268页
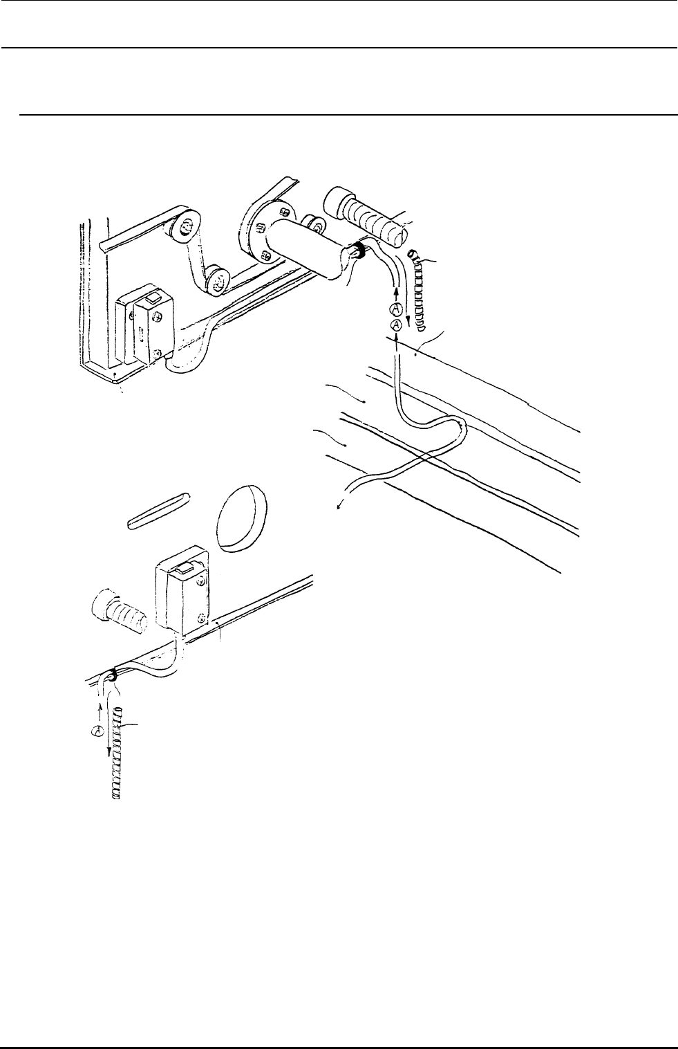
Rev.1.00 维修调整要领书 15-7 15-5. B/U 销检测传感器的束线 15-5-1. B/U 销检测传感器的安装 ( 束线 ) L 尺寸 ☆ 如上述所示,电磁阀的安装位置,束线卷绕方法不同。 束线扎线带固定的位置,把 HX003140000 卷绕软管按 0.5M 卷绕。 ( 把轨道宽度从大 ←→ 最小移动,请确认是否没有问题。) 图 15-5-1-1 HX003140000 スパイラルチューブ 0.5 m レールプレートR…

Rev.1.00
维修调整要领书
15-6
<程序>
1)把① 感器支架
传
A用②固定螺丝固定到可动侧轨道的左右位置。
2)用⑤固定螺丝,把③BU 感器投光
销检测传
,④BU 感器受光
销检测传
固定到① 感器 助支架A的「コ」
传辅
字形之
间
。打开电源后调整传感器,让两个传感器光轴一致。
BU 感器安装到
销检测传
可动侧的轨道上。
前侧基准和里侧基准的机器,从正面看安装位置不同。
M、L
M、L
投光受光
投光
受光
手前基準 奥基準
图15-4-1-2

Rev.1.00
维修调整要领书
15-7
15-5.B/U销检测传感器的束线
15-5-1. B/U销检测传感器的安装(束线)
L尺寸
☆ 如上述所示,电磁阀的安装位置,束线卷绕方法不同。
束线扎线带固定的位置,把HX003140000卷绕软管按0.5M卷绕。
(把轨道宽度从大←→最小移动,请确认是否没有问题。)
图15-5-1-1
HX003140000
スパイラルチューブ
0.5 m
レールプレートRL
レールプレートRL側
レールプレートRR側
HX003140000
スパイラルチ
ューブ
0.5 m
レールプレートRR
∗
下に電磁弁が無い場合の束線引
き回し
∗
下に電磁弁が有る場合の束線引き回し。
∗
AWC OPドグ(M/L)
が付いている場合
ドグの止めねじで共
締めして下さい。
∗
下に電磁弁が無い場合の束線引
き回し
∗
下に電磁弁が有る場合の束線引き回し。
EA9500B0100
束線バンド
(SL6030692TN)
HX003440000
固定ベース
∗
AWC OPドグ
(M/L)が付い
ている場合ド
グの止めねじ
で共締めして
下さい。
束線バンド
(SL6030692TN
)
EA9500B0100
束線バンド
HX003440000
固定ベース
EA9500B0100
束線バンド
Rail plate RR
HX003140000
スパイラルチューブ
0.5 m
レールプレートRL
レールプレートRL側
レールプレートRR側
HX003140000
スパイラルチ
ューブ
0.5 m
レールプレートRR
∗
下に電磁弁が無い場合の束線引
き回し
∗
下に電磁弁が有る場合の束線引き回し。
∗
AWC OPドグ(M/L)
が付いている場合
ドグの止めねじで共
締めして下さい。
∗
下に電磁弁が無い場合の束線引
き回し
∗
下に電磁弁が有る場合の束線引き回し。
EA9500B0100
束線バンド
(SL6030692TN)
HX003440000
固定ベース
∗
AWC OPドグ
(M/L)が付い
ている場合ド
グの止めねじ
で共締めして
下さい。
束線バンド
(SL6030692TN
)
EA9500B0100
束線バンド
HX003440000
固定ベース
EA9500B0100
束線バンド
Rail plate RR
轨板RR侧
轨板RR
束线带
螺旋管
下面没有电磁阀时卷取束线
束线带
轨 板 RL侧
轨板RR
束线带
螺旋管
固定座
束线带
下面没有电磁阀时卷取束线
下面有电磁阀时卷取束线
下面有电磁阀时卷取束线
固定座
AWC PO附 件 (M/L)
时请连同附件固
定螺丝一起固
定。
AWC PO附 件
(M/L)时 请 连
同附件固定
螺丝一起固
定。

Rev.1.00
维修调整要领书
15-8
15-5-2.B/U
销
检测传感器的安装(束线)
L尺寸
有电磁阀的一侧,为了防止被挂住,穿过 Y 轴架的下面,从 Y 轴架和底座的间隙向上拉出。
把轨道宽度从最大←→最小移动,把束线卷到不能被电磁阀或轨道架等挂住的位置。
HX003140000
スパイラルチューブ
0.5 m
レールプレート RL
ベースフレーム
Y軸フレーム R/L
レールプレートRR
HX003140000
スパイラルチューブ
0.5 m
束線バンド
(基板へ)
ベースバー
束線バンド
图15-5-2-1
束 分
线别
使用轨板 RR、
板
轨
RL 的孔用束线带固定。
在固定的位置卷绕螺旋软管
HX003140000。
束线带
底座条
轨板 RR
螺旋软管
Y
轴架 R/L
底座
通基板
轨板 RL
束线带
螺旋软管