00198149-02_SM_TX_de.pdf - 第271页
Serviceanleitung SIPLACE TX-Serie 06/2017 11 Schneidgerät 11.8 Kurzhubzylinder tauschen [03038587‑xx] 271 Einbau 1 4 3 2 Abb.371: Gelenk und Näherungsschalter einbauen ► Geben Sie eine geringe Menge Loctite 243 auf das …

11 Schneidgerät
11.8 Kurzhubzylinder tauschen [03038587‑xx]
Serviceanleitung SIPLACE TX-Serie
06/2017
270
11.8 Kurzhubzylinder tauschen [03038587‑xx]
Teile, Hilfsmittel und Werkzeug
●
Kurzhubzylinder 50x40 ECDQ2B50-0040-CEJ00119 [03038587-xx]
●
Loctite 243 [00334892‑xx]
Ausbau
► Schalten Sie die Maschine aus, trennen Sie diese vom Stromversorgungsnetz und sichern
Sie die Maschine gegen Wiedereinschalten. Beachten Sie insbesondere Abschnitt 1.2 "Was
vor Beginn der Arbeiten zu tun ist..." [}16].
► Bauen Sie das Schneidgerät aus der Maschine aus.
Schneidgerät am BE-Einzug tauschen [03066690-xx] [}260]
► Bauen Sie das Gelenk am Kurzhubzylinder(5) aus.
Gelenk am Kurzhubzylinder tauschen [03000518‑xx] [}267]
1
6
5
4
3
2
Abb.370: Kurzhubzylinder ausbauen
► Kennzeichnen Sie mit einem Folienstift die
exakte Montageposition der Näherungsschalter
(1) zum Kurzhubzylinder.
► Entfernen Sie die Befestigungsschrauben der
beiden induktiven Näherungsschalter (1) am
Kurzhubzylinder.
► Entfernen Sie die pneumatischen Anschlüsse (2)
am Kurzhubzylinder. Markieren Sie sich ggf.
deren Position, um sie später wieder eindeutig
zuordnen zu können.
► Entfernen Sie die beiden Befestigungs-
schrauben(3) des Kurzhubzylinders.
► Nehmen Sie den Kurzhubzylinder (4) vom
Schneidgerät ab.

Serviceanleitung SIPLACE TX-Serie
06/2017
11 Schneidgerät
11.8 Kurzhubzylinder tauschen [03038587‑xx]
271
Einbau
1
4
3
2
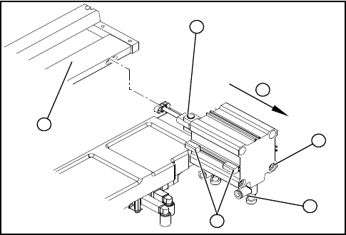
Abb.371: Gelenk und Näherungsschalter einbauen
► Geben Sie eine geringe Menge Loctite 243 auf
das Gewinde (2) des neuen Gelenkes.
► Schrauben Sie das Gelenkstück (1) in den Kurz-
hubzylinder ein.
► Drehen Sie das Gelenk in die Einbauposition(3).
Das Gelenk wird nach Einbau des Zylinders
durch das Langloch im beweglichen Messer
gegen Verdrehung gesichert.
► Übertragen Sie die exakte Montageposition der
Näherungsschalter(4) auf den neuen Kurzhubzy-
linder (z.B. mit Schieblehre und feinem Folien-
stift).
1
3
2
Abb.372: Kurzhubzylinder einbauen
► Montieren Sie die Näherungsschalter (1) exakt in
der mit Folienstift am Kurzhubzylinder gekenn-
zeichneten Position.
► Setzen Sie den so vorbereiteten Zylinder in richti-
ger Drehlage des Gelenkes (2) am Schneidgerät
ein.
► Befestigen Sie den Zylinder in dieser Position mit
den je zwei Befestigungsschrauben(3) (Locti-
te243).
► Schließen Sie die Pneumatikschläuche in der richtigen Zuordnung am Zylinder an.
► Der weitere Einbau erfolgt in umgekehrter Reichenfolge. Beachten Sie dazu folgende
Hinweise:
HINWEIS
Einbauhinweise
► Beachten Sie auch den Abschnitt 11.7 "Gelenk am Kurzhubzylinder tauschen
[03000518‑xx]" [}267].
► Ab SW707.1: Stellen Sie die Drosseln ein (siehe 11.13.1 "Zeiten für die Einstellung der
Drossel am Schneidgerät (ab SW707.1)" [}283]).
Sehen Sie dazu auch...
2 Zeiten für die Einstellung der Drossel am Schneidgerät (ab SW707.1) [}283]
2 Gelenk am Kurzhubzylinder tauschen [03000518‑xx] [}267]
2 Schneidgerät am BE-Einzug tauschen [03066690-xx] [}260]

11 Schneidgerät
11.9 Messersatz tauschen
Serviceanleitung SIPLACE TX-Serie
06/2017
272
11.9 Messersatz tauschen
VORSICHT
Verletzungsgefahr!
An den Messern und am Abstreifer besteht Verletzungsgefahr.
► Tragen Sie feste Schutzhandschuhe!
► Fassen Sie niemals von unten in das Schneidgerät oder von oben in den Leergurtleit-
kanal.
► Stellen Sie sicher, dass sich auch an den ausgebauten, neben der Maschine abgeleg-
ten Messern niemand verletzen kann!
Teile, Hilfsmittel und Werkzeug
HINWEIS
Messer drehen
Das feste und das bewegliche Messer sind beidseitig geschliffen. Bei Verschleiß können
die Messer um 180Grad gedreht montiert werden.
●
Messersatz abgestimmt (Schneidgerät HF) [03009259-xx] (passend für TX-Schneidgerät
pneumatisch [03066690‑xx])
●
2x Messerabdeckung (Schneidgerät HF) [03000553-xx] (Abdeckung für Schrauben
bewegliches Messer)
●
2x Innensechskant-Zylinderschrauben ISO4762-M5x35-12.9, geomet 321+VL [03057290‑xx]
(Schrauben für bewegliches Messer)
●
2x Gelenk (Schneidgerät HF) [03000518-xx]
●
2x DIN71412-BM6 [03036943-xx] (Schmiernippel)
Benötigte Verbrauchsmittel:
●
Schmierfett Klüber BEM 34-132 Dose 1 kg [00374565-xx] (Identisch zu Schmierfett der
Führungswagen am Portal)
●
Interflon Fin Grease [03020782-xx]
●
Loctite 243 [00334892‑xx]
Benötigtes Werkzeug:
●
Feste Arbeitshandschuhe Leder [00091001-xx]
●
Drehmoment-Schraubendreher ESD 1,0-5,0 Nm [03078400‑xx]
●
Drehmomentschlüssel 2,5‑25Nm [00376625‑xx]
●
Bithalter für Schraubendreher TorqueVario [03078706‑xx]
●
Inbus Bit Einsatz Gr. 3-6
●
Gabelschlüssel Gr. 10
●
Fühlerlehre
●
Schablonierpinsel
●
Tuch
●
Zwei große Parallelzwingen und ein stabiler Tisch mit ebener Fläche zum Aufspannen des
ausgebauten Schneidgerätes