00198149-02_SM_TX_de.pdf - 第299页
Serviceanleitung SIPLACE TX-Serie 06/2017 13 Docking-Station für BE-Wagen 13.5 Waagrechtspanner tauschen [03025104‑xx] 299 13.5 Waagrechtspanner tauschen [03025104‑xx] Teile, Hilfsmittel und Werkzeug ● Horizontalspanner …

13 Docking-Station für BE-Wagen
13.4 Kurzhubzylinder der Sperreinheit tauschen [03034831‑xx]
Serviceanleitung SIPLACE TX-Serie
06/2017
298
13.4 Kurzhubzylinder der Sperreinheit tauschen [03034831‑xx]
Teile, Hilfsmittel und Werkzeug
●
Kurzhubzylinder [03034831-xx]
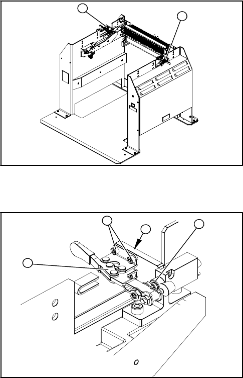
Übersicht
Abb.416: Sperreinheit links und rechts
1. Einbauposition der linken Sperreinheit
2. Einbauposition der rechten Sperreinheit
Ausbau
5
1
4
3
2
Abb.417: Sperreinheit ausbauen
VORSICHT!
Verletzungsgefahr
Es besteht Verletzungsgefahr beim Abziehen
von Pneumatikleitungen die unter Druck stehen.
.
► Schalten Sie die Druckluft ab.
► Stecken Sie die Pneumatikanschlüsse am Kurz-
hubzylinder ab.
► Entfernen Sie die beiden Befestigungs-
schrauben(1) am Kurzhubzylinder(2).
► Ziehen Sie den Kurzhubzylinder (2) mit dem
Sperrschieber(3) nach unten aus dem Führungs-
klotz(5) heraus.
► Schrauben Sie den Sperrschieber (3) von dem
Kurzhubzylinder(2) ab.
Einbau
► Montieren Sie den Sperrschieber (3) auf den neuen Kurzhubzylinder(2).
► Reinigen Sie den Sperrschieber (3) und den Führungsklotz(5) mit einem sauberen fussel-
freien Tuch und fetten beide leicht mit Unisilikon.
► Schieben Sie den Sperrschieber (3) so in den Führungsklotz ein, dass die abgeschrägte
Seite(4) nach vorne (zur Einfahrrichtung) zeigt. Das ist wichtig, damit der BE-Wagen ein-
gefahren werden kann.
► Montieren Sie den Kurzhubzylinder mit den beiden Befestigungsschrauben.
► Stellen Sie die pneumatischen Anschlüsse wieder her.
► Schalten Sie die Druckluft ein und kontrollieren, dass der linke und der rechte Sperrschieber
gleichzeitig ausfahren.
► Stellen Sie ggf. das Drosselventil (6) am Kurzhubzylinder entsprechend ein.

Serviceanleitung SIPLACE TX-Serie
06/2017
13 Docking-Station für BE-Wagen
13.5 Waagrechtspanner tauschen [03025104‑xx]
299
13.5 Waagrechtspanner tauschen [03025104‑xx]
Teile, Hilfsmittel und Werkzeug
●
Horizontalspanner DE-STA-CO 225-U [03025104-xx]
Übersicht
1
2
Abb.418: Verriegelungshebel links und rechts
1. Waagrechtspanner – an der linken Seite
2. Waagrechtspanner – an der rechten Seite
Ausbau
4
3
2
1
Abb.419: Verriegelungshebel ausbauen
1. Waagrechtspanner
2. Vier Befestigungsschrauben
3. Positions-Endschalter
4. Endschalter
► Entfernen Sie die vier Befestigungsschrauben(2)
(jezwei oben und unten) des Waagrecht-
spanners(1).
► Entnehmen Sie den Waagrechtspanner.
Einbau
► Schrauben Sie den neuen Waagrechtspanner locker an.
► Richten Sie den Waagrechtspanner an der Kante(3) aus und ziehen Sie die vier Befesti-
gungsschrauben fest.
► Prüfen Sie, dass der Positions-Endschalter(4) beim Schließen des Waagrechtspanners
betätigt wird. Korrigieren Sie ggf. die Position des Waagrechtspanners.
► Prüfen Sie die Funktion des Positions-Endschalters, indem Sie einen Verriegelungsvorgang
durchführen.

13 Docking-Station für BE-Wagen
13.6 Positions-Endschalter der BE-Wagenverriegelung tauschen
[03033395‑xx]
Serviceanleitung SIPLACE TX-Serie
06/2017
300
13.6 Positions-Endschalter der BE-Wagenverriegelung
tauschen [03033395‑xx]
Teile, Hilfsmittel und Werkzeug
●
Positions-Endschalter [03033395-xx]
Übersicht
1
2
Abb.420: Positions-Endschalter links und rechts
1. Positions-Endschalter an der linken Seite
2. Positions-Endschalter an der rechten Seite
Ausbau
Abb.421: Positions-Endschalter ausbauen
1. Positions-Endschalter komplett mit Anschluss-
kabel
2. Zwei Befestigungsschrauben
3. Anschlusskabel zur Stecker-Einheit
4. Betätigung durch Waagrechtspanner
GEFAHR!
Elektrische Spannung abschalten
Drücken Sie zum Ausschalten den Ein-/Aus-
schalter und ziehen Sie den Netzstecker.
.
► Entfernen Sie die beiden Befestigungsschrauben am Positions-Endschalter.
► Öffnen Sie das Gehäuse des rückseitigen Steckers und kennzeichnen Sie die Anschluss-
belegung.
HINWEIS
Stecker für den linken und rechten Positions-Endschalter
► Die Anschlusskabel für den linken und rechten Positions-Endschalter sind auf einem
gemeinsamen Stecker angeschlossen.
► Klemmen Sie das Anschlusskabel des entsprechenden Positions-Endschalters im Stecker ab.
► Fädeln Sie das Anschlusskabel aus und entfernen Sie den Positions-Endschalter.