00198149-02_SM_TX_de.pdf - 第94页
6 Portale 6.2 X- und Y-Achse Serviceanleitung SIPLACE TX-Serie 06/2017 94 6.2.9 Aufsatz Kopfaufhängung tauschen [03124850-xx] Teile, Hilfsmittel und Werkzeug ● Aufsatz komplett Kopfaufhängung [03124850-xx] Ausbau ► Schal…

Serviceanleitung SIPLACE TX-Serie
06/2017
6 Portale
6.2 X- und Y-Achse
93
Abb.102: Bedienung Prüfgerät PG1-I - 3
6.2.6 Puffer der Y-Achse tauschen
HINWEIS
SIPLACE-Service
Diese Tätigkeit darf nur durch den SIPLACE-Service ausgeführt werden.
6.2.7 X-Maßstab tauschen
HINWEIS
SIPLACE-Service
Diese Tätigkeit darf nur durch den SIPLACE-Service ausgeführt werden.
6.2.8 Y-Maßstab tauschen
HINWEIS
SIPLACE-Service
Diese Tätigkeit darf nur durch den SIPLACE-Service ausgeführt werden.

6 Portale
6.2 X- und Y-Achse
Serviceanleitung SIPLACE TX-Serie
06/2017
94
6.2.9 Aufsatz Kopfaufhängung tauschen [03124850-xx]
Teile, Hilfsmittel und Werkzeug
●
Aufsatz komplett Kopfaufhängung [03124850-xx]
Ausbau
► Schalten Sie die Maschine aus, trennen Sie diese vom Stromversorgungsnetz und sichern
Sie die Maschine gegen Wiedereinschalten. Beachten Sie insbesondere Abschnitt 1.2 "Was
vor Beginn der Arbeiten zu tun ist..." [}16].
► Bauen Sie den Bestückkopf aus.
SIPLACE C&P20 P/M2-Kopf tauschen [}208]
SIPLACE CPP/M-Kopf tauschen [}212]
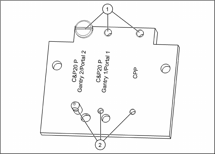
Abb.103: Kopfaufhängung
► Entfernen Sie die beiden Befestigungs-
schrauben(1) an der Kopfaufhängung(2).
► Nehmen Sie die Kopfaufhängung vorsichtig ab.

Serviceanleitung SIPLACE TX-Serie
06/2017
6 Portale
6.2 X- und Y-Achse
95
Einbau
► Verfahren Sie für den Einbau in umgekehrter Reihenfolge. Beachten Sie dabei außerdem fol-
gende Hinweise:
Abb.104: Kopfaufhängung einstellen
► Positionieren Sie die Schrauben(1) und (2) entsprechend dem Kopf und dem Portal.
Sehen Sie dazu auch...
2 SIPLACE C&P20 P/M2-Kopf tauschen [}208]
2 SIPLACE CPP/M-Kopf tauschen [}212]