NXT机械手册.pdf - 第101页
4. 传感器配置图 QD145-11 78 NXT II 机械手册 4.14.2 料盘塔 No. 地址 信号名 1 IN1F 下部料盘箱锁定确认 2 IN1E 上部料盘箱锁定确认 3 IN1C 上部料盘箱设置确认 4 IN1D 下部料盘箱锁定确认 5 IN22 上部料盘箱料盘高度确认 (左) 6 IN23 上部料盘箱料盘高度确认 (右) 7 IN24 下部料盘箱料盘高度确认 (左) 8 IN25 下部料盘箱料盘高度确认 (右) 9 IN…

QD145-11 4. 传感器配置图
NXT II 机械手册 77
4.14 料盘单元 -LT 传感器
4.14.1 安全门
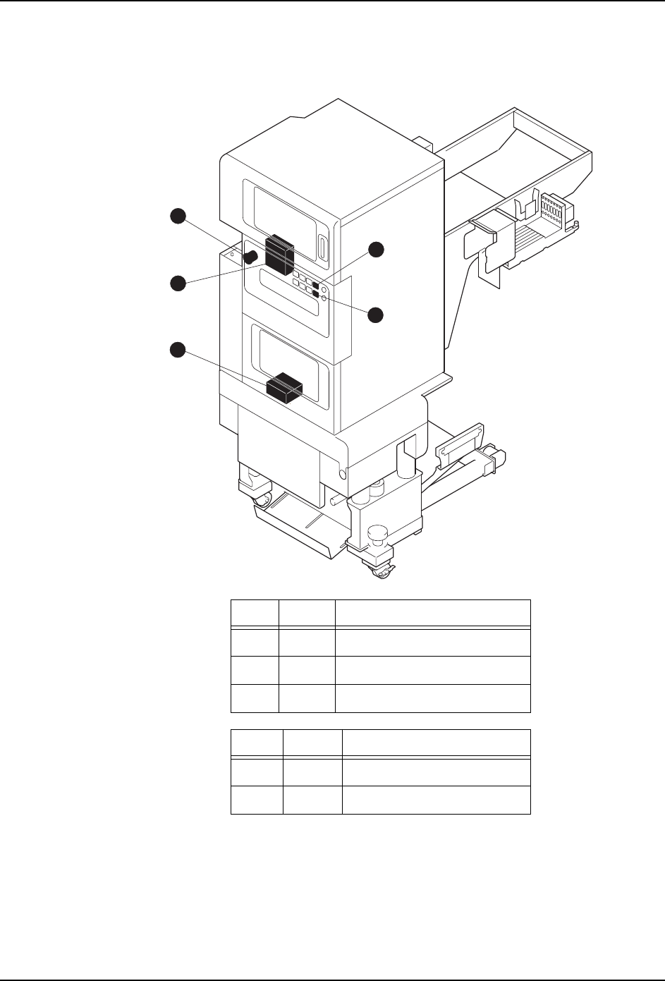
No. 地址 信号名
1 IN00 紧急停止 SW
2 IN06 上部料盘箱安全门关闭确认
3 IN07 下部料盘箱安全门关闭确认
No. 地址 信号名
4 X206 上部料盘箱结束 PB 输入
5 X209 下部料盘箱结束 PB 输入
01MEC-0222a
2
1
3
4
5
Tray unit-LT

4. 传感器配置图 QD145-11
78 NXT II 机械手册
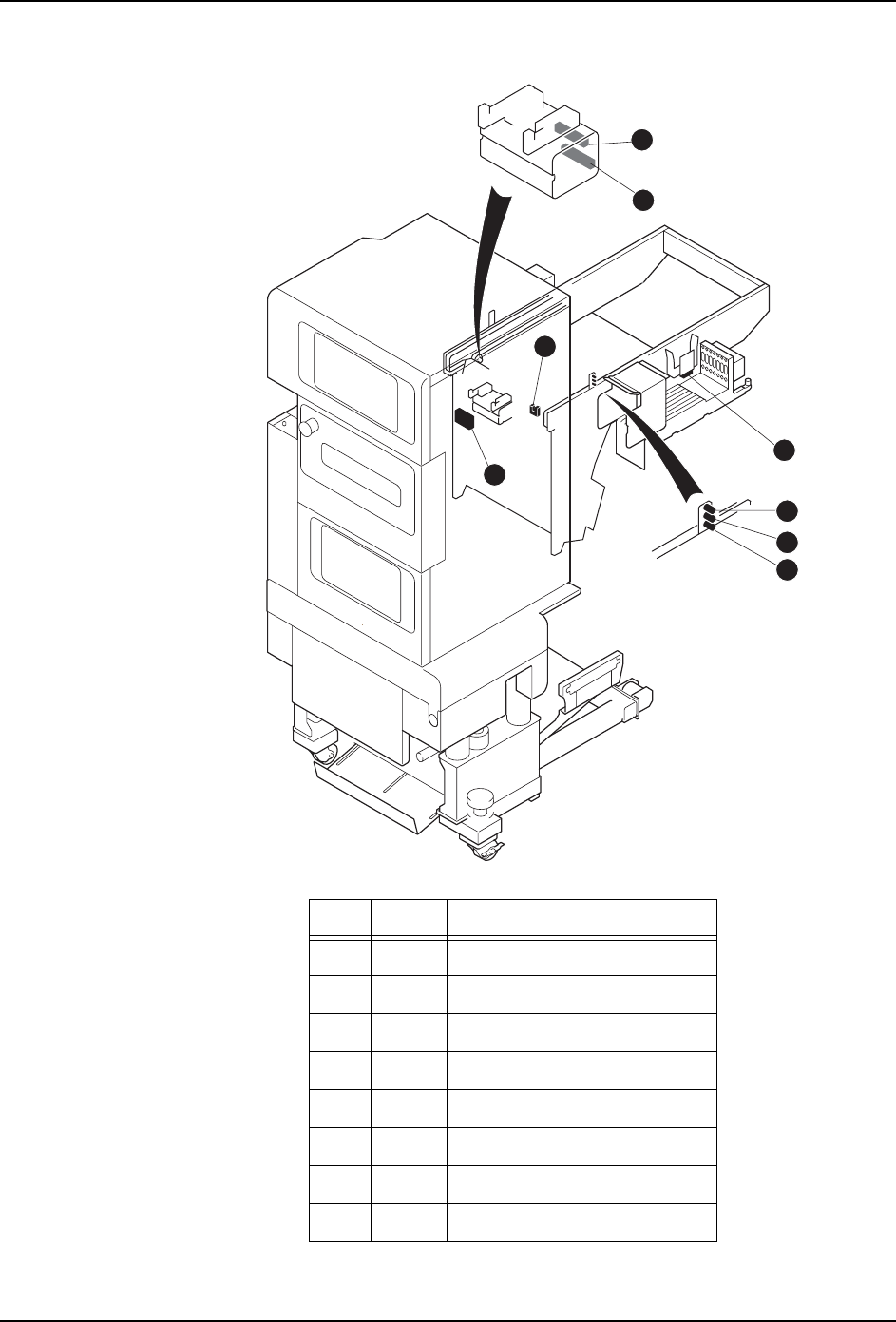
4.14.2 料盘塔
No. 地址 信号名
1 IN1F 下部料盘箱锁定确认
2 IN1E 上部料盘箱锁定确认
3 IN1C 上部料盘箱设置确认
4 IN1D 下部料盘箱锁定确认
5 IN22 上部料盘箱料盘高度确认 (左)
6 IN23 上部料盘箱料盘高度确认 (右)
7 IN24 下部料盘箱料盘高度确认 (左)
8 IN25 下部料盘箱料盘高度确认 (右)
9 IN21 托架收存确认
10 IN20 料盘箱干涉确认
01MEC-0223
1
2
Tray unit-LT
5
6
7
8
9
9
9
3
4
10

QD145-11 4. 传感器配置图
NXT II 机械手册 79
4.14.3 往复臂
No. 地址 信号名
1 OUT20 往复臂开关夹紧
2 IN10 往复臂后退端
3 IN12 往复臂打开确认
4 IN11 往复臂夹紧确认
5 IN2E 元件废弃箱落座确认
6 IN13 往复臂料盘高度监视 (下)
6 IN14 往复臂料盘高度监视 (中)
7 IN15 往复臂料盘高度监视 (上)
01MEC-0224a
1
2
6
7
8
3
4
5
Tray unit-LT